
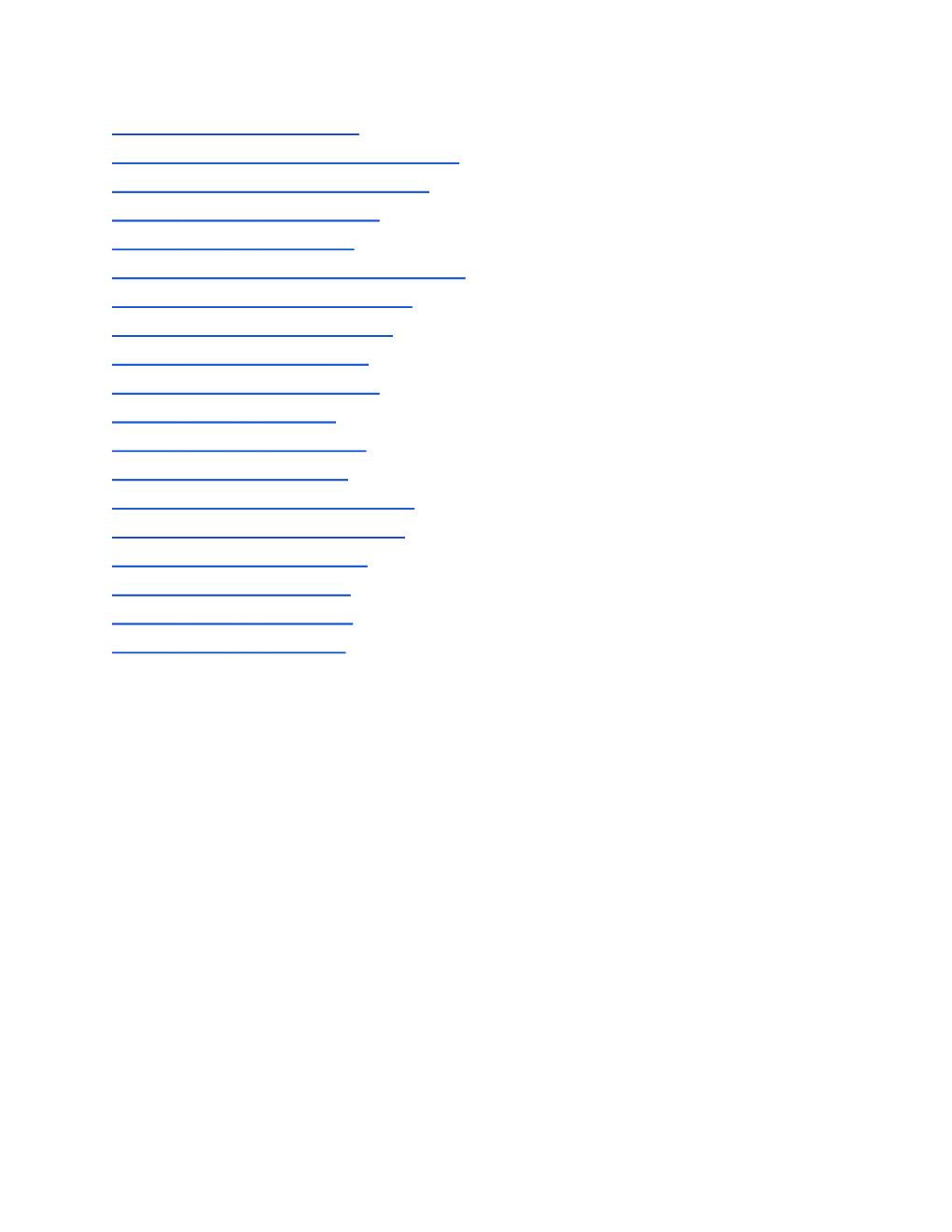
PRODUTOR DE CANA
PESOS E MEDIDAS
PORCENTAGEM
Muitas medidas são dadas em porcentagens, como,por
exemplo, a declividade, como se explicou na FO 1 e na
FIT 2. Quando dissemos que a declividade era 14%,
isto queria dizer que, em 100 metros que se anda para
frente, º terreno desce 14 metros. Mas existem
também outros casos em que se usa porcentagem como
medida. Quando você compra adubos ou inseticidas,
você precisa saber a concentração, que e dada em
porcentagem; isto porque (como no exemplo que será
dado na parte de adubação e inseticidas, adiante,
FIT 14 e 31),naquele veneno, uma parte e veneno puro,
e º resto e enchimento (talco) para facilitar a aplicação.
Assim, se dissermos que a concentração e 5%, quer
dizer que 5 partes são de veneno e º resto para
completar 100 partes (porcentagem) e talco, ou seja,
em cada 100 partes (ou 100 quilos), 5 partes (ou 5 quilos)
são de veneno, e 95 de enchimento.
MÉDIA
Quando você mede a declividade de um terreno, pode
observar que ela sempre varia um pouco em cada
medida que se faz. Assim, se você mede em vários
lugares de uma descida, no fim você acha uma
declividade que é chamada de declividade média.
Suponhamos que você mede em três lugares; na parte
de cima de um morro, na parte média e na parte
inferior, e as três medidas diferem um pouco. Você
precisa agora escolher um número que represente isto.
Este número é a média. Se a primeira medida deu 6%,
a segunda deu 8%, e a terceira deu 10%, somamos as
três e dividimos º resultado por três:
º resultado, oito, é a declividade média.
Outro exemplo para ajudar a entender:
Suponhamos que você tem frangos para vender, e º
comprador paga por peso. Você não sabe º peso de
cada um, mas sabe que º menor deve pesar 2 quilos e º
maior 3 quilos. Como os outros frangos estão aí também,
você calcula um peso médio entre 2 e 3 quilos, que é
2,5 quilos,e avalia seus frangos por esse peso.
MEC - DSU - PIPMO FOLHA DE INFORMAÇÃO TECNOLÓGICA