
Outras caracterizações são agora apresen
tadas.complementandoas anteriormente desta-
cadas na apreciação dos relacionamentos básicos
(item 6):
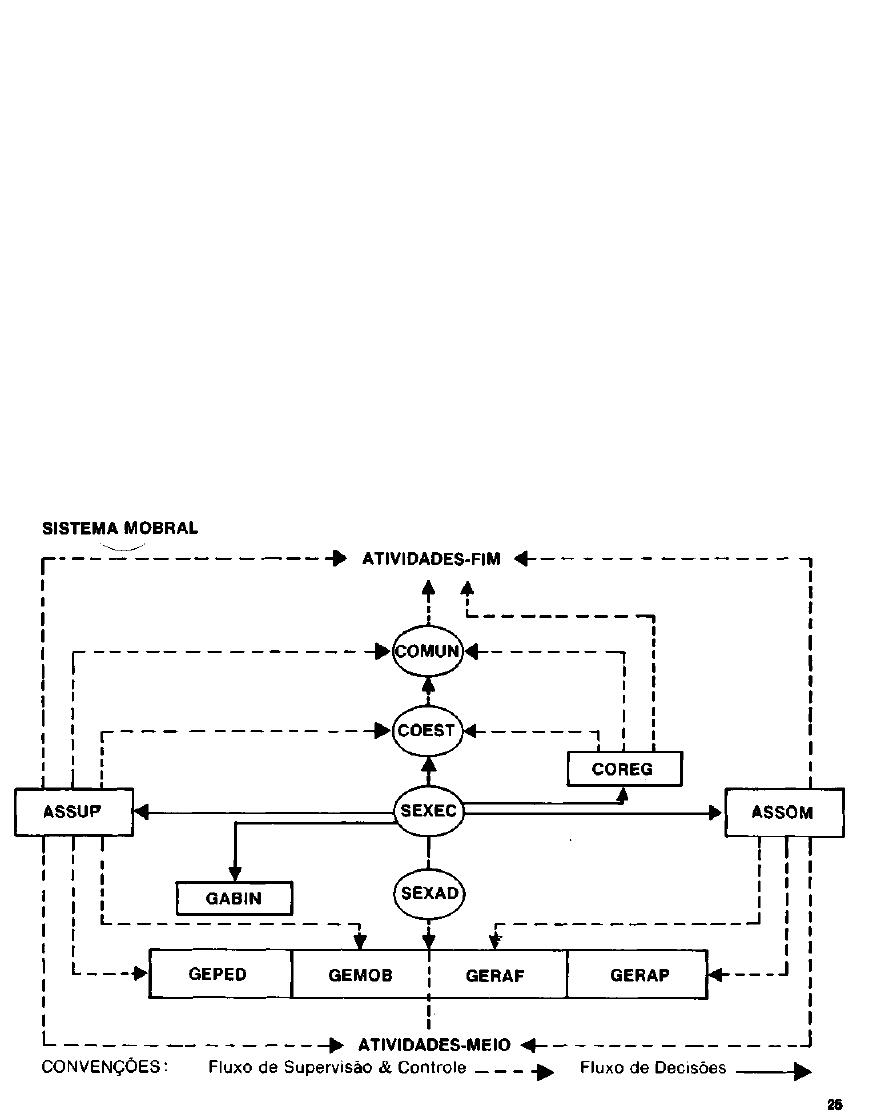
• o fluxograma de coordenação é um instru-
mento para divulgação interna, ao passo que o
referente aos relacionamentos básicos foi
produzido para divulgação ostensiva. Este
último, por sua simplicidade, oferece uma
imagem de rápida assimilação, realça os
pontos principais de decisão, separa os meios
dos fins, incide a atenção sobre o
relacionamento-chave descentralizado entre
SEXEC e COEST e dá uma idéia da estratégia
num sentido amplo (aproximação progressiva
e eficiente entre o MOBRAL/ Central e as
COEST), enquanto que o primeiro constitui um
guia operacional, cujos desdobramentos darão
origem aos diferentes manuais de operação
(normas de correspondência, material didático,
administração financeira etc.)
• a ênfase do fluxograma de coordenação nas
atividades-fim e nas atividades-meio é pro-
posital, uma vez que o sucesso da O & M do
MOBRAL dependerá, por parte dos diversos
elementos envolvidos, da identificação,
planejamento e controle dos meios e dos fins.
• o SEXAD aparece no fluxograma de coorde-
nação conjugado com o SEXEC e não como
um intermediário entre este último e as
gerências: trata-se da segunda pessoa na
escala hierárquica do MOBRAL, acom-
panhando em contato estreito as decisões do
SEXEC e substituindo-o nas eventualidades;
sendo também um executivo como o SEXEC,
está desvinculado das Assessorias, a não ser
em casos de substituição; no relacionamento
entre o SEXEC e as gerências, o SEXAD
participa de modo a separar o acessório do
principal, deixando livre o SEXEC para
avaliações rápidas e decisões compatíveis
com o esquema estratégico do MOBRAL bem
como conformando roteiros de
acompanhamento das ações a serem de-
sencadeadas; o SEXAD, portanto, é o ele-
mento de que dispõe o SEXEC para a coor-
denação das ações táticas.
• a ASSUP e a ASSOM, por seu turno, são as
assessorias de que dispõe o SEXEC para a
coordenação das ações estratégicas, isto
significando que exercem suas funções em
três dimensões principais:
a) planejando;
b) penetrando nas gerências, e eventualmente
nas COEST, para agilizar as ações de longo
prazo;
c) detetando pontos de estrangulamento e
desvios diversos.
• a ASSOM, nestas condições, orienta sua par-
ticipação com ênfase sobre as áreas de ad-
ministração financeira e de atividades de
apoio, enquanto que a ASSUP dá prioridade
às atividades pedagógicas e à mobilização de
recursos comunitários; em termos de
coordenação geral, a ASSOM está vinculada
às atividades-meio e a ASSUP às atividades-
fim, embora para efeito de equilíbrio a ASSOM
se referencie aos fins e a ASSUP aos meios;
ambas as Assessorias, neste contexto,
cumprem seus propósitos por intermédio de
normas (circulares, manuais etc), supervisão
direta (contratos, visitas etc.) e indireta
(questionários, solicitação de relatórios etc),
controle (avaliação de resultados, prestação
de contas etc), assistência técnica (cursos,
reuniões, treinamento, atendimento a
consultas etc.) e orientação estratégica
(documentos de base, treinamento de
coordenadores etc), devidamente
homologados pelo SEXEC; além disso,
executam as funções de planejamento
(estudos e pesquisas, diagnósticos, alter-
nativas de estratégias, acompanhamento,
avaliação etc); prevê-se, ainda, um entrosa-
mento permanente entre a ASSOM e a
ASSUP, com a finalidade de se obter equilí-
brio e compatibilidade dos meios com os fins;
cabe relevar, finalmente, que as ações dessas
Assessorias — características de "staff" ou de
Estado Maior (vide item 3) — não devem ser
restritivas mas sim preventivas, não se
confundindo, em nenhuma hipótese, com
decisões.
• as COREG, no presente esquema de coorde-
nação, são também elementos "staff" ou de
Estado Maior, da mesma forma que a ASSOM
e a ASSUP, ou seja, constituem instrumentos
do SEXEC, a nível regional, para
planejamento, penetração nas COEST para
agilizar as ações de longo prazo e deteta-ção
de pontos de estrangulamento e desvios
diversos; ligam-se diretamente com o SEXEC,
fornecendo informações e recebendo
orientação de procedimentos diversos
preferencialmente no relativo às atividades-
fim; não são intermediários do SEXEC nem
decidem a nível regional, atuando rotineira-
mente com base nos diversos documentos
emitidos pelo MOBRAL/Central; a organização
das COREG, seguindo forma semelhante às
COEST, deve ser simples e funcional,