Download PDF
ads:
0
UNIVERSIDADE FEDERAL DE SÃO CARLOS
DEPARTAMENTO DE COMPUTAÇÃO
PROGRAMA DE PÓS-GRADUAÇÃO EM CIÊNCIA DA COMPUTAÇÃO
Thiago Luís Lopes Siqueira
SB-INDEX: UM ÍNDICE ESPACIAL BASEADO EM BITMAP
PARA DATA WAREHOUSE GEOGRÁFICO
São Carlos
Agosto/2009
ads:
Livros Grátis
http://www.livrosgratis.com.br
Milhares de livros grátis para download.
1
Universidade Federal de São Carlos
Centro de Ciências Exatas e de Tecnologia
Programa de Pós-Graduação em Ciência da Computação
SB-Index: Um Índice Espacial Baseado em
Bitmap para Data Warehouse Geográfico
THIAGO LUÍS LOPES SIQUEIRA
Orientador: Ricardo Rodrigues Ciferri
São Carlos
Agosto/2009
ads:
Ficha catalográfica elaborada pelo DePT da
Biblioteca Comunitária da UFSCar
S618si
Siqueira, Thiago Luís Lopes.
SB-Index : um índice espacial baseado em bitmap para
data warehouse geográfico / Thiago Luís Lopes Siqueira. --
São Carlos : UFSCar, 2009.
118 f.
Dissertação (Mestrado) -- Universidade Federal de São
Carlos, 2009.
1. Banco de dados. 2. Data warehouse. 3. Indexação. I.
Título.
CDD: 005.74 (20
a
)
2
3
Dedico e consagro esta dissertação ao Rei dos reis: Jesus.
Em memória do Prof. Dr. Mauro Biajiz.
4
Agradecimentos
Digno és, Senhor, de receber glória, e honra, e poder; porque tu criaste
todas as coisas, e por tua vontade são e foram criadas [Ap 4:11].
Porque desde a antiguidade não se ouviu, nem com ouvidos se percebeu,
nem com os olhos se viu um Deus além de ti que trabalha
para aquele que nele espera [Is 64:4].
À minha abençoada família, que me apoiou e incentivou desde
sempre, e que com amor me motivou a superar os obstáculos.
À minha querida namorada Cris, pelo companheirismo,
pelo carinho e pela compreensão.
A todas as pessoas que estiveram envolvidas nesta jornada, com maior
ou menor intensidade. Seria injusto enumerar apenas algumas delas.
Obrigado pela amizade, que certamente é uma benção [Mc 2, 1-12].
Ao estimado Prof. Dr. Ricardo Rodrigues Ciferri, pela oportunidade
de trabalharmos, pela confiança, pelo carisma e pelo investimento
neste que ingressou como aluno e agora termina como professor.
Às competentíssimas docentes Cristina Dutra de Aguiar Ciferri,
Valéria Cesário Times e Marilde Terezinha Prado Santos, por
todas as orientações e conselhos, que me proporcionaram
grande crescimento profissional.
Ao DC/UFSCar por estabelecer um ambiente de trabalho muito agradável.
Ao GestaFUV/Unesp, pela primeira chance de mostrar o meu trabalho,
e por serem os primeiros a acreditar em minha carreira acadêmica.
Ao IFSP pelo acolhimento e pelo estabelecimento de um
horário de trabalho flexível, o qual foi determinante
para concluir esta dissertação com qualidade.
À Coordenação de Aperfeiçoamento de Pessoal de Nível Superior,
ao Instituto Nacional de Estudos e Pesquisas Educacionais
e ao Projeto Web-PIDE, pelo auxílio financeiro.
5
Resumo
O Data Warehouse Geográfico (DWG) tornou-se uma das principais
tecnologias de suporte à decisão, pois promove a integração de data warehouses, On-Line
Analytical Processing e Sistemas de Informações Geográficas. Por isso, um DWG viabiliza a
análise espacial aliada à execução de consultas analíticas multidimensionais envolvendo
enormes volumes de dados. Por outro lado, existe um desafio relativo ao desempenho no
processamento de consultas, que envolvem janelas de consulta espaciais ad-hoc e várias
junções entre tabelas. Claramente, mecanismos para aumentar o desempenho do
processamento de consultas, como as estruturas de indexação, são essenciais. Nesta
dissertação, propõe-se um novo índice para DWG chamado SB-index, baseado no Índice
Bitmap de Junção e no Retângulo Envolvente Mínimo. O SB-index herda todo o legado de
técnicas do Índice Bitmap e o introduz no DWG. Além disso, ele provê suporte a hierarquias
de atributos espaciais predefinidas. Este índice foi validado por meio de testes experimentais
de desempenho. Comparações entre o SB-index, a junção estrela auxiliada pela R-tree e a
junção-estrela auxiliada por GiST indicaram que o SB-index diminui significativamente o
tempo de resposta do processamento de consultas roll-up e drill-down relacionadas aos
predicados espaciais intersecta, está contido e contém, promovendo ganhos de 76% a
96%. Mostrou-se ainda que a variação do volume de dados não prejudica o desempenho do
SB-index. Esta dissertação também investiga a seguinte questão: “como a redundância de
dados espaciais afeta um DWG?”. Foram comparados os esquemas de DWG redundante e
não-redundante. Observou-se que a redundância de dados espaciais acarreta prejuízos ao
tempo de resposta das consultas e aos requisitos de armazenamento do DWG. Então, visando
melhorar o desempenho do processamento de consultas, introduziu-se o SB-index no esquema
de DWG redundante. Os ganhos de desempenho obtidos a partir desta ação variaram de 25%
a 99%. Por fim, foi proposta uma melhoria sobre o SB-index a fim de lidar especificamente
com a questão da redundância de dados espaciais. A partir desta melhoria, o ganho mínimo de
desempenho tornou-se 80%.
Palavras-chave: Data warehouse geográfico, Índice Bitmap, Indexação
6
Abstract
Geographic Data Warehouses (GDW) became one of the main technologies
used in decision-making processes and spatial analysis since they provide the integration of
Data Warehouses, On-Line Analytical Processing and Geographic Information Systems. As a
result, a GDW enables spatial analyses together with agile and flexible multidimensional
analytical queries over huge volumes of data. On the other hand, there is a challenge in a
GDW concerning the query performance, which consists of retrieving data related to ad-hoc
spatial query windows and avoiding the high cost of star-joins. Clearly, mechanisms to
provide efficient query processing, as index structures, are essential. In this master’s thesis, a
novel index for GDW is introduced, namely the SB-index, which is based on the Bitmap Join
Index and the Minimum Bounding Rectangle. The SB-index inherits the Bitmap Index’
legacy techniques and introduces them in GDW, as well as it enables support for predefined
spatial attribute hierarchies. The SB-index validation was performed through experimental
performance tests. Comparisons among the SB-index approach, the star-join aided by R-tree
and the star-join aided by GiST indicated that the SB-index significantly improves the elapsed
time in query processing from 76% up to 96% with regard to queries defined over the spatial
predicates of intersection, enclosure and containment and applied to roll-up and drill-down
operations. In addition, the impact of the increase in data volume on the performance was
analyzed. The increase did not impair the performance of the SB-index, which highly
improved the elapsed time in query processing. Moreover, in this master’s thesis there is an
experimental investigation on “how does the spatial data redundancy affect query response
time and storage requirements in a GDW?”. Redundant and non-redundant GDW schemas
were compared, concluding that redundancy is related to high performance losses. Then,
aiming at improving query performance, the SB-index performance was evaluated on the
redundant GDW schema. The results pointed out that SB-index significantly improves the
elapsed time in query processing from 25% up to 99%. Finally, a specific enhancement of the
SB-index was developed in order to deal with spatial data redundancy. With this
enhancement, the minimum performance gain observed became 80%.
Keywords: Geographic data warehouse, Bitmap Index, Indexing
7
Lista de Ilustrações
Figura 1 Ambiente típico de data warehousing. ................................................................................ 19
Figura 2 Cubo de dados multidimensional referente ao exemplo de varejo, e algumas consultas
analíticas. ............................................................................................................................................... 21
Figura 3 Exemplos das operações drill-down e roll-up. .................................................................... 21
Figura 4 Treliça para o exemplo de varejo. ........................................................................................ 22
Figura 5 Esquema estrela para o exemplo de varejo. ......................................................................... 23
Figura 6 Tipos de objetos espaciais. ................................................................................................... 25
Figura 7 Exemplo de R-tree, com pontos, linhas e polígonos envolvidos por seus respectivos MBR.
............................................................................................................................................................... 34
Figura 8 Estrutura de dados da R-tree exemplificada na Figura 7. .................................................... 34
Figura 9 Casos que levam à ramificação do percurso na R-tree. ....................................................... 36
Figura 10 Relacionamentos de (a) inclusão e (b) interseção para nodos internos da R-tree. ............. 37
Figura 11 Diferentes casos do relacionamento de inclusão (contém). ............................................... 38
Figura 12 Uma tabela de dimensão e um Índice de Projeção para um de seus atributos. .................. 42
Figura 13 Construção de IBJ para os atributos fornecedor_pk e endereco. ....................................... 43
Figura 14 Construção de IBJ para o atributo regiao. ......................................................................... 44
Figura 15 Índices Bitmap para a tabela de fatos do DW da joalheria. ............................................... 45
Figura 16 Consulta por faixa de valores “35 ≤ X < 65” num Índice Bitmap com binning. ............... 47
Figura 17 Exemplo da codificação WAH de uma seqüência de 5456 bits em uma máquina de 32 bits.
............................................................................................................................................................... 49
Figura 18 Comparação entre Bitmaps codificados por igualdade e por faixa, dado o Índice de
Projeção. ................................................................................................................................................ 51
Figura 19 Índices de projeção e bit-sliced exemplificados. ............................................................... 52
Figura 20 Exemplo do Índice Bitmap com codificação binária. ........................................................ 53
Figura 21 Atualização do Índice Bitmap com codificação binária. ................................................... 55
Figura 22 Um Índice Bitmap de Junção criado usando FastBit. ........................................................ 57
Figura 23 Um DWG com a dimensão espacial Local e a aR-tree correspondente. ........................... 59
Figura 24 aR-Tree com diferentes funções de agregação. ................................................................. 60
Figura 25 aR-Tree com uma dimensão espacial (Local) e uma não-espacial (Veículos). ................. 61
8
Figura 26 aR-Tree com diferentes funções de agregação. ................................................................. 61
Figura 27 A treliça para a aR-tree da Figura 24a (PAPADIAS et al., 2001). .................................... 62
Figura 28 Treliça composta de uma dimensão espacial e outra não-espacial (PAPADIAS et al.,
2001). .................................................................................................................................................... 63
Figura 29 Exemplo de a3DR-tree (PAPADIAS et al., 2002). ............................................................ 66
Figura 30 Um exemplo de aRB-tree para as regiões da Figura 29a. .................................................. 67
Figura 31 Exemplo de consulta para a aRB-tree. ............................................................................... 67
Figura 32 Elementos básicos para estrutura de dados do SB-index. .................................................. 72
Figura 33 O processo de construção do SB-index. ............................................................................ 73
Figura 34 Algoritmo da construção do SB-index. .............................................................................. 74
Figura 35 O processamento de consultas usando o SB-index. ........................................................... 75
Figura 36 Algoritmo do processamento de consultas usando o SB-index. ........................................ 77
Figura 37 SSB transformado em um DWG com esquema híbrido: GHSSB. .................................... 79
Figura 38 A distribuição dos dados espaciais do GHSSB. ................................................................. 79
Figura 39 Adaptação da consulta Q2.3 do SSB para consultas do Tipo 1. ........................................ 80
Figura 40 Adaptação da consulta Q2.3 do SSB para consultas do Tipo 2. ........................................ 80
Figura 41 Adaptação da consulta Q2.3 do SSB para consultas do Tipo 3. ........................................ 81
Figura 42 Adaptação da consulta Q3.3 do SSB para consultas do Tipo 4. ........................................ 81
Figura 43 Janelas de consulta utilizadas no Tipo 1: níveis Endereço, Cidade e Nação. .................... 82
Figura 44 Janela de consulta utilizada no Tipo 1: nível Região. ........................................................ 82
Figura 45 Disposição aproximada das janelas de consulta presentes no Tipo 4. ............................... 83
Figura 46 O SB-index comparado à junção estrela auxiliada por índices espaciais no esquema
GHSSB, em consultas SOLAP com o predicado espacial intersecta. ................................................... 90
Figura 47 SSB transformado em um DWG com esquema redundante: GRSSB. .............................. 93
Figura 48 O processamento de consultas do SB-index NR. ............................................................. 102
Figura 49 O SB-index comparado à junção estrela auxiliada por índices espaciais no esquema
GRSSB, em consultas SOLAP com o predicado espacial intersecta. ................................................. 104
9
Lista de Tabelas
Tabela 1 Consultas espaciais comentadas e exemplificadas. ............................................................. 27
Tabela 2 Caracterizações dos nodos internos e folhas de uma R-tree. ............................................... 33
Tabela 3 Frações do extent sobrepostas por cada janela de consulta. ................................................ 82
Tabela 4 Número médio de objetos espaciais distintos retornados por Tipo de consulta. ................. 82
Tabela 5 Medidas coletadas na construção do SB-index para o esquema GHSSB. ........................... 84
Tabela 6 Medidas coletadas no processamento de consultas do Tipo 1 (vide Figura 39) executando a
Junção Estrela auxiliada por índices espaciais no esquema GHSSB. A coluna C1 se refere ao uso da
R-tree, enquanto a coluna C2 se refere ao uso de GiST. ....................................................................... 85
Tabela 7 Medidas coletadas no processamento de consultas do Tipo 1 (vide Figura 39) usando o
SB-index com o esquema GHSSB. A redução de tempo é calculada em relação ao melhor resultado
dentre C1 e C2 mostrado na Tabela 6. .................................................................................................. 85
Tabela 8 Medidas coletadas no processamento de consultas do Tipo 2 (vide Figura 40) executando a
Junção Estrela auxiliada por GiST no esquema GHSSB. ..................................................................... 86
Tabela 9 Medidas coletadas no processamento de consultas do Tipo 2 (vide Figura 40) usando o
SB-index no esquema GHSSB. A redução de tempo é calculada em relação ao resultado de C2
mostrado na Tabela 8. ........................................................................................................................... 86
Tabela 10 Medidas coletadas no processamento de consultas do Tipo 3 (vide Figura 41) executando
a Junção Estrela auxiliada por GiST no esquema GHSSB.................................................................... 87
Tabela 11 Medidas coletadas no processamento de consultas do Tipo 3 (vide Figura 41) usando o
SB-index no esquema GHSSB. A redução de tempo é calculada em relação ao resultado de C2
mostrado na Tabela 10. ......................................................................................................................... 87
Tabela 12 Medidas coletadas no processamento de consultas do Tipo 4 (vide Figura 42) usando a
Junção Estrela auxiliada por GiST no esquema GHSSB. ..................................................................... 87
Tabela 13 Medidas coletadas no processamento de consultas do Tipo 4 (vide Figura 42) usando o
SB-index no esquema GHSSB. A redução de tempo é calculada em relação ao resultado de C2
mostrado na Tabela 12. ......................................................................................................................... 87
Tabela 14 Medidas coletadas no processamento de consultas do Tipo 1 sobre o nível de
granularidade Endereço, usando volumes de dados distintos do GHSSB. ............................................ 88
Tabela 15 Medidas coletadas no processamento de consultas do Tipo 1 sobre o nível de
granularidade Cidade, usando volumes de dados distintos do GHSSB. ............................................... 88
Tabela 16 Medidas coletadas no processamento de consultas do Tipo 1 sobre o nível de
granularidade Nação, usando volumes de dados distintos do GHSSB. ................................................ 88
Tabela 17 Medidas coletadas no processamento de consultas do Tipo 1 sobre o nível de
granularidade Região, usando volumes de dados distintos do GHSSB. ............................................... 88
Tabela 18 Número mínimo e máximo de repetições de objetos na tabela Supplier. .......................... 94
10
Tabela 19 Medidas coletadas na construção do SB-index para o esquema GHSSB. ......................... 95
Tabela 20 Medidas coletadas no processamento de consultas do Tipo 1 (vide Figura 39) executando
a Junção Estrela auxiliada por índices espaciais no esquema GRSSB. A coluna C1 se refere ao uso da
R-tree, enquanto a coluna C2 se refere ao uso de GiST. ....................................................................... 96
Tabela 21 Medidas coletadas no processamento de consultas do Tipo 1 (vide Figura 39) usando o
SB-index no esquema GRSSB. A redução de tempo é calculada em relação ao melhor resultado
dentre C1 e C2 mostrado na Tabela 20. ................................................................................................ 96
Tabela 22 Medidas coletadas no processamento de consultas do Tipo 2 (vide Figura 40) executando
a Junção Estrela auxiliada por GiST no esquema GRSSB. ................................................................... 98
Tabela 23 Medidas coletadas no processamento de consultas do Tipo 2 (vide Figura 40) usando o
SB-index no esquema GRSSB. A redução de tempo é calculada em relação ao resultado de C2
mostrado na Tabela 22. ......................................................................................................................... 98
Tabela 24 Medidas coletadas no processamento de consultas do Tipo 3 (vide Figura 41) executando
a Junção Estrela auxiliada por GiST no esquema GRSSB. ................................................................... 99
Tabela 25 Medidas coletadas no processamento de consultas do Tipo 3 (vide Figura 41) usando o
SB-index no esquema GRSSB. A redução de tempo é calculada em relação ao resultado de C2
mostrado na Tabela 24. ......................................................................................................................... 99
Tabela 26 Medidas coletadas no processamento de consultas do Tipo 4 (vide Figura 42) executando
a Junção Estrela auxiliada por GiST no esquema GRSSB. ................................................................. 100
Tabela 27 Medidas coletadas no processamento de consultas do Tipo 4 (vide Figura 42) usando o
SB-index no esquema GHSSB. A redução de tempo é calculada em relação..................................... 100
Tabela 28 Medidas referentes ao SB-index NR aplicado ao GRSSB: construção do índice. .......... 102
Tabela 29 Medidas referentes ao SB-index NR aplicado ao GRSSB: processamento de consultas. 103
Tabela 30 Resumo dos ganhos de desempenho do SB-index no esquema GHSSB, por nível de
granularidade e por predicado espacial. .............................................................................................. 107
Tabela 31 Resumo dos atrasos causados pela redundância de dados espaciais no DWG, usando a
junção estrela auxiliada por eficientes índices espaciais. .................................................................... 108
Tabela 32 Resumo dos ganhos de desempenho do SB-index no esquema GRSSB, por nível de
granularidade e por predicado espacial. .............................................................................................. 108
11
Lista de Siglas
a3DR-tree aggregate 3DR-tree
aR-tree aggregate R-tree
aRB-tree aggregate RB-tree
BBC Byte-aligned Bitmap Code
DW - Data Warehouse
DWG Data warehouse Geográfico
EQ Exact Query
ERQ Enclosure Range Query
gcc GNU Compiler Collection
IBJ Índice Bitmap de Junção
IRQ Intersection Range Query
JC janela de consulta
MAM Método de Acesso Multidimensional
MBR Minimum Bounding Rectangle (retângulo envolvente mínimo)
OLAP On-Line Analytical Processing
OLTP On-Line Transaction Processing
RID Row identifier (identificador de tupla)
RLE Run-lenght encoding (codificação por comprimento da corrida)
ROLAP OLAP Relacional
ROT Relação de Ordem Total
RQ Range Query
SB-index Spatial Bitmap Index
SGBD Sistema gerenciador de banco de dados
SIG Sistemas de Informações Geográficas
SOLAP Spatial OLAP (OLAP Espacial)
SSB Star Schema Benchmark
SSD Sistemas de Suporte à Decisão
TIGER/Line Topologically Integrated Geographic Encoding and Referencing system
WAH Word-Aligned Hybrid code
12
S U M Á R I O
1. INTRODUÇÃO ................................................................................................................................ 14
1.1 Organização da Dissertação ........................................................................................................ 17
2. FUNDAMENTAÇÃO TEÓRICA .................................................................................................... 18
2.1 Data warehouse e OLAP ............................................................................................................. 18
2.2 Dados e Consultas Geográficos ................................................................................................... 24
2.3 Data warehouse geográfico e SOLAP ......................................................................................... 26
2.3.1 Modelos existentes para data warehouse geográfico............................................................ 29
2.4 Estruturas de indexação ............................................................................................................... 31
2.4.1 R-tree .................................................................................................................................... 33
2.4.1.1 Algoritmo de inserção ................................................................................................... 34
2.4.1.2 Algoritmos de busca ...................................................................................................... 35
2.5 Considerações Finais ................................................................................................................... 38
3. TRABALHOS CORRELATOS ........................................................................................................ 40
3.1 Índice de Projeção ....................................................................................................................... 41
3.2 Índice Bitmap .............................................................................................................................. 42
3.2.1 Binning ................................................................................................................................. 47
3.2.2 Compressão .......................................................................................................................... 48
3.2.3 Codificação........................................................................................................................... 50
3.4 aR-tree ......................................................................................................................................... 57
3.4.1 Estrutura de dados ................................................................................................................ 58
3.4.2 Processamento de consultas ................................................................................................. 63
3.5 a3DR-tree e aRB-tree .................................................................................................................. 65
3.6 Considerações Finais ................................................................................................................... 68
4. SB-INDEX ........................................................................................................................................ 71
4.1 Estrutura de Dados do SB-index ................................................................................................. 71
4.2 Construção da Estrutura de Indexação ........................................................................................ 72
4.3 Processamento de Consultas Usando SB-index .......................................................................... 75
4.4 Testes de Desempenho ................................................................................................................ 78
13
4.4.1 Dados e Consultas ................................................................................................................ 78
4.4.2 A Plataforma Computacional e as Configurações dos Testes .............................................. 83
4.4.3 Resultados de Desempenho .................................................................................................. 84
4.4.3.1 Construção ..................................................................................................................... 84
4.4.3.2 Processamento de Consultas ......................................................................................... 85
4.4.3.3 Escalabilidade do Volume de Dados ............................................................................. 87
4.4.3.4 Considerações finais ...................................................................................................... 89
5. O IMPACTO DA REDUNDÂNCIA DE DADOS ESPACIAIS ...................................................... 91
5.1 A Redundância de Dados Espaciais ............................................................................................ 91
5.2 Testes de Desempenho ................................................................................................................ 92
5.2.1 Ambiente de Testes .............................................................................................................. 93
5.2.2 Resultados ............................................................................................................................ 94
5.2.2.1 Construção ..................................................................................................................... 95
5.2.2.2 Processamento de consultas .......................................................................................... 96
5.2.2.3 SB-index NR ............................................................................................................... 101
5.3 Considerações Finais ................................................................................................................. 103
6. CONCLUSÕES E TRABALHOS FUTUROS ............................................................................... 105
6.1 Conclusões ................................................................................................................................ 105
6.2 Trabalhos em andamento e futuros ........................................................................................... 109
6.2.1 Etapa intermediária no processamento de consultas .......................................................... 109
6.2.2 Investigações sobre o uso do Índice Bitmap ...................................................................... 110
6.2.3 Alteração da estrutura seqüencial ....................................................................................... 110
6.2.4 Benchmarks para data warehouse geográfico .................................................................... 111
REFERÊNCIAS .................................................................................................................................. 112
14
1. INTRODUÇÃO
Esta dissertação é propõe uma nova estrutura de indexação para data
warehouse geográfico. A estrutura proposta, denominada SB-index (Spatial Bitmap Index),
visa diminuir o tempo de resposta de consultas analíticas multidimensionais com um dos
seguintes predicados espaciais: intersecta, está contido e contém.
Instituições com as mais variadas finalidades precisam cada vez mais da
manipulação de dados que apontem tendências, descrevam o comportamento dos seus
negócios e colaborem na elaboração de estratégias. Por isso, a correta organização e
manipulação dos dados proporcionam o suporte à decisão. O crescente volume dos dados
(não integrados) e a necessidade de baixo tempo de resposta a consultas analíticas foram
fatores que forçaram a separação dos ambientes operacional e informacional. Assim, foi
necessário isolar os dados e as operações do dia-a-dia daqueles dados e consultas analíticas de
suporte a decisão. Em suma, dissociou-se OLTP (On-Line Transaction Processing) de OLAP
(On-Line Analytical Processing), originando uma base de dados histórica, integrada,
consolidada e intrinsecamente muito volumosa. Esta base de dados recebeu o nome de data
warehouse (DW) (CHAUDHURI; DAYAL, 1997; KIMBALL; ROSS, 2002; INMON, 2002;
RIZZI, 2007). Sobre o DW incidem consultas analíticas multidimensionais, viabilizadas pelas
ferramentas OLAP. São estas consultas que favorecem o suporte à decisão, alicerçando a
elaboração de estratégias.
Da mesma forma que no passado os Bancos de Dados Espaciais e os Sistemas
de Informações Geográficas foram popularizados e empregados também no suporte à decisão,
observa-se desde o final da década passada, a inclusão de dados espaciais aos DW
(STEFANOVIC; HAN; KOPERSKI, 2000). Os Sistemas de Informações Geográficas (SIG)
são ferramentas usadas na manipulação, consulta, análise e visualização de bancos de dados
espaciais (CÂMARA et al., 1996; FERRARI, 1997; RIGAUX; SCHOLL; VOISARD, 2002;
CASANOVA et al., 2005). Portanto, embora possuam as suas particularidades, DW, OLAP e
SIG convergem em um aspecto: são empregados no suporte à decisão.
Este fato motivou a integração das três tecnologias mencionadas, originando o
data warehouse geográfico (DWG) (STEFANOVIC; HAN; KOPERSKI, 2000;
MALINOWSKI; ZIMÁNYI, 2004; 2008; FIDALGO et al., 2004; BIMONTE;
TCHOUNIKINE; MIQUEL, 2005). Neste sentido, incentivou-se também o desenvolvimento
de ferramentas SOLAP (Spatial OLAP), para explorar o DWG por meio de consultas
analíticas multidimensionais com predicado espacial (FIDALGO; TIMES; DE SOUZA, 2001;
2004; BIMONTE; TCHOUNIKINE; MIQUEL, 2006; 2007; MALINOWSKI; ZIMÁNYI,
15
2008). Um exemplo de consulta SOLAP é: “obter o total das receitas ganhas pelos
fornecedores localizados em cidades que estão contidas em uma região arbitrária,
comercializando produtos de uma determinada marca, agrupando os resultados por ano e por
marca”.
Um DW pode ser representado logicamente por um esquema estrela, o qual é
composto por uma tabela central de fatos que referencia várias tabelas de dimensão
(CHAUDHURI; DAYAL, 1997; KIMBALL; ROSS, 2002; INMON, 2002). No DWG,
adicionalmente, existem tabelas de dimensão com atributos espaciais que mantêm geometrias
(um conjunto de coordenadas) (STEFANOVIC; HAN; KOPERSKI, 2000; MALINOWSKI;
ZIMÁNYI, 2004; 2008; FIDALGO et al., 2004; BIMONTE; TCHOUNIKINE; MIQUEL,
2005; SAMPAIO et al., 2006). O processamento de consultas sobre este esquema exige
custosas operações de junção e agrupamento, envolvendo uma enorme quantidade de tuplas.
Soma-se ao custo desse processamento, ainda, o cômputo de um ou mais predicados espaciais
(GAEDE; GÜNTHER, 1998). Claramente, os desafios para prover um bom desempenho no
processamento de consultas SOLAP sobre DWG residem na realização de múltiplas junções
envolvendo grande quantidade de dados, e na avaliação de predicados espaciais. Desta forma,
mecanismos para reduzir o tempo de resposta das consultas são fundamentais.
Os citados desafios motivaram a realização do presente trabalho, visto que os
métodos mais conhecidos atualmente para aumentar o desempenho no processamento de
consultas sobre o DW compreendem:
a) a materialização de visões (HARINARAYAN; RAJARAMAN; ULLMAN, 1996;
GOLFARELLI; MANIEZZO; RAO, et al., 2003; RIZZI, 2004);
b) a fragmentação horizontal ou vertical dos dados em um site ou em diversos sites de um
ambiente distribuído (GOLFARELLI; MAIO; RIZZI, 2000; CIFERRI, C. et al. 2002;
2007; COSTA; MADEIRA, 2004);
c) o particionamento dos dados entre diversos processadores visando o processamento
paralelo (DATTA; MOON; THOMAS, 1998; FURTADO, 2004); e
d) o uso de estruturas de indexação (O’NEIL, P.; GRAEFE, 1995; SARAWAGI, 1997;
JOHNSON; SHASHA, 1997; JÜRGENS; LENZ, 1999; PAPADIAS et al., 2001;
SIQUEIRA et al., 2009a).
Logo, índices que aumentem o desempenho no processamento de consultas são
de vital importância ao DWG, sendo a dimensionalidade o grande obstáculo à indexação de
dados do DW. O Índice Bitmap é uma estrutura de indexação para DW cujo desempenho não
degenera em grande escala mesmo quando rias tabelas de dimensão no esquema estrela
16
(O’NEIL, P.; GRAEFE, 1995; SARAWAGI, 1997; O'NEIL, P.; QUASS, 1997; GOYAL;
ZAVERI; SHARMA, 2006; O’NEIL, E.; O’NEIL, P.; WU, K., 2007). Sua vantagem reside
em manipular vetores que usam a menor unidade de informação, o bit, por meio de operações
lógicas que são auxiliadas pelo hardware. Como cada elemento do domínio de um atributo
indexado exige a criação de um vetor, prevê-se que atributos com um vasto domínio possam
degenerar o desempenho do Bitmap. Isto realmente ocorre. Em outras palavras, atributos com
alta cardinalidade deterioram a eficiência do Bitmap. Por outro lado, as técnicas de binning,
compressão e codificação o propostas justamente para atenuar os efeitos negativos da alta
cardinalidade (WU, M.-C.; BUCHMANN 1998; CHAN; IOANNIDIS, 1999;
STOCKINGER; WU, 2007; WU, K.; STOCKINGER; SHOSHANI, 2008). Embora o Índice
Bitmap constitua um método de acesso promissor, não foi encontrado, na literatura
consultada, nenhum registro de seu uso em DWG.
Além disso, o único índice para DWG identificado na literatura consultada foi
a aR-tree (PAPADIAS et al., 2001). Este índice usa o método de particionamento do espaço
da R-tree (GUTTMAN, 1984) para criar hierarquias ad-hoc implícitas entre os objetos
espaciais. Estas hierarquias favorecem a execução de consultas SOLAP que promovem a
agregação de dados. Estas hierarquias colaboram para que o percurso sob a árvore seja
reduzido durante uma consulta, pois parte da resposta pode ser encontrada em nodos
próximos da raiz. Em contraste com a aR-tree, inúmeras aplicações de DWG utilizam
hierarquias predefinidas, tais como região nação cidade endereço. Questiona-se,
portanto, a ausência de um índice eficiente para DWG que provenha suporte a hierarquias de
atributos espaciais predefinidas e que seja capaz de lidar adequadamente com a questão da
multidimensionalidade.
Esta dissertação propõe o SB-index, um novo índice para DWG cujos
principais diferenciais são:
a) Introdução do Índice Bitmap no contexto do DWG;
b) Tratamento de hierarquias de atributos espaciais predefinidas; e
c) Realização de consultas analíticas multidimensionais com predicado espacial.
O SB-index foi validado por meio de testes de desempenho experimentais
usando DWG criados a partir de dados descritivos sintéticos e dados geográficos reais. Em
particular, os dados sintéticos foram gerados a partir do Star Schema Benchmark. Um dos
testes avaliou os custos de construção do índice, coletando o tempo decorrido para construí-lo,
o número de acessos a disco e também a quantidade de espaço de armazenamento. O outro
teste avaliou o processamento de consultas no tocante ao número de acessos a disco
17
necessários e ao tempo decorrido. Foram avaliadas consultas SOLAP com agregação de dados
a partir de diferentes predicados espaciais. Os resultados obtidos foram comparados com o
processamento de consultas usando os recursos disponibilizados atualmente pelos
gerenciadores de banco de dados. O SB-index proporcionou altos ganhos de desempenho,
superando 90% em todos os casos.
Além de apresentar uma nova estrutura de indexação, esta dissertação discorre
ainda sobre o impacto causado pela redundância de dados espaciais sobre o DWG. Os
mesmos testes de desempenho mencionados foram realizados sobre um DWG redundante.
Foram então confrontados os resultados obtidos nos esquemas redundante e não-redundante
de DWG. Esta comparação revelou que a redundância de dados espaciais afeta negativamente
o armazenamento e o processamento de consultas, ao contrário do que ocorre no DW
convencional. Tal comparação ainda como motivou a aplicação do SB-index sobre o esquema
redundante de DWG, a qual demonstrou resultados foram excelentes, pois os ganhos de
desempenho variaram de 25% a 95% no processamento de consultas. Analisando estes
resultados foi possível identificar e desenvolver uma melhoria sobre o SB-index,
especificamente para lidar com a redundância de dados espaciais. De posse desta melhoria, os
experimentos foram repetidos, obtendo-se o ganho de desempenho mínimo de 80%.
1.1 Organização da Dissertação
O restante desta dissertação está organizado em cinco capítulos:
Capítulo 2: resume os conceitos e fundamentos teóricos sobre data warehouse
geográfico, os quais são indispensáveis para a compreensão do índice proposto;
Capítulo 3: descreve as principais características do Índice Bitmap e da aR-tree,
caracterizando os trabalhos correlatos;
Capítulo 4: propõe o SB-index e são especifica todos os testes realizados sobre o mesmo,
discutindo os resultados obtidos;
Capítulo 5: aborda os efeitos da redundância de dados espaciais sobre o DWG, bem
como são detalhados os testes realizados e os resultados obtidos; e
Capítulo 6: conclui o trabalho, apresentando as contribuições esperadas e as sugestões
para trabalhos futuros.
A proposta do SB-index, os resultados alcançados a partir de sua aplicação e
ainda a investigação sobre o impacto da redundância de dados espaciais no DWG foram
descritos também em artigos publicados pelo autor desta dissertação: Siqueira et al. 2008,
Siqueira et al. 2009a e Siqueira et al. 2009b.
18
2. FUNDAMENTAÇÃO TEÓRICA
Neste capítulo são resumidos os fundamentos teóricos necessários para a
compreensão desta dissertação. A Seção 2.1 discorre sobre data warehouse e a tecnologia de
consultas analíticas multidimensionais para o apoio à decisão (OLAP). A Seção 2.2 descreve
os dados e as consultas espaciais, enquanto a Seção 2.3 descreve os principais conceitos
sobre data warehouse geográfico e SOLAP (OLAP espacial). Na Seção 2.4 existe uma
discussão acerca de estruturas de indexação, direcionada aos métodos de acesso
multidimensionais com ênfase sobre a R-tree e suas variantes. Por fim, na Seção 2.5 são
feitas as considerações finais.
2.1 Data warehouse e OLAP
A descoberta de tendências que auxiliem a melhor compreensão do andamento
dos negócios é de vital importância para a elaboração de estratégias em uma instituição. Neste
sentido, os sistemas de suporte à decisão provêm uma adequada organização e correta
manipulação dos dados que podem embasar as estratégias. Contudo, o crescente volume dos
dados em geral não integrados, e a necessidade de baixo tempo de resposta para consultas
analíticas, foram fatores que determinaram a separação das operações do dia-a-dia de uma
instituição de suas operações de decisão estratégica.
On-Line Transaction Processing (OLTP) trata do ambiente operacional. Nele,
as operações sobre os dados são predominantemente simples e repetitivas, atômicas e
isoladas. O grande volume de operações acessa poucos registros de dados por vez, executando
modificações, remoções e inserções, além de consultas. Tais operações são executadas de
forma concorrente enquanto o ambiente operacional está on-line. Preza-se por consistência e
tolerância a falhas, e procura-se maximizar o desempenho de consultas e transações, as quais
incidem sobre dados atuais (CHAUDHURI; DAYAL, 1997; KIMBALL; ROSS, 2002;
ELMASRI; NAVATHE, 2005; RIZZI, 2007).
Por outro lado, as operações de tomada de decisão são efetuadas por aplicações
OLAP (On-Line Analytical Processing). Estas operações consistem apenas em leituras sobre
dados históricos, resumidos e consolidados, dispensando consultas sobre registros individuais
detalhados. Tais consultas são mais complexas, quando comparadas com consultas OLTP, e
podem acessar milhões de registros por vez, realizando muitas varreduras, junções e
agregações. Sobretudo, objetiva-se maximizar o desempenho das consultas, ao invés do
desempenho das transações (CHAUDHURI; DAYAL, 1997; KIMBALL; ROSS, 2002;
ELMASRI; NAVATHE, 2005; RIZZI, 2007).
19
O data warehouse (DW) (CHAUDHURI; DAYAL, 1997; WU, M.;
BUCHMANN, 1997; INMON, 2002; KIMBALL; ROSS, 2002; RAMAKRISHNAN;
GEHRKE, 2002; GOLFARELLI; RIZZI.; IURIS, 2004; RIZZI, 2007) surgiu como uma
solução para armazenar os dados estratégicos do ambiente informacional e prover suporte a
aplicações OLAP. A Figura 1 exibe o DW como o protagonista em uma arquitetura de data
warehousing. Os provedores de informação compreendem desde SGBD relacionais,
orientados a objetos e objeto-relacionais, até bases de conhecimento, sistemas legados (tais
como sistemas hierárquicos e de rede), além de planilhas e arquivos de dados, entre outros. Os
dados oriundos dos provedores recebem um tratamento visando a sua integração (KIMBALL;
CASERTA, 2004; ADZIC; FIORE; SISTO, 2007): a extração a partir dos provedores, a
tradução para o formato adequado e a limpeza de elementos irrelevantes.
Figura 1 Ambiente típico de data warehousing.
Os metadados conservam os mapeamentos entre esquemas de diferentes
provedores e entre dados semanticamente diferentes, além de controlar a versão dos dados
históricos (WU, M.; BUCHMANN, 1997). Um data mart pode constituir um protótipo para
um DW, ou uma solução na qual o escopo de aplicação é limitado se comparado ao escopo do
DW. Seus dados compartilham as mesmas características dos dados do DW. O servidor
OLAP (HYDE, 2008; MONDRIAN, 2008; OLAP COUNCIL, 2008; SAS OLAP, 2008) atua
entre o DW mantido por um SGBD relacional e os componentes acessíveis aos usuários. Ele é
composto por um middleware com suporte a consultas multidimensionais, as quais permitem
aos usuários analisar o negócio sob variadas perspectivas.
Além disso, o servidor OLAP manipula uma linguagem de consulta
multidimensional, a MDX (Multidimensional Expressions) (WHITEHORN; ZARE;
20
PASUMANSKY, 2005), e efetua o correspondente mapeamento para a SQL. Realizando este
mapeamento e submetendo a consulta ao SGBD, o servidor OLAP explora a escalabilidade e
as funcionalidades do SGBD. Vale ainda ressaltar que o servidor OLAP também é
responsável por identificar e materializar as visões relevantes. O componente de análise e
consulta viabiliza aos usuários as consultas analíticas, sem que estes tenham acesso aos
detalhes da arquitetura.
Por fim, é importante enfatizar que o DW é também caracterizado por
(CHAUDHURI; DAYAL, 1997; INMON, 2002; KIMBALL; ROSS, 2002; KIMBALL;
CASERTA, 2004; GOLFARELLI; RIZZI; IURIS, 2004; ADZIC; FIORE; SISTO, 2007;
RIZZI, 2007):
a) armazenar os dados somente após eliminar as diferenças semânticas e de modelo dos
dados dos provedores de informação, por meio de tradução, filtragem e integração;
b) manter dados orientados ao assunto, históricos e não-voláteis;
c) viabilizar consultas analíticas diretamente sobre si, dispensando o acesso aos provedores
de informação originais;
d) proporcionar rapidez e eficiência na busca; e
e) receber atualizações incrementais periódicas, a fim de refletir as atualizações ocorridas
nos provedores de informação.
A modelagem de dados multidimensional permite que as aplicações OLAP
manipulem os dados do DW como se estivessem organizados em um hipercubo
(CHAUDHURI; DAYAL, 1997; CIFERRI, C., 2002; RIZZI, 2007). As células do hipercubo
armazenam eventos que ocorreram no domínio de negócio. Assim, o fato analisado é
quantificado por medidas e caracterizado por dimensões. As dimensões do hipercubo definem
o contexto sob o qual os fatos são avaliados. O valor de uma medida é um ponto no espaço
multidimensional, definido e influenciado pelos valores das dimensões.
Um exemplo no domínio de uma aplicação de varejo aplica estes conceitos:
um fato típico são as vendas, descritas pela medida quantidade de itens vendidos e
caracterizadas pelas dimensões item, fornecedor e data. O hipercubo correspondente é
mostrado na Figura 2. O exemplo do hipercubo com três dimensões facilita a visualização,
embora seu projeto possa incluir tantas dimensões quanto o domínio do problema demandar.
Medidas e hierarquias são aspectos estáticos do modelo multidimensional. Os atributos das
dimensões, embora omitidos no hipercubo da Figura 2, podem estar relacionados por meio de
uma hierarquia de relacionamento.
21
No exemplo em questão, uma hierarquia determina que cidade é um nível de
granularidade abaixo de nação. Estas hierarquias é que viabilizam a agregação de dados em
níveis mais detalhados ou mais resumidos. Portanto, uma agregação detalhada por cidade
origina uma agregação mais resumida por nação, considerando todas as cidades de cada
nação. O mesmo se observa com os atributos item e categoria, e os atributos mês, trimestre e
ano. Tais características do modelo multidimensional enfatizam a agregação de valores das
medidas, segundo uma ou mais dimensões (CHAUDHURI; DAYAL, 1997; POURABBAS;
RAFANELLI, 1999; ARIGON; TCHOUNIKINE; MIQUEL, 2006). Por exemplo, além dos
valores das medidas para cada célula, o hipercubo da Figura 2 mantém as funções de
agregação originadas ao longo das dimensões: soma das (ou total de) vendas por localidade,
ou total de vendas por ano, por exemplo.
Figura 2 Cubo de dados multidimensional referente ao exemplo de varejo, e algumas consultas analíticas.
A agregação de dados é ainda mais realçada com as operações dinâmicas sobre
o hipercubo. Na operação drill-down, os dados o agregados progressivamente no sentido
mais detalhado. Por outro lado, na operação roll-up a agregação ocorre no sentido mais
resumido. A Figura 3 exemplifica as operações roll-up e drill-down. Outras operações
dinâmicas muito conhecidas são pivoting, slice-and-dice e drill-across (WU, M.-C.;
BUCHMANN, 1997; POURABBAS; RAFANELLI, 1999; KIMBALL; ROSS, 2002;
CIFERRI, C. 2002).
Encontre o total de vendas de TV dos fornecedores situados nas Américas
Encontre o total de vendas de TV dos fornecedores situados nos EUA.
Encontre o total de vendas de TV dos fornecedores situados em Chicago.
+ resumido
Roll-up
+ detalhado
Figura 3 Exemplos das operações drill-down e roll-up.
22
Um hipercubo d-dimensional pode ser representado por uma treliça (ou
reticulado), a qual consiste em um grafo dirigido que possui todas as combinações possíveis
de agregações sobre as dimensões. Se o hipercubo possui d dimensões, então existem 2
d
combinações de subconjuntos destas dimensões. Os níveis com mais dimensões possuem
dados mais detalhados (menor granularidade), enquanto que os níveis com menos dimensões
possuem dados mais agregados (resumidos).
A Figura 4 exibe a treliça para o exemplo de varejo exposto. A sua
estruturação mostra que muitos vértices compartilham dimensões. Por exemplo, ambos os
vértices DFI quanto DF retratam as dimensões D e F. Um mecanismo computacional para
produzir group-bys pode explorar estes relacionamentos, dividindo a treliça em níveis de
agregação. Não é necessário computar todos os níveis, uma vez que o ancestral e um ou mais
dos descendentes pode ser capaz de compartilhar alguma porção da agregação de dados.
Assim, a resposta para uma consulta pode ser encontrada nos níveis resumidos.
Dimensões:
D = data
F = fornecedor
I = item
Figura 4 Treliça para o exemplo de varejo.
Segundo Harinarayan et al. (1996), uma treliça é composta por um conjunto L
de visões e uma relação de dependência , isto é: L, . Sejam Q
1
e Q
2
duas consultas.
Então, Q
1
Q
2
se e somente se Q
1
pode ser respondida usando apenas os resultados de Q
2
.
Na Figura 4, por exemplo, IF DFI, pois toda consulta envolvendo os atributos item (I) e
fornecedor (F) pode ser respondida por consultas envolvendo data (D), fornecedor (F) e item
(I). Algumas consultas não satisfazem à relação de dependência. Logo, são falsas as
declarações: I DF e F D.
Para dois elementos a e b de uma treliça, a b significa que a b e a b. Os
ancestrais e os descendentes de um elemento são definidos como: ancestral(a) = {b | a b} e
descendente(a) = { b | b a }, respectivamente. Logo, cada elemento é ancestral e
descendente de si mesmo. Os ancestrais imediatos (ou diretos) de um elemento a são obtidos
pela função next(a) = { b | a b, não existe c tal que a c, c b }. Já os descendentes
23
imediatos (ou diretos) de um elemento a são obtidos pela função previous(a) = { b | b a,
não existe c tal que b c, c a}.
A representação lógica de um modelo multidimensional pode ser baseada no
modelo relacional. Nesta abordagem, denominada ROLAP (Relational OLAP), as relações
podem estar definidas sob o esquema estrela ou sob o esquema floco-de-neve. No primeiro,
existem uma tabela para cada dimensão e uma única tabela de fatos. Toda tupla na tabela de
fatos mantém uma chave estrangeira para cada tabela de dimensão. Os atributos de uma tabela
de dimensão podem se relacionar por meio de uma hierarquia. A Figura 5 exibe o esquema
estrela para o exemplo de varejo e indica a quantidade de tuplas por tabela.
Cada tupla na tabela de fatos, portanto, corresponde a uma célula do hipercubo.
Além disso, cada vértice da treliça pode ser expresso por um esquema-estrela distinto que
contemple as dimensões envolvidas. Por exemplo, a tabela de fatos do vértice DFI manterá
chaves estrangeiras para as tabelas de dimensão Data, Fornecedor e Item. a tabela de fatos
do vértice D manterá apenas a chave estrangeira para a tabela Data.
O atributo Mês da tabela de dimensão Data reforça a atenção com a dimensão
temporal. Os tipos padrão timestamp e date, de SQL, não são adequados para a tomada de
decisão estratégica. Por isso, para resumir adequadamente os dados provenientes de operações
de negócio, informações como trimestre fiscal, se um dia é ou não feriado, entre outras,
podem ser mantidas para cada data (RAMAKRISHNAN; GEHRKE, 2003).
Figura 5 Esquema estrela para o exemplo de varejo.
Todas as consultas exibidas nas Figuras 2 e 3 podem ser escritas em SQL,
usando as tabelas de dimensão e a tabela de fatos. Porém, uma consulta como “encontre os 5
produtos mais vendidos” exige um esforço extra. Deve-se obter o conjunto dos produtos
vendidos e classificá-lo segundo o número de vendas, extraindo os 5 mais vendidos. Portanto,
embora diversas consultas possam ser respondidas com SQL, algumas exigem muito esforço.
24
Para representar explicitamente a hierarquia de atributos, emprega-se o
esquema floco-de-neve promovendo a normalização das tabelas de dimensão. Embora a
estrutura normalizada torne explícita a hierarquia, ela introduz novas junções entre as tabelas.
Este é um obstáculo ao bom desempenho no processamento de consultas, tornando o esquema
estrela preferível ao esquema floco-de-neve (KIMBALL; ROSS, 2002).
Por fim, é importante enfatizar que diversas são as formas de obter um bom
desempenho no processamento de consultas sobre o DW, frente à existência de operações
custosas de junção entre tabelas e group-bys. São elas:
a) a materialização de visões (HARINARAYAN; RAJARAMAN; ULLMAN, 1996;
GOLFARELLI; MANIEZZO; RIZZI, 2004; RAO, et al., 2003);
b) a fragmentação horizontal ou vertical dos dados em um site ou em diversos sites de um
ambiente distribuído (GOLFARELLI; MAIO; RIZZI, 2000; CIFERRI, C. et al. 2002;
2007; COSTA; MADEIRA, 2004);
c) o particionamento dos dados entre diversos processadores visando o processamento
paralelo (DATTA; MOON; THOMAS, 1998; FURTADO, 2004); e
d) o uso de estruturas de indexação (O’NEIL, P.; GRAEFE, 1995; SARAWAGI, 1997;
JOHNSON; SHASHA, 1997; JÜRGENS; LENZ, 1999; PAPADIAS et al., 2001;
SIQUEIRA et al., 2009a).
2.2 Dados e Consultas Geográficos
Os fenômenos do mundo real que possuem uma localização no globo terrestre
podem ser representados por abstrações em forma de feições geográficas em SGBD espaciais.
Esta representação corresponde ao georreferenciamento. Os dados georreferenciados possuem
elementos não espaciais para descrever nominalmente o fenômeno geográfico (“vulcão”,
“bairro”, “bacia petrolífera” etc.), e componentes espaciais em diferentes níveis de abstração.
Estes componentes informam a localização associada às propriedades
geométricas e topológicas do fenômeno. Por exemplo, uma cidade pode ser representada tanto
pelo seu perímetro (nível mais detalhado), quanto pelo seu ponto central (nível com alta
abstração). Ainda, poderá existir um componente temporal que retrate a data da coleta do
dado. Para um estudo detalhado sobre bancos de dados geográficos e sistemas de informações
geográficas, recomenda-se a leitura de Câmara et al. (1996), Ferrari (1997), Rigaux, Scholl e
Voisard (2002), e Casanova et al. (2005).
Um ponto é a menor unidade possível para representar um objeto espacial, e
caracteriza a inexistência de extensão espacial. Em geral, pontos representam localizações
25
discretas, como uma ocorrência policial num mapa. Uma linha é uma seqüência de pontos
conectados de forma retilínea, enquanto que uma linha poligonal não tem os pontos dispostos
desta forma. Em ambas, cada par de pontos conectados corresponde a um segmento de linha.
Linhas e linhas poligonais são usadas para representar objetos espaciais lineares, como rios,
estradas, ferrovias, e redes de infra-estrutura.
Um polígono é formado por uma seqüência fechada de linhas ou de linhas
poligonais, ou seja, seu último ponto coincide com o primeiro. Polígonos e linhas poligonais
podem ser empregados de forma semelhante, mas em SGBD espaciais podem também diferir
em questões de armazenamento de atributos, como área e perímetro, por exemplo. Os
polígonos complexos, por sua vez, podem permitir buracos ou consistir de diversas partes
disjuntas. Polígonos ou linhas poligonais fechadas são usados para representar objetos
bidimensionais, como a área ocupada por um bairro.
Para obter a documentação completa da especificação dos padrões de dados
geográficos, pode-se consultar o sítio do Open Geospatial Consortium (OPENGIS, 2007). As
formas mencionadas são ilustradas na Figura 6.
Figura 6 Tipos de objetos espaciais.
Todo objeto espacial tem pelo menos um atributo que descreve suas extensão e
localização no espaço Euclidiano d-dimensional (E
d
), ou em algum sub-espaço deste. Tal
atributo é denominado atributo espacial, expresso por o.G, e consiste num conjunto de
coordenadas. Cada uma delas é representada no espaço bidimensional por (x,y), e se refere a
algum tipo de dado espacial. As notações o.Gº e o∂G denotam, respectivamente, o interior e a
fronteira de o.G.
O espaço multidimensional é adequado para a disposição de coordenadas
georreferenciadas, pois representa intuitivamente a dimensão espacial e assim viabiliza o uso
das propriedades geométricas tais como ângulo, área, perímetro, etc. O armazenamento de um
objeto espacial de dimensão não-zero exige a alocação de grande porção de espaço em
26
memória secundária, para acomodar os diversos pares de coordenadas que descrevem a
geometria exata do objeto.
É possível realizar uma variedade de consultas sobre objetos espaciais
dispostos no espaço multidimensional. São tratadas agora as consultas espaciais necessárias
para a compreensão desta dissertação. A range query (RQ), também conhecida como
window query ou rectangle query, busca por todos os objetos que satisfaçam um certo
relacionamento topológico com o retângulo d-dimensional R. Ou seja, θ(o.G, R) = {intersecta,
está contido, contém}. R tem lados paralelos aos eixos de suas respectivas dimensões, consiste
na janela de consulta (JC), e ainda é representado por um conjunto de intervalos
d-dimensionais fechados l={ [l
1
, u
1
], ..., [l
k
, u
k
] }. Neste conjunto, [l
i
, u
i
] descreve a extensão ao
longo da dimensão i, para 1 i k. São analisadas a seguir as três subclasses de RQ, e
exemplificadas na Tabela 1. Todas partem da premissa R E
d
.
a) A intersection range query (IRQ) trata do relacionamento topológico intersecta em RQ.
São encontrados todos os objetos que tenham pelo menos um ponto em comum com R.
Ou seja: IRQ (R, dataset) = { o | o dataset o.G R ≠ };
b) Quando dentre os dados existem pontos, a IRQ se assemelha a containment range
query (CRQ). Esta, por sua vez, trata o relacionamento topológico está contido em uma
RQ. Desta forma, a CRQ encontra todos os objetos o contidos em R. Isto é:
CRQ (R, dataset) = {o | o dataset o.G R = o.G} {o | o dataset o.G R};
c) A enclosure range query (ERQ), por fim, é uma RQ com relacionamento topológico
contém. Nela, são encontrados todos os objetos que englobam R:
ERQ (R, dataset) = { o | o dataset o.G R = R } { o | o dataset o.G R }.
2.3 Data warehouse geográfico e SOLAP
Os Sistemas de Informações Geográficas (SIG) são ferramentas poderosas
usadas na manipulação, consulta, análise e visualização de bancos de dados espaciais
(CÂMARA et al., 1996; FERRARI, 1997; RIGAUX; SCHOLL; VOISARD, 2002;
CASANOVA et al. 2005). A união de SIG aos conceitos de DW/OLAP inspira um modelo de
dados específico para suporte à decisão, com flexibilidade e agilidade de análises
multidimensionais sobre um grande volume de dados, e com o poder da visualização de
mapas e da execução de consultas espaciais (FIDALGO, 2005; BÉDARD; RIVEST;
PROULX, 2007). Todavia, a integração de DW para análise sob os contextos
multidimensional e espacial não é tema consolidado. Prova disso são as inúmeras propostas
27
de modelos para DWG: Stefanovic et al. (2000), Malinowski e Zimányi (2004), Bimonte et al.
(2005), Fidalgo (2005) e Sampaio et al. (2006).
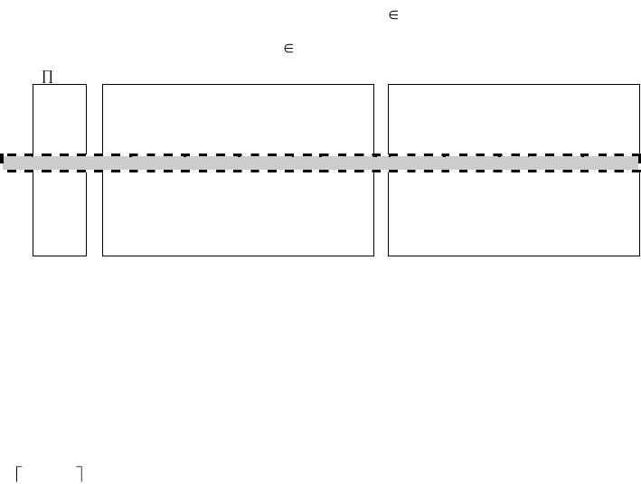
Tabela 1 Consultas espaciais comentadas e exemplificadas.
Consulta / Exemplo
Figura
Intersection range query
Fornecida uma região retangular com a finalidade de
construir um parque, identifique todos os bairros que
terão terras desapropriadas.
A região retangular entrelaçada (janela de
consulta) é onde se pretende construir o parque. Os
polígonos são os bairros, sendo que os polígonos na
cor cinza intersectam a janela de consulta e fazem
parte da resposta. Os polígonos na cor branca não
intersectam a janela de consulta, portanto não são
parte da resposta.
Containment range query
Fornecida uma região retangular sobre uma cidade,
recupere as instituições de ensino nela contidas, bem
como os bairros.
A região retangular cinza tem coloridas em preto
as instituições nela contidas. O único bairro contido
por ela está destacado com listras. As instituições que
não fazem parte da resposta têm cor cinza, e os
bairros não recebem cor de destaque (exceto onde a
janela de consulta os sobrepõe).
Enclosure range query
Fornecida uma região retangular que intersecta um
rio, encontre a bacia hidrográfica a que ele pertence.
A janela de consulta (JC) retangular (cinza escuro)
intersecta um rio (linha), e por isso toda a bacia
hidrográfica é colorida em um tom de cinza mais
claro.
Apesar das peculiaridades de cada um, OLAP e SIG convergem quando o foco
é suporte à decisão. Esta interseção é especialmente relevante porque existem muitos dados
no ambiente de DW/OLAP que possuem natureza geográfica, mas não são devidamente
28
tratados dentro de um contexto espacial. Já os SIG, intrinsecamente, não provêm suporte para
análise multidimensional de dados, o que acrescentaria mais qualidade às decisões a serem
tomadas no âmbito de aplicações geográficas. Embora a integração de SIG, OLAP e DW
pareça natural, na prática isto não ocorre porque cada um deles foi criado para tarefas
diferentes, e porque possuem dados, metadados e serviços que não são diretamente integrados
(FIDALGO, 2005; BÉDARD; RIVEST; PROULX, 2007).
A integração SIG, OLAP e DW pode promover consultas analíticas sobre o
comportamento do negócio, segundo o ponto de vista geográfico. Desta forma, é possível
responder com qualidade a questões do tipo “o que?”, “quem?” e “onde?”. São exemplos de
consultas analíticas:
a) “qual o total da receita obtida por ano, por nome do fornecedor, e por categoria do produto
para aqueles fornecedores situados dentro de uma área definida ad-hoc?”;
b) “qual o melhor local para abrir uma nova filial de fornecimento, levando em consideração
os endereços dos meus 500 melhores clientes nos semestres e trimestres de 2003?”;
c) “qual a receita total obtida em províncias cruzadas por pelo menos um rio?”;
d) “quem são os meus cem melhores clientes num raio de 5 km da matriz?”;
e) “onde moram os clientes que gastaram mais de R$5.000,00 por fornecedor por ano?”.
Um DW que armazena dados espaciais em uma ou mais dimensões ou em pelo
menos uma medida é denominado Data Warehouse Geográfico (DWG). Ele possui forte
ênfase em dados geográficos, os quais se apresentam sob a forma de dimensões ou fatos
(STEFANOVIC et al., 2001; MALINOWSKI; ZIMÁNYI, 2004; FIDALGO et al., 2004;
RIZZI et al., 2006; BÉDARD; RIVEST; PROULX, 2007).
Esta dissertação usa os conceitos descritos por Stefanovic et al. (1997; 2000),
Fidalgo et al. (2004), Malinowski e Zimányi (2005). O esquema estrela é considerado uma
boa opção para modelar um DWG, porque provê uma estrutura de armazenamento concisa e
organizada, além de facilitar as operações SOLAP (STEFANOVIC et al., 1997; 2000). Para
alcançar um bom desempenho em SOLAP, tais autores propõem extensões ao esquema estrela
tradicional: as tabelas de dimensão e as medidas podem ser espaciais ou não-espaciais.
Uma tabela de dimensão espacial não-geométrica mantém dados
geográficos descritivos sobre a localização de um objeto espacial, mas nenhum dado
geográfico possui geometria associada. Por exemplo, descrições nominais de endereços,
nomes de cidades, nomes de nações, etc. Por sua vez, a tabela de dimensão estritamente
espacial define todos os níveis da hierarquia de atributos espaciais como feições geométricas.
Por exemplo, pontos expressando endereço, polígonos expressando cidades, nações e regiões.
29
As medidas numéricas contêm apenas dados numéricos, conforme discutido (tais como
população e área). Já as medidas espaciais são constituídas de uma coleção de ponteiros para
objetos geográficos (Stefanovic et al., 1997; 2000). Esta dissertação não enfoca medidas
espaciais, mas sim o tratamento de dados espaciais nas tabelas de dimensão de um esquema
estrela. Para melhor conhecer o tratamento de medidas espaciais, recomenda-se a leitura de
Stefanovic, Han e Koperski (2000), Malinowski e Zimányi (2004), Bimonte et al. (2005),
Silva et al. (2008).
Nesta dissertação, foram consideradas apenas hierarquias espaciais simples
simétricas (MALINOWSKI; ZIMÁNYI, 2005), com o relacionamento espacial está contido.
Assim, os objetos espaciais dos níveis de granularidade mais altos contêm aqueles objetos dos
níveis mais baixos. Nesta classe de hierarquia, e com este relacionamento espacial, um objeto
pertencente a um nível de granularidade inferior não pode estar contido em mais que um
objeto de um nível superior. Todo objeto que não é do nível mais baixo de granularidade
contém pelo menos um objeto de um nível inferior. Um exemplo de hierarquia desta classe
determina Nação como sendo o nível superior, Cidade como sendo um vel intermediário e
Endereço como sendo o nível inferior. É muito importante salientar que as hierarquias
espaciais estão intimamente ligadas às operações roll-up e drill-down espaciais, ou seja,
operações SOLAP de agregação de dados. Para conhecer outras classes de hierarquias,
recomenda-se a leitura de Malinowski e Zimányi (2005).
2.3.1 Modelos existentes para data warehouse geográfico
Esta seção aborda os principais modelos conceituais e lógicos propostos para
DWG e presentes na literatura. O primeiro framework para DWG foi proposto por Stefanovic
et al. (1997; 2000), provendo suporte a tabelas de dimensão e medidas espaciais. Foram ainda
desenvolvidos algoritmos eficientes para construir os cubos de dados geográficos. A solução
fundamentou-se na materialização seletiva do conjunto de objetos espaciais, levando em
consideração a freqüência de acesso desse conjunto, o custo de armazenamento, e o benefício
que o mesmo trará para a construção de outros cubos geográficos derivados desse conjunto.
Sampaio et al. (2006) reusaram este framework para a proposição de um modelo lógico de
DWG, posteriormente validado no SGBD Oracle.
Malinowski e Zimányi (2004) estenderam o modelo de Stefanovic et al. (1997;
2000), e criaram um modelo multidimensional conceitual baseado no modelo Entidade-
Relacionamento. Nele, as dimensões espaciais podem existir mesmo na ausência de alguns
níveis da hierarquia de relacionamento de atributos espaciais. Isto é, cidade pode ser uma
30
dimensão espacial sem qualquer outra subdivisão geográfica. No mapeamento para o modelo
lógico, podem ser obtidos esquemas similares ao esquema floco-de-neve, mas que mantém
atributos espaciais. Os esquemas resultantes podem compartilhar dimensões espaciais, pois no
nível conceitual de abstração é possível reusar hierarquias e evitar repetições desnecessárias
das representações dos objetos geográficos. Por outro lado, o processamento de consultas tem
o custo da computação de várias junções somado ao do cálculo do predicado espacial.
Bimonte, Tchounikine e Miquel (2005) propuseram e formalizaram um
modelo multidimensional espacial contemplando a existência de medidas espaciais, de
relacionamentos N:N entre tabelas fatos e tabelas de dimensão, e de suporte a funções de
agregação ad-hoc. Uma medida espacial é modelada como uma entidade complexa e
composta por um conjunto de atributos espaciais e alfanuméricos. Logo, a medida atua não
como um valor quantitativo atômico e independente, e sim como objeto complexo com
atributos. A dependência semântica entre atributos determina que a mudança de uma função
de agregação para um atributo implique na mudança da agregação para os demais
dependentes. Por exemplo, se união geométrica determina soma do número de endereços de
fornecedores, interseção geométrica pode implicar a diferença.
Bimonte, Tchounikine e Miquel (2006) trouxeram melhoramentos ao modelo
anteriormente proposto. Um deles foi o tratamento simétrico de dimensões e medidas. Isto
tornou viável transformar uma dimensão em uma medida e vice-versa, alterando a semântica
da análise. Formalizou-se também uma álgebra que redefine os operadores OLAP mais
comuns para navegação pelo hipercubo, tais como roll-up e slice.
O uso de medidas espaciais é contestado por Fidalgo, Times e de Souza (2004)
e Fidalgo (2005). Ambos refutam a sua adoção, pois argumentam que em todo DW cada
medida é um valor quantitativo, e não uma coleção de ponteiros. A implementação desta
coleção em forma de texto delimitado exigiria um processamento adicional, podendo
inclusive aumentar a complexidade de computação para obter os valores da medida.
Argumenta-se ainda que resultados semelhantes podem ser obtidos pelo uso de dimensões
espaciais, dispensando as medidas. Além disso, tais autores argumentam que a redundância
dos dados espaciais pode afetar negativamente a capacidade de armazenamento. Os
mencionados autores, contudo, não realizaram experimentos a fim de atestar este fato.
Claramente, controvérsias sobre a representação do hipercubo espacial no
modelo relacional. Uma proposta de uma estrutura de indexação para DWG deve atentar para
este fato, e assim selecionar a representação adequada para a qual proverá suporte. Outros
trabalhos propostos não definem um verdadeiro DWG, porque a manipulação de dados
31
convencionais é feita no DW, enquanto os dados espaciais são manipulados no SIG. Este
último, muitas vezes, armazena os dados em arquivos de padrão proprietário: SHP no ESRI
ArcGIS (SHAPEFILE, 1998) e MIF no MapInfo (MAPINFO, 2005). Outros trabalhos
consideram como DWG um volumoso banco de dados geográficos, ou quando é requerida a
integração ou agregação de dados geográficos, ou no emprego de dados geográficos para
suporte à decisão. Porém, tais usos não são admitidos no contexto desta dissertação.
2.4 Estruturas de indexação
Índices são estruturas de acesso auxiliares usadas para aumentar o desempenho
da recuperação de registros na resposta a certas condições de busca. Uma estrutura de
indexação oferece caminhos alternativos de acesso a registros sem alterar a organização física
dos dados (ELMASRI; NAVATHE, 2005), e possibilita selecionar e recuperar os registros
que satisfazem às condições de consulta segundo uma chave de busca (RAMAKRISHNAN;
GEHRKE, 2002), a qual consiste num conjunto arbitrário de atributos. Um índice permite
encontrar um registro consultando apenas uma pequena fração de todos os registros possíveis
(GARCIA-MOLINA; ULLMAN; WIDOW, 2000), pela imposição de uma ordem de acesso
sem de fato reordenar os registros (FOLK; ZOELLICK, 1992). Quaisquer atributos de uma
relação podem ser usados para criar um índice.
Comumente as estruturas de indexação crescem em volume, exigindo que seu
armazenamento seja feito em memória secundária. Freqüentemente isto se realiza em disco.
Os custos no armazenamento secundário estão relacionados à busca de uma determinada
localização em disco. Uma vez posicionada, a cabeça de leitura pode processar um fluxo
contíguo de bytes rapidamente. É uma combinação de busca lenta e transferência de dados
rápida (FOLK; ZOELLICK, 1992).
Geralmente, os registros de um índice são menores que aqueles do arquivo de
dados, porque possuem menos atributos (normalmente um valor de chave, um ponteiro e
nenhum ou poucos outros atributos relevantes para a busca), mas podem também ocupar
diversos blocos. Sendo assim, mesmo com estratégias de busca eficientes, podem ser
necessários vários acessos a disco para obter o registro desejado. A modificação dos dados
por meio de inserções, eliminações e atualizações implica, em certos casos, em reorganização
custosa do índice e no gerenciamento do espaço extra concedido ao armazenamento (blocos
de overflow).
As estruturas de indexação convencionais, como B-tree e Hash (FOLK;
ZOELLICK, 1992; GARCIA-MOLINA; ULLMAN; WIDOW, 2000; RAMAKRISHNAN;
32
GEHRKE, 2002; ELMASRI; NAVATHE, 2005) assumem uma única chave de busca e
auxiliam a recuperação de registros de acordo com os valores dela. Índices assim
caracterizados possuem apenas uma dimensão, seja a chave de busca um único atributo ou
uma concatenação deles. Aplicações OLAP e geográficas exigem a visualização de dados em
espaços com duas ou mais dimensões. Por isso, se diferenciam dos SGBD tradicionais pelo
suporte a certos tipos de consultas.
O espaço multidimensional é o domínio utilizado pelos métodos de acesso
multidimensionais (MAM) (GAEDE; GÜNTHER, 1998) para indexar elementos com
dimensionalidade. Como antecipado na Seção 2.2, o armazenamento de todos os pares de
coordenadas de um objeto espacial é custoso. Por outro lado, existem aproximações
(abstrações) dos objetos espaciais para representar suas geometrias. As aproximações
asseguram, por sua propriedade conservativa, que nenhum dos objetos espaciais que satisfaz a
um certo relacionamento espacial seja desconsiderado na resposta da consulta.
A aproximação mais utilizada é o retângulo envolvente mínimo (MBR
Minimum Bounding Rectangle), que consiste no menor retângulo d-dimensional com lados
paralelos aos eixos, e que contém completamente o objeto espacial. Em um espaço
multidimensional, esta aproximação consiste em quatro pares de coordenadas: (X
mín
, Y
mín
),
(X
mín
, Y
máx
), (X
máx
, Y
mín
) e (X
máx
, Y
máx
), nas quais X
mín
e Y
mín
são os menores valores das
coordenadas X e Y do retângulo, respectivamente, e X
máx
e Y
máx
são os maiores destes valores. A
área vazia que não faz parte da geometria, mas que pertence à aproximação, chama-se dead
space. Se esta área for considerada no teste de um relacionamento espacial, o objeto espacial
correspondente é um falso candidato, porque não satisfaz ao citado relacionamento espacial.
Devido a esta imprecisão no conjunto de respostas, o processamento de
consultas espaciais nos MAM exige a filtragem e o posterior refinamento das respostas. Na
primeira, objetos que não satisfazem a um relacionamento espacial são descartados e, devido
ao uso de aproximações, surgem falsos candidatos. Esta fase é pouco custosa, graças à
manipulação de geometrias simples. No refinamento, cada objeto candidato passa pela
verificação que testa se o mesmo obedece ao relacionamento espacial, descartando assim os
falsos. Como trata das geometrias exatas dos objetos espaciais, esta fase é mais custosa, pois,
embora o volume de dados seja menor, os cálculos são mais complexos e requerem a
recuperação de dados armazenados em disco (BRINKHOFF et al., 1994).
Portanto, a filtragem deve reduzir drasticamente a quantidade de objetos a
serem analisados na fase de refinamento, para que se obtenham ganhos expressivos em
desempenho. Aproximações progressivas, que consistem em subconjuntos de pontos do
33
objeto espacial, podem ser usadas para validar candidatos numa fase intermediária entre a
filtragem o refinamento, dispensando que alguns dos candidatos verdadeiros sigam ao
refinamento. Existem ainda aproximações mais precisas que o MBR, embora mais custosas
em armazenamento, tais como o convex hull e o 5C (BRINKHOFF; KRIEGEL;
SCHNEIDER, 1993).
A Seção 2.4.1 discorre sobre um MAM popularizado dentre os SGBD com
suporte a objetos espaciais e de reconhecida eficiência: R-tree.
2.4.1 R-tree
A R-tree (GUTTMAN, 1984) é um MAM baseado na B-tree que provê
suporte a consultas no espaço multidimensional, tais como range queries (RQ). A R-tree
constrói uma hierarquia com os MBR dos objetos espaciais. A ineficiência dos demais MAM
com relação ao tratamento de paginação em memória secundária, e ao desempenho na
manipulação de grandes bancos de dados, foram os fatores que motivaram a proposição desta
estrutura e que também justificaram sua popularização. A R-tree é usada para a indexação de
objetos espaciais armazenados em memória secundária, e cada nodo corresponde a
exatamente uma página de disco.
A R-tree possui dois tipos de nodos: folha e interno. A sua estrutura
balanceada assegura que os nodos folha estejam sempre no mesmo nível. Todo nodo,
independentemente de seu tipo, possui espaço para M entradas e armazena obrigatoriamente
um número mínimo m de entradas (com m M/2). O parâmetro m pode ser ajustado com o
intuito de melhorar o desempenho da R-tree. O nodo raiz possui pelo menos dois filhos
(exceto se for folha), sendo o único que pode ter menos que m entradas. A
Como se na Figura 7, a interseção de MBR diferentes em um mesmo nível
da árvore pode não ser vazia. Quando isto ocorre, diz-se que os nodos correspondentes estão
indexando a mesma “porção” do espaço naquela região da intersecção. Este é o caso do par de
nodos internos (R
3
, R
4
), e do par de nodos folha (r
2
, L
6
), por exemplo.
Tabela 2 demonstra as características dos nodos internos e folhas. Exibe-se um
exemplo de R-tree na Figura 7. Sua estrutura de dados é ilustrada na Figura 8.
Como se na Figura 7, a interseção de MBR diferentes em um mesmo nível
da árvore pode não ser vazia. Quando isto ocorre, diz-se que os nodos correspondentes estão
indexando a mesma “porção” do espaço naquela região da intersecção. Este é o caso do par de
nodos internos (R
3
, R
4
), e do par de nodos folha (r
2
, L
6
), por exemplo.
Tabela 2 Caracterizações dos nodos internos e folhas de uma R-tree.
34
Nodos internos
Nodos folha
Possui entre m e M filhos, exceto se for raiz.
Para cada entrada <ptr, MBR>, MBR é o menor
retângulo que envolve os retângulos do nodo filho
apontado por ptr.
Para cada entrada <id, MBR>, MBR é o
menor retângulo que envolve o objeto espacial
identificado por id.
Espaço euclidiano bidimensional
Figura 7 Exemplo de R-tree, com pontos, linhas e polígonos envolvidos por seus respectivos MBR.
Nas duas próximas subseções são tratados os algoritmos de inserção e de busca
sobre a R-tree. Considerando que a presente dissertação propõe uma estrutura de indexação
para DWG, e que os dados num DWG não sofrem eliminações, não será abordado aqui o
algoritmo de remoção da R-tree.
Figura 8 Estrutura de dados da R-tree exemplificada na Figura 7.
35
2.4.1.1 Algoritmo de inserção
Similarmente à B-tree, todo novo objeto deve ser inserido nas folhas da R-tree,
e a raiz deve emergir. O objetivo é minimizar a área total ocupada pelos MBR das entradas de
cada nodo interno, a fim de reduzir a possibilidade de interseção da janela de consulta com os
MBR das entradas de um nodo interno. Esta medida visa prevenir a ramificação do percurso
inicial de busca.
Considerando uma árvore que possui apenas o nodo raiz, os objetos são
inseridos até que a raiz fique totalmente cheia. Uma inserção com a raiz cheia causará a
divisão da raiz em dois nodos. Os objetos são re-arranjados nestes dois nodos, respeitando o
parâmetro m. Em seguida, calcula-se o MBR destes dois novos nodos. Os dois MBR mais um
ponteiro para cada um dos respectivos nodos são inseridos em uma nova raiz, a qual emerge.
Depois que a raiz foi dividida, sempre que novos objetos são inseridos, um
algoritmo de três passos guia o processo. No primeiro passo, a estrutura é percorrida a partir
da raiz, seguindo pelos nodos internos cujos MBR sofrerão o menor aumento de área caso um
de seus nodos folha venha a receber o novo objeto. Em caso de empate, escolhe-se a entrada
cujo MBR tem a menor área. Este processo é realizado até atingir um nodo folha.
Se o nodo folha mantiver um máximo de M-1 entradas, então espaço para
alocar o objeto no nodo. O segundo passo consiste em fazer a verificação e a alocação. Se não
houver o espaço, o nodo deve ser particionado. O particionamento produz uma nova folha e
distribui as M+1 entradas entre os dois nodos, de modo a respeitar o parâmetro m.
No terceiro passo, propagam-se as atualizações dos MBR das entradas aos
nodos de níveis superiores e os efeitos do particionamento da folha, se este ocorrer. Logo,
percorre-se o caminho inverso na árvore. A criação de uma nova folha implica na criação de
uma nova entrada no nodo imediatamente superior. Este nodo poderá ter sua capacidade
excedida, exigindo o seu particionamento. Isto requer atualizar os MBR das entradas dos
nodos superiores. Sucessivamente, tal processo pode atingir até a raiz.
Para alcançar o objetivo de minimizar a área total ocupada pelos MBR das
entradas de cada nodo interno, Guttman (1984) propôs três algoritmos distintos para executar
o particionamento. O primeiro, exaustivo, investiga todas as possibilidades de agrupamento e
encontra a melhor distribuição possível, mas tem custo exponencial em M. O segundo,
quadrático, encontra uma área total pequena, mas não a menor possível, e tem complexidade
quadrática. O último, linear, possui complexidade linear no número de entradas e de
dimensões, mas nem sempre assegura encontrar uma pequena área total.
36
2.4.1.2 Algoritmos de busca
O algoritmo básico de busca da R-tree é voltado ao suporte de intersection
range query (IRQ). O percurso no índice é top-down, similar ao da B-tree. Para todo nodo
interno visitado, cada entrada passa por um teste que verifica se seu MBR intersecta a janela
de consulta (JC). O percurso procede pelos nodos em que este relacionamento é satisfeito,
visitando os nodos filhos. Assim, várias sub-árvores podem ser visitadas, gerando
ramificações no percurso inicial. Alcançado um nodo folha, as entradas deste também passam
pelo mesmo teste. Então, o percurso é encerrado, possibilitando colecionar um subconjunto do
resultado da busca. Este resultado consiste num conjunto de objetos espaciais cujos MBR
satisfazem o relacionamento de interseção com a JC.
A ramificação do percurso inicial aumenta o número de caminhos de busca e,
conseqüentemente, o número de visitas a nodos. Isto constitui forte restrição ao desempenho
do algoritmo básico de busca, devido à necessidade de recuperação de diversas páginas de
disco. Contudo, os mecanismos de otimização junto dos algoritmos de inserção e remoção de
dados da R-tree são capazes de atenuar os prejuízos causados. Essas otimizações possibilitam
que o algoritmo de busca torne-se livre de regiões irrelevantes do espaço multidimensional
indexado, para que o percurso visite poucos nodos próximos à JC.
Caso a JC intersecte os MBR pertencentes a um grande número de entradas de
um determinado nodo interno, a ramificação será acentuada. Isto ocorre sob três
circunstâncias (CIFERRI, R., 2002):
a) na sobreposição entre os MBR das entradas de um nodo interno (Figura 9a);
b) no armazenamento de MBR grandes em relação ao espaço total indexado (Figura 9b); e
c) na escolha de uma JC abrangente em relação ao espaço total indexado (Figura 9c).
(a) Sobreposição de MBR
(b) Armazenamento de MBR grandes
(c) Janela de consulta abrangente
Figura 9 Casos que levam à ramificação do percurso na R-tree.
O primeiro caso (Figura 9a) leva à ramificação do percurso caso a JC englobe
parte de uma área onde há intersecção de MBR referentes a entradas da R-tree. A ramificação
E
1
E
2
E
3
JC
E
1
E
2
JC
E
3
JC
E
2
E
3
E
1
37
ocorre somente para as entradas cujos MBR pertencem à área comum. Em especial, quanto
maior o número de entradas participantes da área comum, mais degradado será o desempenho.
Portanto, um alto número de sobreposições e uma grande área sobreposta aumentam a
possibilidade de ramificação. Como a R-tree é uma estrutura dinâmica, é impossível evitar a
sobreposição entre os MBR das entradas de nodos internos. Este caso é o mais comum, e tem
particular relevância em bancos de dados que armazenam objetos de tamanhos variados
(pequenos e grandes). Na Figura 9a, a JC intersecta a área comum de duas entradas: E
1
e E
2
.
A segunda circunstância, sobre armazenar MBR grandes em relação ao espaço
total indexado (Figura 9b), proporciona ramificação. A intersecção da JC e o MBR da entrada
de um nodo interno é influenciada pelo tamanho deste MBR. Logo, quanto maior a área
ocupada pelo MBR, maior a chance desta intersecção ocorrer. Um MBR grande pode ser
gerado inserindo-se objetos espaciais extensos ou devido à alocação imprópria de um ou mais
objetos em um mesmo nodo folha. Esta circunstância havia sido antecipada por Guttman
(1984), o qual aprimorou os pontos de otimização do algoritmo de inserção no sentido de
reduzir a área total representada por um ou mais MBR.
Na terceira situação, quando uma JC abrangente, fica praticamente
inevitável a ocorrência de várias intersecções entre a JC e os MBR das entradas de um nodo
interno. Deste modo, os pontos de otimização são suprimidos. Isto é ilustrado na Figura 9c.
Por meio de adaptações, o algoritmo básico de busca passa a prover suporte a
CRQ. Logo, a intersecção da JC com o MBR de um nodo interno significa que pode ser
verdadeiro o relacionamento espacial está contido entre a JC e o MBR de algum objeto
espacial alcançável a partir da entrada analisada. Portanto, o percurso deve obrigatoriamente
se estender até os nodos folha. Conforme mostrado na Figura 10a, só é possível determinar se
o
1
e o
3
estão contidos na JC checando-os no nodo-folha. O mesmo acontece com o
1
na Figura
10b. Por outro lado, conclui-se que o relacionamento intersecta colabora decisivamente para
eliminar os testes sobre o
2
na Figura 10a, e o
2
e o
3
na Figura 10b.
Figura 10 Relacionamentos de (a) inclusão e (b) interseção para nodos internos da R-tree.
38
Da mesma forma, pode-se prover suporte à ERQ. Nela, em geral, é
desnecessário descer até os nodos folha. O fato do MBR da entrada de um nodo interno não
englobar a JC elimina qualquer possibilidade de um MBR de objeto espacial alcançável a
partir desta entrada conter a JC. Por outro lado, se o MBR de um nodo interno engloba a JC,
não obrigatoriamente haverá um MBR que contém a JC. Logo, pode ser necessário descer até
os nodos folha. Na Figura 11 observa-se que o MBR da entrada de um nodo interno: (a)
contém a JC e também possui um MBR de objeto espacial que contém a JC; (b) não possui
nenhum MBR que contém a JC, apesar da entrada conter a JC; (c) não contém a JC e,
portanto, não mantém nenhum MBR cujo objeto espacial possa conter a JC. Em todos os
casos, todas as entradas são testadas para verificar quais delas contêm a JC.
O fato da R-tree empregar aproximações exige, para IRQ e ERQ, que a
representação exata dos objetos espaciais seja acessada para a verificação da validade do
relacionamento espacial. Isto porque alguns objetos espaciais pertencentes à resposta de uma
busca podem ser falsos candidatos: a interseção da JC com o MBR do objeto pode acontecer
apenas sob a área de dead space (em uma IRQ), ou a janela de consulta pode estar contida
pelo dead space (em uma ERQ).
Figura 11 Diferentes casos do relacionamento de inclusão (contém).
2.5 Considerações Finais
Enquanto para DW o modelo multidimensional conceitual e o modelo lógico
são consolidados, o mesmo não se pode dizer sobre o DWG. A integração dos dados espaciais
oriundos de SIG sob o contexto multidimensional e relacional tem motivado diferentes
trabalhos. o consenso sobre a definição do que é uma medida espacial, diferentemente
do que ocorre com uma medida em um DW convencional. Por um lado, os modelos
conceituais para DWG proporcionam flexibilidade e buscam conferir as mesmas
características do OLAP tradicional ao SOLAP. Por outro lado, estes modelos não são
imediatamente operacionais, e lhes falta validação por meio de uma implementação adequada.
Permanece em aberto a criação de métodos eficientes que possam diminuir o tempo de
39
resposta no processamento de consultas sobre DWG. Nesta dissertação, o foco foi direcionado
à indexação.
B-tree e hashing são índices comprovadamente eficientes e empregados pelos
SGBD, em OLTP. Todavia, igualmente importante é frisar que ambos o são adequados ao
caso espacial. Por isso, foi descrita a R-tree, que consiste na estrutura mais referenciada e
utilizada com a finalidade de indexar dados espaciais. Ela indexa dados multidimensionais
usando aproximações retangulares (MBR) dos objetos espaciais. Ainda, apesar de sua
robustez (grande parte dela herdada da B-tree) e de suas vantagens, Beckmann et al. (1990)
propuseram a R*-tree visando diminuir a sobreposição de áreas cobertas por nodos da árvore.
Outros índices derivados de R-tree foram propostos criando a principal família de índices para
dados espaciais: R+-tree (SELLIS, ROUSSOPOULOS; FALOUTSOS, 1987), R*-tree
(BECKMANN et al., 1990), Parallel R-tree (KAMEL; FALOUTSOS, 1992) e Hilbert R-tree
(KAMEL; FALOUTSOS, 1994), dentre outras. É válido ressaltar que a estrutura da R-tree foi
utilizada por Papadias et al. (2001) para propor um índice para DWG denominado aR-tree.
Maiores detalhes sobre a aR-tree se encontram na Seção 3.4.
40
3. TRABALHOS CORRELATOS
O tipo e a complexidade das consultas, o enorme volume de dados armazenado
no DW e a predominância de consultas em relação a operações de atualização são fatores que
tornam inadequadas para DW as técnicas de indexação projetadas para SGBD tradicionais e
ambientes OLTP. Por exemplo, os trunfos do índice B-tree são a sua estrutura dinâmica, além
de seu bom desempenho e estabilidade diante de sucessivas operações de atualização.
Todavia, estas características são irrelevantes num DW (WU, M.; BUCHMANN, 1998). Por
outro lado, esses fatores mencionados enfatizam a importância do eficiente processamento de
consultas em um ambiente OLAP, motivando a criação de estruturas de indexação que
aperfeiçoem seu desempenho.
Segundo Sarawagi (1997), a estrutura multidimensional do DW e a grande
quantidade de atributos nas tabelas de dimensão de um esquema estrela induzem à adaptação
da R-tree. Considerando que o hipercubo geralmente é esparso e que suas regiões densas
geralmente têm forma de retângulo, a R-tree pode ser construída criando nodos das regiões
densas do hipercubo (que contêm mais que um limiar de pontos em seu interior), e nodos para
pontos em regiões esparsas. Apenas os limites dos retângulos das regiões densas são
armazenados no índice, e os pontos em seu interior ficam num vetor multidimensional à parte.
Encontrar grupos densos é uma tarefa que pode ser realizada pelo próprio
administrador do DW, ou pela aplicação de algoritmos de agrupamento (clustering) adaptados
para reunir retângulos. Cada entrada de grupo denso na R-tree mantém seu retângulo e um
ponteiro para um vetor de comprimento variável. Sobre o vetor podem ser aplicadas técnicas
de agrupamento para melhorar a sua organização espacial e evitar a disposição linear. Deve-se
ressaltar que, originalmente, a R-tree foi projetada para indexar dados espaciais com duas e
três dimensões, preferencialmente.
A aR-tree (PAPADIAS et al., 2001) é um índice para DWG baseado na R-tree
que mantém em suas entradas os valores gerados pela função de agregação sobre uma medida
da tabela de fatos. Este índice se beneficia do algoritmo de particionamento do espaço da R-
tree a fim de criar hierarquias ad-hoc entre os objetos espaciais. Papadias et al. (2002)
modelam as dimensões espacial e temporal de um DWG em uma mesma dimensão
combinada no hipercubo. Para tanto, integram a indexação espaço-temporal com pré-
agregação de medidas, sob uma implementação de múltiplas árvores B-tree e R-tree. O
resultado foi a criação de dois novos índices: a3DR-tree e aRB-tree.
41
Deve-se frisar que os métodos de acesso multidimensionais são eficientes
apenas em determinados tipos de consulta, e m seu desempenho degenerado se existem
numerosas dimensões (por exemplo, para mais que 10 dimensões) e se predicados envolvem
múltiplos atributos, requerendo o produto cartesiano das chaves envolvidas (SARAWAGI,
1997). Além disso, a estrutura dinâmica e o bom desempenho e estabilidade diante das
operações de atualização, proporcionados pela R-tree, também são irrelevantes no DW.
O Índice Bitmap, por outro lado, é uma estrutura de indexação para DW cujo
desempenho não degenera em grande escala mesmo quando há muitas tabelas de dimensão no
esquema estrela (O’NEIL, P.; GRAEFE, 1995; SARAWAGI, 1997; O'NEIL, P.; QUASS,
1997; GOYAL; ZAVERI; SHARMA, 2006; O’NEIL, E.; O’NEIL, P.; WU, K., 2007). Sua
vantagem reside em manipular vetores que usam a menor unidade de informação, o bit, por
meio de operações lógicas que são auxiliadas pelo hardware. Porém, atributos cujos domínios
possuem muitos valores distintos deterioram a eficiência do Bitmap. No entanto, as técnicas
de binning, compressão e codificação são propostas justamente para atenuar estes efeitos
negativos (WU, K.; OTOO; ARIE, 2006; STOCKINGER; WU, K., 2007; WU, K.;
STOCKINGER; SHOSHANI, 2008). Embora o Índice Bitmap constitua um método de
acesso promissor, não foi encontrado, na literatura consultada, nenhum registro de seu uso em
DWG. Neste Capítulo são tratados índices para DW e para DWG, partindo das premissas
anteriores. Nas Seções 3.1, 3.2 e 3.3 são descritos índices para DW: o Índice de Projeção, o
Índice Bitmap e o software FastBit, respectivamente. Nas Seções 3.4 e 3.5 discorre-se sobre
índices para DWG: aR-tree, a3DR-tree e aRB-tree. Na Seção 3.6 são feitas considerações
finais.
3.1 Índice de Projeção
Um Índice de Projeção (O’NEIL, P.; QUASS, 1997) sobre a coluna X de uma
tabela T consiste em uma seqüência de valores de X ordenadas segundo a numeração das
tuplas em T. Espaços vagos podem existir se números não são utilizados, e valores duplicados
podem ocorrer na estrutura. O Índice de Projeção difere do particionamento vertical porque
conserva a ordem das tuplas e não elimina tuplas replicadas, que pode ser construído para
um atributo não chave. Na Figura 12a exibe-se uma fração dos dados da tabela de dimensão
fornecedor, do esquema estrela exemplificado na Figura 5 (Capítulo 2). na Figura 12b está
disposto o Índice de Projeção para o atributo nacao.
Com as tuplas numeradas de 0 a n, o valor de X em uma delas é facilmente
calculado a partir de n, e vice-versa. Por exemplo, supondo que uma página de disco pode
42
alocar 1000 valores de X, é possível acessar um valor X = x em sua página p e slot s em disco
pelo cômputo de p = n ÷ 1000 e s = n MOD 1000, respectivamente. E, dado um valor X = x
em uma posição do índice, obtém-se a posição da tupla por n = 1000 × p + s. Por slot,
entende-se uma porção de espaço no disco rígido que pode ser endereçada.
fornecedor_pk
endereco
cidade
nacao
regiao
nacao
1
A
Tam Ky
Vietnã
Ásia
Vietnã
2
B
Bordeaux
França
Europa
França
3
C
Craiova
Romênia
Europa
Romênia
4
D
Thessa
Argélia
África
Argélia
5
E
Oran
Argélia
África
Argélia
(a) Tabela de dimensão: fornecedor.
(b) Índice de Projeção: nacao.
Figura 12 Uma tabela de dimensão e um Índice de Projeção para um de seus atributos.
Podem-se adiantar, aqui, dois fatos sobre o Índice de Projeção:
a) ele é empregado para armazenar os dados de forma vertical pelo software FastBit, o qual
é tratado na Seção 3.3; e
b) sua estrutura foi adaptada para dar origem à estrutura de dados do índice apresentado
nesta dissertação, o SB-index.
3.2 Índice Bitmap
A origem do Índice Bitmap não possui relação com DW e OLAP. De fato, ele
antecede inclusive os sistemas de banco de dados relacionais. Em seu princípio, era tido como
uma forma de arquivo invertido (KNUTH, 1998). Seu nome se popularizou da forma que se
conhece atualmente a partir dos trabalhos de O’Neil, P. et al. (1995; 1997). Também foram
estes que introduziram o Índice Bitmap para uso em OLAP. Jürgens e Lenz (1999)
observaram que este índice tende a superar o desempenho de estruturas baseadas em árvores
(como é o caso da R-tree), devido à evolução na tecnologia de discos rígidos.
Um Índice Bitmap sobre a coluna X de uma tabela consiste em uma seqüência
ordenada de valores de chave, representando os valores distintos que a coluna pode assumir.
Cada valor de chave é associado a um vetor de bits, que especifica o conjunto de linhas na
tabela em que a coluna X assume aquele valor. Todo vetor possui tantos bits quantas são as
linhas na tabela. O i-ésimo bit no vetor é fixado em 1 se o valor de X na i-ésima tupla da
tabela é igual ao valor de chave do vetor associado, e em 0 caso contrário.
Para mapear o valor inteiro que determina a posição de um bit do vetor no
endereço efetivo da tupla, usa-se um identificador para ela. O identificador é um número
inteiro capaz de indicar a página e a porção de espaço em disco onde a tupla se aloca, de
forma análoga ao índice de projeção. Se as tuplas possuem tamanhos variáveis, fixa-se a
quantidade de tuplas que podem existir em uma página de disco.
43
No contexto de um DW, o Índice Bitmap pode ser criado para evitar a
computação de junções intrínsecas do esquema estrela, as quais ocorrem entre tabelas de
dimensão e a tabela de fatos. Este é o Índice Bitmap de Junção (IBJ) (O’NEIL,P.; GRAEFE,
1995), que relaciona os valores de um ou mais atributos de uma tabela de dimensão às tuplas
correspondentes na tabela de fatos (CHAUDHURI; DAYAL, 1997).
Considere-se o esquema estrela da Figura 13a para os exemplos de IBJ nas
Figuras 13b e 13c, e que um relacionamento 1:1 entre e fornecedor_pk e endereco, bem
como fornecedor_fk é uma chave estrangeira para o atributo fornecedor_pk. Logo:
a) um Índice Bitmap sobre o atributo fornecedor_fk é um IBJ para o atributo fornecedor_pk,
uma vez que fornecedor_fk possui uma chave estrangeira para fornecedor_pk;
b) o IBJ para o atributo fornecedor_pk associa cada tupla da tabela de dimensão fornecedor
a um conjunto de tuplas da tabela de fatos;
c) conforme as Figuras 13a e 13b, fornecedor_pk = 1 ocorre na primeira e na segunda tupla
da tabela de fatos, fornecedor_pk = 2 ocorre na terceira tupla da tabela de fatos, e assim
por diante;
d) se o fornecedor 1 está relacionado ao endereço A, o fornecedor 2 está relacionado ao
endereço B e assim por diante, então o vetor de bits para fornecedor_fk = 1 é idêntico ao
vetor de bits para endereco = 'A', o vetor de bits para fornecedor_fk = 2 é idêntico ao
vetor de bits para endereco = 'B', e assim por diante; e
e) conforme a Figura 13c, endereco = 'A' ocorre na primeira e na segunda tuplas da tabela
de fatos, endereco = 'B' ocorre na terceira tupla da tabela de fatos, e assim por diante.
fornecedor_fk
item_fk
receita
1
2
3
4
5
A
B
C
D
E
1
235
20000
1
0
0
0
0
1
0
0
0
0
1
512
16700
1
0
0
0
0
1
0
0
0
0
2
512
22870
0
1
0
0
0
0
1
0
0
0
3
235
19960
0
0
1
0
0
0
0
1
0
0
3
512
15710
0
0
1
0
0
0
0
1
0
0
3
106
21950
0
0
1
0
0
0
0
1
0
0
4
235
20550
0
0
0
1
0
0
0
0
1
0
5
106
18740
0
0
0
0
1
0
0
0
0
1
(a) A tabela de fatos vendas
(b) IBJ para fornecedor_pk
(c) IBJ para endereco
Figura 13 Construção de IBJ para os atributos fornecedor_pk e endereco.
Portanto, embora fornecedor_pk e endereco não estejam presentes na tabela de
fatos, é possível indexá-los por um IBJ devido à existência da chave estrangeira em
fornecedor_fk. Ainda, de acordo com Harinarayan, Rajaraman e Ullman (1996), Q
1
Q
2
se, e
somente se, é possível responder a Q
1
usando apenas os resultados de Q
2
, e Q
1
Q
2
. Deste
modo, é possível indexar cidade, nação e região, uma vez que região nação cidade
endereço. Por exemplo, executando uma operação lógica OR bit-a-bit com os vetores de bits
44
de endereço = 'B' e endereço = 'C' resulta no vetor de bits para região = 'Europa'. Na Figura
14 exibe-se a construção do IBJ para o atributo região.
B
C
Europa
A
Ásia
D
E
África
0
0
0
hhhhhhhhh
1
1
hhhhhhhhh
0
0
0
0
0
0
1
1
0
0
0
1
0
1
0
0
0
0
0
0
OR
1
=
1
0
=
0
0
OR
0
=
0
0
1
1
0
0
0
0
0
0
1
1
0
0
0
0
0
0
0
0
0
0
1
0
1
0
0
0
0
0
0
1
1
Figura 14 Construção de IBJ para o atributo regiao.
Nitidamente, criar IBJ para as hierarquias de atributos é suficiente para
assegurar as operações roll-up e drill-down. Por exemplo, para resolver o predicado
endereço = 'B' marca = 'MFGR#2239', deve-se realizar uma operação lógica AND bit-a-bit
entre os vetores de bits criados para os valores B e MFGR#2239, pertencentes ao IBJ criado
para endereço e marca, respectivamente. De forma análoga, pode-se executar um roll-up
resolvendo os seguintes predicados:
a) cidade = 'Bordeaux' marca = 'MFGR#2239';
b) nação = 'França' marca = 'MFGR#2239'; e
c) região = 'Europa' marca = 'MFGR#2239'.
A complexidade do processamento de uma consulta é função do número de
vetores de bits que são acessados e do número de operações lógicas realizados sobre estes
vetores. Consultas por valor exato em uma ou mais dimensões podem ser respondidas pela
interseção de vetores. Por exemplo: “qual a receita das vendas do item 512 na Europa?”. É
requerida uma operação AND bit-a-bit sobre os vetores correspondentes. O item 512 está
associado ao vetor 01101000, e Europa ao vetor 00111100, como mostram a tabela de fatos
da Figura 13 e o vetor para Europa na Figura 14. A operação AND bit-a-bit entre os dois
vetores resulta em 00101000, apontando a e a tuplas como aquelas que devem ter a
receita somada para responder à consulta.
As respostas a alguns tipos de consulta por faixa de valores vêm da aplicação
da operação OR sobre vetores de bits relativos a diferentes valores na mesma dimensão,
seguida da operação AND entre o resultado da operação OR e os vetores de bits construídos
para as outras dimensões. Para ilustrar esta situação, é adaptado um exemplo de Garcia-
Molina et al. (2000) referente a uma joalheria, e ilustrado na Figura 15. À esquerda, uma
tabela de fatos com as chaves das dimensões Idade e Salário e a medida Venda$. Esta medida
representa o montante em milhares em unidade monetária alcançado com as vendas a clientes
com salário em milhares e idade em anos. Os vetores Bi indexam Idade, e Bs o Salário.
45
Idade
Sal
Venda$
Bi
25
Bi
45
Bi
50
Bi
70
Bs
60
Bs
75
Bs
100
Bs
120
25
60
120
1
0
0
0
1
0
0
0
45
60
140
0
1
0
0
1
0
0
0
50
75
200
0
0
1
0
0
1
0
0
50
100
210
0
0
1
0
0
0
1
0
50
120
340
0
0
1
0
0
0
0
1
70
120
290
0
0
0
1
0
0
0
1
Figura 15 Índices Bitmap para a tabela de fatos do DW da joalheria.
Se o objetivo é calcular o montante de vendas para os compradores de jóias
com idade na faixa 45-55 e salário entre 70-150, então o critério idade toma os bitmaps Bi
45
=
010000 e Bi
50
= 001110 e efetua OR bit-a-bit entre eles, o que resulta em 011110. Já para
salário, os bitmaps Bs
75
, Bs
100
e Bs
120
se submetem à disjunção lógica, logo 001000 OR
000100 OR 000011 resulta em 001111. O próximo passo é realizar AND bit-a-bit nos
resultados de cada dimensão: 011110 AND 001111 = 001110. Portanto, os montantes de
vendas a serem somados são os da terceira, quarta e quinta tupla, totalizando 750.
A Figura 14 também exemplifica como o Índice Bitmap lida com a
redundância de dados, intrínseca em um esquema estrela. Por exemplo, no vetor de bits criado
para região = 'Europa', nota-se que existem 4 bits indicando as quatro tuplas da tabela de fatos
onde região = 'Europa'. Logo, ao invés de armazenar quatro vezes este valor descritivo
textual, o Índice Bitmap assinala quatro bits com o valor “1” no vetor correspondente.
Dentre as vantagens do Índice Bitmap, Sarawagi (1997) e O’Neil, E., et al.
(2007) destacam:
a) o acesso aos dados está agrupado, já que a organização de um vetor de bits corresponde
àquela em que os dados estão fisicamente armazenados;
b) todas as dimensões são tratadas simetricamente, e dados esparsos podem ser manipulados
da mesma forma como são os densos;
c) se necessário, os dados podem ser recuperados segundo uma classificação, pelo percurso
do vetor de bits em ordem arbitrária. Porém, o agrupamento do item (a) é perdido; e
d) uma vez que o hardware provê suporte a operações lógicas bit-a-bit como OR, AND e NOT,
os predicados SQL podem ser avaliados de forma bastante veloz.
Dentre as desvantagens, destacam-se:
a) o número de operações OR pode ser muito grande para certas consultas, já que cada valor
de uma dimensão em uma faixa de valores implica em uma operação destas, aumentando
o custo do processamento da consulta. Por outro lado, as operações AND são limitadas ao
número de dimensões, que não é excessiva na maioria dos casos;
46
b) atualizações em lote podem também ser custosas, uma vez que todos os vetores de bits
devem ser modificados mesmo se houver uma única inserção de tupla. Ainda, Stockinger
e Wu, K. (2007) apontam que soluções eficientes para a questão da atualização podem ser
a chave para melhor difundir a adoção do Bitmap em aplicações comerciais; e
c) especificamente no caso do IBJ, se existem numerosas colunas usadas para as restrições
de junção, então o número de IBJ necessários para combinar restrições arbitrárias a partir
de cada tabela de dimensão é um produto do número de colunas em cada dimensão.
Ocorre então uma explosão combinatória, em termos do número de colunas (O’NEIL, P.;
QUASS, 1997). Este problema é análogo ao de armazenar os diversos níveis de
agregação da treliça.
Em dissonância está a questão da cardinalidade do domínio do atributo
indexado. Considerando que N é o número de tuplas de uma tabela T, e que |X| denota a
cardinalidade da coluna X, é simples concluir que cada Índice Bitmap, como os das Figuras
13, 14 e 15, necessitam de |X| vetores de N bits. No pior caso X apresenta apenas valores
distintos, então |X| = N. Conseqüentemente, tal Índice Bitmap requer N
2
bits. Num conjunto de
dados grande, com milhões ou bilhões de tuplas, este índice pode ser até mesmo maior que a
tabela indexada.
Sarawagi (1997) e O’Neil, E., O’Neil, P. e Wu, K. (2007) alegam que para
altas cardinalidades grande perda de desempenho associada ao armazenamento de todos os
vetores. Argumentam ainda que, se por um lado técnicas de compressão trazem ganhos em
espaço de armazenamento, as operações sobre o índice comprimido o mais lentas com
implementação complicada. Stockinger e Wu, K. (2007) e Wu, K., Stockinger, Shoshani
(2008), por sua vez, afirmam e demonstram que o Índice Bitmap pode ser eficiente se aliado a
técnicas de binning, compressão e codificação. Estas técnicas são tratadas nas Seções 3.2.1,
3.2.2 e 3.2.3, respectivamente.
Sarawagi (1997) afirma que o Índice Bitmap pode ser implementado como
uma B-tree na qual, ao invés de serem armazenados identificadores de tuplas para cada valor
de chave nos nodos folha, armazena-se um vetor de bits. Porém, Stockinger e Wu, K. (2007),
consideram que a B-tree é empregada apenas no arranjo de chaves, sendo os vetores de bits
armazenados separadamente em arquivos. Eles ainda argumentam que o Índice Bitmap, desta
forma, é independente da B-tree.
O SB-index, proposto nesta dissertação, visa introduzir o Índice Bitmap em
DWG, mais especificamente usando os recursos do IBJ. Além disso, foi empregada uma
técnica de compressão sobre os IBJ criados.
47
3.2.1 Binning
A idéia básica de binning é construir um vetor de bits para uma caixa (chamada
de bin), ao invés de criá-lo para cada valor de atributo. Deste modo, o número de vetores
torna-se independente da cardinalidade do atributo. Uma vantagem clara desta abordagem é
que permite controlar o tamanho da estrutura. Porém, uma consulta pode ter como resposta
falsos candidatos, se apenas o “índice encaixotado” for consultado. Neste caso, é
indispensável que o resultado passe por uma fase de refinamento, envolvendo o custoso
acesso aos dados originais.
A Figura 16 exibe um exemplo de um Índice Bitmap. O atributo X, que
representa a receita total em milhões obtidas pelos fornecedores situados na América, tem
valores entre 0 e 100, mostrados na segunda coluna a partir da esquerda. A faixa de possíveis
valores de X tem as caixas [0;20), [20;40), [40;60), [60;80) e [80;100). Um bit fixado em “1”
num vetor de bits B
i
significa que o valor de X está associado a uma caixa específica. Se
fixado em “0”, indica que o valor do atributo não pode ser atribuído àquela caixa.
B
0
B
1
B
2
B
3
B
4
RID
X
[0;20)
[20;40)
[40;60)
[60;80)
[80;100)
1
32,5
0
1
0
0
0
2
95,0
0
0
0
0
1
3
26,9
0
1
0
0
0
4
18,5
1
0
0
0
0
5
62,8
0
0
0
1
0
6
68,2
0
0
0
1
0
7
59,3
0
0
1
0
0
Valores do
- - - - - - - - - - - - - - -
atributo no disco
Faixa da consulta: 35 ≤ X <65
Figura 16 Consulta por faixa de valores “35 ≤ X < 65” num Índice Bitmap com binning.
No processamento da consulta “conte o número de linhas em que 35 ≤ X < 65”,
a resposta correta deve ser 2 (tuplas 5 e 7). Vê-se que a faixa na consulta sobrepõe as caixas
B
1
, B
2
e B
3
. Certamente, todas as tuplas que “caem” na caixa B
2
definitivamente são
respostas. Por outro lado, tuplas que caem” nas caixas B
1
e B
3
podem ser falsas candidatas.
Neste caso, as caixas B
1
e B
3
são ditas fronteiras. As tuplas que “caem” sobre B
1
e B
3
são
apenas tuplas candidatas, como as tuplas 1 e 3 da caixa B
1
e 5 e 6 da caixa B
3
. Elas devem
obrigatoriamente passar pelo refinamento, que confere nos dados originais se os valores
realmente satisfazem ou não à consulta. Assim, após o refinamento, as tuplas 1, 3 e 6 são
descartadas da resposta final da consulta por estarem fora do intervalo 35 a 65. Num conjunto
de dados grande, o refinamento pode requerer a leitura de muitas ginas de disco, fator
determinante sobre o tempo de processamento total de uma consulta OLAP.
Binning tem se destacado como a mais promissora das técnicas para aumentar
o desempenho do Índice Bitmap em domínios com alta cardinalidade. O trabalho de Wu, K.,
48
Stockinger e Shoshani (2008), por exemplo, propõe uma técnica de binning capaz de indexar
eficientemente atributos com altíssima cardinalidade. Nos experimentos dos referidos autores,
foram usados atributos com cardinalidade próxima de 25 milhões de valores distintos,
associados ao estudo de explosão estelar supernova.
3.2.2 Compressão
A compressão é mais uma estratégia para reduzir o tamanho do Índice Bitmap.
Como cada vetor de bits da estrutura deve ser usado separadamente dos demais, a compressão
é tipicamente aplicada individualmente sobre cada vetor. As operações no processamento das
consultas, contudo, são mais lentas em vetores comprimidos. Os métodos mais relevantes são
Byte-aligned Bitmap Code (BBC) (ANTOSHENKOV, 1995; JOHNSON, 1999) e Word-
Aligned Hybrid code (WAH) (WU, K.; OTOO; ARIE, 2006).
Vetores de bits comprimidos com BBC são ligeiramente maiores, mas têm
operações mais velozes que os vetores comprimidos pelos métodos de compressão de
propósito geral. Evidencia-se o equilíbrio que deve existir entre tempo de resposta e espaço de
armazenamento. WAH, por sua vez, aguça este equilíbrio: seus vetores comprimidos são
maiores que os de BBC, todavia seu tempo de resposta a consultas é muito menor que o de
BBC. Isto porque as operações lógicas em vetores comprimidos por WAH são mais ágeis que
aquelas sobre os vetores em BBC. Apenas WAH será abordada neste trabalho.
Considere-se que uma corrida é uma seqüência de bits. A técnica WAH se
baseia na codificação por comprimento da corrida (RLE: run-lenght encoding), em que os bits
consecutivos idênticos são representados com seu valor 1 ou 0, e o comprimento da corrida
(run). Ou seja, para a seqüência 00000 tem-se a representação 0101: uma seqüência de zeros
com (101)
2
= (5)
10
elementos. Na técnica WAH, uma corrida consiste em um preenchimento
(fill) e uma cauda (tail). O primeiro é o conjunto de bits idênticos consecutivos, representado
pelo comprimento e seus valores (1 ou 0). A segunda é um conjunto de 0’s e 1’s misturados,
representado literalmente dados sem compressão. A idéia chave de WAH é definir os
preenchimentos e as caudas de forma que possam ser armazenadas em palavras (unidades
operacionais de hardware).
Um exemplo, adaptado de Stockinger, Wu, K. (2007) é exibido na Figura 17.
Assumindo que uma palavra de máquina tem 32 bits, o exemplo mostra como uma seqüência
de 5456 bits (vide Figura 17a), que denota um vetor de bits, é repartida em duas corridas e
codificada em três palavras. Conceitualmente, a seqüência de bits é antes dividida em grupos
de 31 bits cada (Figura 17b). Depois, os grupos vizinhos com bits idênticos o fundidos
49
(Figura 17c). Finalmente, os três grupos são codificados como palavras de máquina de 32 bits
(Figura 17d).
A primeira corrida do exemplo contém um preenchimento de comprimento 0 e
uma cauda, não apresentando nenhuma palavra de preenchimento, e sim apenas uma palavra
literal (literais não são comprimidos) que representa a cauda de 31 bits para esta corrida. A
segunda corrida contém um preenchimento de comprimento 174 (representa 174 grupos de 31
bits cada) e uma cauda, requerendo uma palavra para o preenchimento e outra para a cauda. O
primeiro bit de uma palavra de preenchimento a identifica como tal, e o segundo bit mantém o
valor do preenchimento: 0 no caso deste exemplo. Os 30 bits restantes armazenam o
comprimento do preenchimento, (10101110)
2
= (174)
10
neste caso.
O tempo de resposta a consultas por faixas de valores usando vetores de bits
codificados por WAH cresce linearmente no número de acertos, como nas árvores B+ e B*.
Porém, não como combinar estas árvores de forma eficiente a fim de responder a tais
consultas ad-hoc no âmbito multidimensional, ao contrário do Índice Bitmap
(STOCKINGER; WU, K., 2007).
1000000000000000000001110000000
000000000.............0000000000000
0000001111111111111111111111111
(a) Vetores de bits de entrada, com 5456 bits
──────────────
───... ... ───
──────────────
31 bits
31 bits 31 bits
31 bits
(b) Agrupamento em 176 grupos de 31 bits
──────────────
────────────
──────────────
31 bits
174 * 31 bits
31 bits
(c) Fusão de grupos com bits idênticos
01000...000000000001110000000
1000000000000...010101110
00000001...11111
1º bit = 0 indica palavra de cauda.
Os 31 bits seguintes são literais.
bit = 1 indica palavra de
preenchimento.
2º bit em diante = 0 significa
preenchimento de zeros.
10101110 é o comprimento da
corrida (174).
1º bit = 0 indica palavra de cauda.
Os 31 bits seguintes são literais.
──────────────
───.............──────────────────────
Corrida 1
Corrida 2
(d) Codificar cada grupo usando uma palavra
Figura 17 Exemplo da codificação WAH de uma seqüência de 5456 bits em uma máquina de 32 bits.
Goyal, Zaveri e Sharma (2006) propõem uma nova estratégia para usar o
Índice Bitmap, que pode ser aplicada a qualquer esquema de compressão baseado em RLE e
suas variantes. Considerando que longas cadeias de 0's e 1's são desejáveis neste método,
classifica-se a tabela segundo a coluna que se almeja indexar, e então cria-se um Índice
50
Bitmap de agrupamento sob a referida coluna. Porém, apenas um exemplar deste índice é
permitido por tabela indexada.
A classificação da tabela agrega um custo extra em tempo, e por isso deve ser
realizada enquanto o DW estiver offline. Por outro lado, os ganhos em termos de tempo de
processamento de consultas e de redução de espaço de armazenamento do índice justificam
sua existência. A escolha da coluna que norteará a classificação também ocorre no período de
inatividade. Se por alguma razão for escolhida outra coluna, o DW estará indexado após
novo carregamento.
Os testes foram realizados por Goyal, Zaveri e Sharma (2006) para as consultas
EQ (Exact Query) e RQ, sob os esquemas de compressão WAH e BBC. Os resultados
apontam que, com a estratégia de classificação, a compressão e o desempenho de WAH e
BBC são melhores que os obtidos sem ela. Isto vale para todas as combinações de
cardinalidade de colunas e tabelas, e para consultas por valor exato e por faixas de valores.
3.2.3 Codificação
O Índice Bitmap básico discutido na Seção 3.2 é também chamado de Bitmap
codificado por igualdade, que cada vetor de bits indica se o valor de um atributo é ou o
igual à chave. Esta estratégia é a mais eficiente para consultas por valores exatos, como
“umidade = 32”. Chan e Ioannidis (1999) desenvolveram a codificação por faixa. Ela visa o
processamento de consultas por faixa de valores com um operador, como “pressão < 1”.
Na Figura 18, adaptada de Stockinger e Wu, K. (2007), vê-se a codificação
para o valor 2 da coluna X da relação R. Na codificação por igualdade (Figura 18b), o vetor
E
2
é fixado em “1”, e os demais bits na mesma posição horizontal em “0”. Na codificação por
faixa (Figura 18c), todos os bits entre R
2
e R
8
são fixados em “1”, e os outros em “0”. Este
método é bastante eficiente. Por exemplo, na consulta “X ≤ 4”, no máximo um vetor, R
4
, deve
ser acessado e percorrido no processamento da consulta. Todos os bits que são fixados em “1”
em R
4
obedecem ao critério da consulta. Por outro lado, usando a codificação por igualdade,
E
0
, E
1
, E
2
, E
3
e E
4
devem passar pela operação lógica OR, resultando no acesso a 5 vetores,
número bem superior ao único que é percorrido no caso da codificação por faixa.
De modo simplificado, a codificação por faixa requer no máximo um acesso a
um vetor para avaliar consultas por faixas de valores. Enquanto isso, o método por igualdade
requer em média acesso a N/2, em que N é o número total de vetores de bits. Embora haja
benefícios neste sentido, não se observa redução considerável na quantidade de vetores
armazenados: N-1 são necessários para a codificação por faixa, pois o vetor que contém
51
apenas 1’s pode ser dispensado, como R
9
. Logo, supondo que o domínio de X é
D = {0, ..., 9}, ou seja |X|=10 , cria-se os vetores E
d
| d D para a codificação por igualdade.
Na codificação por faixa são criados R
d
| d D-{9}.
RID
X
(R)
E
9
E
8
E
7
E
6
E
5
E
4
E
3
E
2
E
1
E
0
R
8
R
7
R
6
R
5
R
4
R
3
R
2
R
1
R
0
1
3
0
0
0
0
0
0
1
0
0
0
1
1
1
1
1
1
0
0
0
2
2
0
0
0
0
0
0
0
1
0
0
1
1
1
1
1
1
1
0
0
3
1
0
0
0
0
0
0
0
0
1
0
1
1
1
1
1
1
1
1
0
4
2
0
0
0
0
0
0
0
1
0
0
1
1
1
1
1
1
1
0
0
5
8
0
1
0
0
0
0
0
0
0
0
1
0
0
0
0
0
0
0
0
6
2
0
0
0
0
0
0
0
1
0
0
1
1
1
1
1
1
1
0
0
7
9
1
0
0
0
0
0
0
0
0
0
0
0
0
0
0
0
0
0
0
8
0
0
0
0
0
0
0
0
0
0
1
1
1
1
1
1
1
1
1
1
9
7
0
0
1
0
0
0
0
0
0
0
1
1
0
0
0
0
0
0
0
10
5
0
0
0
0
1
0
0
0
0
0
1
1
1
1
0
0
0
0
0
11
6
0
0
0
1
0
0
0
0
0
0
1
1
1
0
0
0
0
0
0
12
4
0
0
0
0
0
1
0
0
0
0
1
1
1
1
1
0
0
0
0
(a) Projeção
(b) Bitmap codificado por igualdade
(c) Bitmap codificado por faixa
Figura 18 Comparação entre Bitmaps codificados por igualdade e por faixa, dado o Índice de Projeção.
Diante disso, necessidade de cnicas mais apuradas para controlar a
quantidade de vetores do Índice Bitmap, a fim de tornar viável o seu emprego sobre atributos
com alta cardinalidade. A codificação binária empregada pelos índices Bitmap codificado e
Bit-sliced, que serão abordados a seguir, é a que produz a menor quantidade de vetores de
bits: log
2
|X| . Esta codificação requer bem menos vetores que a codificação por faixa. Por
outro lado, enquanto esta acessa apenas um vetor na resposta a uma consulta por faixa de
valores, a codificação binária acessa todos eles. Conclui-se, então, que é preciso existir
equilíbrio entre os requisitos tempo de resposta e espaço de armazenamento.
O’Neil, P. e Quass (1997) alcançaram melhor desempenho no processamento
de consultas usando o Índice de Projeção e o Índice Bit-sliced. O Índice Bit-sliced emprega a
codificação binária, sendo constituído por um conjunto de “fatias de bitmaps”, as quais são
“ortogonais” aos dados mantidos num Índice de Projeção. Em uma tabela T, cada valor da
coluna C é mapeado para um número binário de N+1 bits. Define-se então a função D(n,0),
com i = 0, ..., N, para a n-ésima tupla da tabela T da seguinte maneira:
D(n,0) = 1 se o bit de posição 2
0
for 1 no valor codificado da n-ésima tupla de C.
D(n,1) = 1 se o bit de posição 2
1
for 1 no valor codificado da n-ésima tupla de C.
E assim por diante. Ou seja:
D(n,i) = 1 se o bit de posição 2
i
for 1 no valor codificado da n-ésima tupla de C.
Para cada valor i=0,...,N, e D(n,i) > 0 em uma tupla de T, o vetor B
i
vai sendo
definido pela atribuição de D(n,i) ao n-ésimo bit deste. A condição D(n,i) > 0 evita a
representação de um vetor inteiro de zeros. A Figura 19b mostra a constrão dos índices de
52
projeção e a Figura 19c do bit-sliced, ambos para a coluna Quantidade da tabela vendas
(Figura 19a).
A primeira linha (índice 0) da coluna Quantidade tem valor 5, ou (101)
2
. Logo,
D(0,0) = 1, então B
0
[0]=1; D(0,1) =0, então B
1
[0]=0; e D(0,2)=1, então B
2
[0]=1. Observa-se
que índices Bitmap básicos para a coluna Quantidade exigiriam um total de vetores menor
que o número necessário para bit-sliced (5 < 6). Este fato, porém, nem sempre é observado
em domínios de dados reais.
Nome
Mês
Cidade
Quantidade
Quantidade
B
5
0 0 0 1 1 0
Tênis X
Jan
Analândia
5
5
B
4
0 0 0 1 1 0
Cama Y
Jan
Itirapina
3
3
B
3
0 0 0 1 1 0
Sofá Z
Jan
Ipeúna
0
0
B
2
1 0 0 1 0 1
Câmera W
Jan
São Carlos
60
60
B
1
0 1 0 0 0 0
Perfume U
Jan
Araraquara
57
57
B
0
1 1 0 0 1 1
Livro L
Jan
Descalvado
5
5
5 3 0 60 57 5
(a) Fragmento de dados da tabela Vendas
(b) Projeção
(c) Bit-sliced
Figura 19 Índices de projeção e bit-sliced exemplificados.
Uma consulta SELECT SUM (Quantidade) FROM Vendas WHERE
condição
possui
diferentes processamentos conforme os índices apresentados, supondo a existência do vetor B
F
para representar o conjunto de valores que atendem à cláusula WHERE. No caso de uma B-tree,
existem vetores B
v
em seus nodos folha para os valores não-nulos v. Para cada resultado de (B
v
AND B
F
) são contadas as ocorrências do bit “1”, e então o total desta contagem é multiplicado
por v. Este produto é adicionando à soma que se obtivera para cada B
v
antes do atual.
Se B
F
é um vetor, pode ser alocado em memória, tornando mais ágil o
processamento da consulta. Isto não é observado se B
F
for uma lista-RID, ou seja, uma lista de
identificadores de tuplas (row identifier) que especificam a posição da tupla em disco, pois
um identificador tem tamanho superior a um bit. Freqüentemente, cada B
v
é implementado
como lista-RID, e a iteração sobre tais listas é uma tarefa custosa, como discutem O’Neil, P. e
Quass (1997).
O cálculo da referida soma com um Índice Bit-sliced sobre um atributo
contendo os vetores B
i
(i = 0, ..., N, com N = 5) acontece inicializando-a com zero e
adicionando à mesma, para i=0 até i=N, 2
i
multiplicado pela contagem dos bits “1” presentes
no vetor resultante de (B
i
AND B
F
). Considerando que o domínio do atributo é vasto, exigindo
muitos vetores para um Índice Bitmap básico, e que pode ser mapeado em números binários
que requerem poucos vetores na abordagem Bit-sliced, então Bit-sliced executa menos
contagens e operações AND que a abordagem básica.
Os autores também discutem a combinação adequada de função de agregação
(além de SUM) e índice. Eles analisam ainda o desempenho do processamento de consultas por
53
faixas de valores, propondo um algoritmo que realiza este tipo de consulta em Bit-sliced.
Concluiu-se que as faixas de valores pouco abrangentes favorecem o uso de um índice como a
B-tree. Aumentando-se a abrangência, Bit-sliced se torna a melhor opção.
A existência dos índices de Projeção ou Bit-sliced sobre todos os atributos das
dimensões envolvidas em uma consulta OLAP dispensa a necessidade de uma junção
explícita, e os faz atuar como índices de junção neste caso. Para computar group-bys, por
exemplo, assume-se que existem Índices de Projeção na tabela de fatos para cada uma das
colunas do group-by e para aquelas envolvidas com a função de agregação. Então, cada tupla
do resultado da cláusula WHERE é classificada em uma célula de group-by por meio da leitura
do Índice de Projeção apropriado, e os valores a serem agregados (que também estão num
Índice de Projeção) são lidos. Efetua-se a função de agregação sobre os valores, e seu
resultado é por fim armazenado na célula adequada.
Diante das novas estruturas e algoritmos que propuseram, O’Neil, P. e Quass
(1997) argumentam que um DW deve possuir mais de um índice disponível sobre cada
coluna, a fim de viabilizar a escolha do mais adequado de acordo com a consulta a ser
respondida. Contudo, não trataram questões concernentes à atualização das estruturas que
apresentaram.
Objetivando reduzir o espaço necessário para armazenar um Índice Bitmap e
ainda alcançar bom desempenho no processamento de consultas, Wu, M. e Buchmann (1998)
propuseram uma extensão para este índice. A idéia central é a de codificar em binário o
domínio do atributo indexado. A Figura 20, adaptada do referido trabalho, exibe as
construções dos índices Bitmap básico e codificado para o domínio {a, b, c} do atributo X.
Os componentes do Índice Bitmap com codificação binária são: o conjunto de
vetores, uma tabela de mapeamento para o domínio da coluna indexada, e as funções
booleanas (detalhadas em seguida). Observa-se que o valor a é codificado como 00, b como
01, e c como 10. O vetor B
i
contém o i-ésimo bit do valor codificado do atributo X, partindo
do menos significativo para o mais significativo. Ou seja, B
1
[0]B
2
[0] = 00 = a conforme
determina a tabela de mapeamento, mantendo a relação de ordem total (ROT) do domínio.
Tabela T
Índice Bitmap básico
Índice bitmap codificado
Tabela de mapeamento
...
X
...
B
a
B
b
B
c
B
1
B
0
a
1
0
0
0
0
a
00
b
0
1
0
0
1
b
01
c
0
0
1
1
0
c
10
b
0
1
0
0
1
a
1
0
0
0
0
Figura 20 Exemplo do Índice Bitmap com codificação binária.
54
Visto que a cardinalidade do atributo X é 3, são requeridos três vetores de bits
na abordagem simples. Já na abordagem codificada, são log
2
|X| = log
2
3 = 2 vetores, mais
a tabela de mapeamento. Se um valor v
0
é codificado como b
1
b
0
(b
i
{0,1}, i = 0,1), então a
função de recuperação para v
0
é definida como x
1
x
0
, em que x
i
= B
i
se b
i
=1. Caso contrário,
x
i
é a negação de B
i
, ou seja, B
i
. No exemplo, as funções de recuperação para a, b e c são
a
=B
1
’B
0
,
b
=B
1
’B
0
,
c
=B
1
’B
0
, respectivamente.
Considerando que x’ denota a negação da variável x, xy denota (x AND y), e x+y
denota (x OR y), se a consulta procura por dados em que X=a ou X=b, então é possível aplicar
o operador OR sobre
a
e
b
, isto é:
a
+
b
= B
1
’B
0
+ B
1
’B
0
, cuja redução é B
1
. Logo, para
recuperar tuplas em que X=a ou X=b, basta usar o inverso do vetor B
1
e recuperar as tuplas
com 1’s, que satisfazem a condição de seleção.
Além da vantagem relacionada ao menor espaço de armazenamento requerido,
as consultas podem se tornar mais ágeis pelo acesso a alguns (e não todos) os vetores. A
tabela de mapeamento não precisa ser acessada nas consultas, pois a codificação determina a
construção de cada vetor preservando a ordem em que as tuplas ocorrem na tabela. Isto é,
B
1
[0]B
2
[0] = 00 = a ocorre na primeira posição da tabela, bem como nas primeiras posições
dos vetores B
1
e B
2
. Assim, não constitui custo adicional ao processamento das consultas.
Para minimizar o número de vetores que devem ser acessados, e assim reduzir
o tempo de processamento, é necessário criar uma codificação bem definida. Descobri-la
sem um algoritmo tem complexidade exponencial na cardinalidade do domínio. Por isso,
embora desejável, ela não é essencial. Wu, M. e Buchmann (1998) não apresentam nenhum
algoritmo para sua descoberta, mas explicam como o Índice Bitmap codificado pode ser
aplicado a hierarquias de atributos nas dimensões, na preservação da relação de ordem total
(ROT) de um atributo e a atributos com faixas de valores. Tais propriedades reafirmam que o
Índice Bitmap codificado é adequado para OLAP.
Com relação ao processamento das consultas, Wu, M. e Buchmann (1998)
observaram que a versão codificada é mais bem sucedida, em especial sob consultas
envolvendo faixas extensas de valores. Mesmo que a codificação seja realizada de maneira
imprópria, ou que a redução lógica das funções de recuperação não seja satisfatória (pior
caso), o Índice Bitmap codificado é mais estável e tem desempenho superior ao do Índice
Bitmap básico.
Quando o critério de seleção envolve uma seleção de valor X=a, por exemplo,
o método básico acessa um vetor, enquanto que o codificado acessa dois. Por outro lado, na
55
consulta por faixa de valores X in {a,b} um vetor é acessado pelo codificado, e dois pelo
básico. Se b
b
e b
c
denotam as quantidades de vetores acessados pelos índices Bitmap básico e
codificado respectivamente, então 1 ≤ b
b
≤ |X| e 1 ≤ b
c
log
2
|X| . Na abordagem básica, b
b
=
δ, em que δ denota o tamanho do intervalo da consulta (δ=2 em X in {a,b}). Na abordagem
codificada, b
c
é uma função de δ, com 1 δ |X|. No pior caso, b
c
log
2
|X| . No melhor, o
número de vetores descartados pela redução lógica (γ) influencia no resultado, levando a b
c
=
log
2
|X| - γ. Para maiores detalhes, sugere-se a leitura de Wu, M. e Buchmann (1998).
A implementação dos vetores de bits nos nodos folha de B-trees demonstrou a
degradação do desempenho, à medida que a cardinalidade se tornou muito alta. Sob esta
circunstância, tal implementação teve desempenho parecido com o da própria B-tree. Wu, M.
e Buchmann (1998) não propuseram nenhuma solução neste sentido, apesar de terem
levantado outras questões pendentes. Dentre elas, classificaram como desejáveis:
a) o uso de valores “irrelevante” na codificação, para aprimorar o desempenho; e
b) a existência de um modelo para avaliar a viabilidade da reconstrução dos índices em
domínios de aplicação cujo conjunto de predicados de seleção pré-definidos se altera com
o passar do tempo.
As atualizações sobre o DW podem introduzir novos valores ao domínio de um
atributo X, aumentando a sua cardinalidade, interferindo na questão (b) mencionada. Se isto
ocorrer, e o número de bits usados para codificar o domínio for suficiente para manter o novo
elemento, ele é codificado e inserido na tabela de mapeamento. Por exemplo, a inclusão de d
no domínio do atributo X da Figura 20, e d sendo codificado como 11. Se o número de bits
for insuficiente, um novo vetor de bits é criado e a tabela de mapeamento é atualizada. Por
exemplo, a inclusão de e subseqüente à inclusão de d no domínio do atributo X resulta na
criação de um novo vetor de bits, e nos mapeamentos: a = 000, b = 001, c = 010, d = 011, e =
100. A Figura 21 ilustra esta situação.
Índice Bitmap Tabela
Tabela T Índice Bitmap Básico Codificado de Mapeamento
...
X
...
B
a
B
b
B
c
B
d
B
e
B
2
B
1
B
0
a
1
0
0
0
0
0
0
0
a
000
b
0
1
0
0
0
0
0
1
b
001
c
0
0
1
0
0
0
1
0
c
010
b
0
1
0
0
0
0
0
1
d
011
a
1
0
0
0
0
0
0
0
e
100
d
0
0
0
1
0
0
1
1
e
0
0
0
0
1
1
0
0
Figura 21 Atualização do Índice Bitmap com codificação binária.
56
A análise dos resultados de Wu, M. e Buchmann (1998) apontou que, em
média, a razão (m-1)/m do índice Bitmap básico é esparso, sendo m a cardinalidade do atributo
indexado. Para o modo codificado, a razão é ½ (independente de m). Por isso, a sua
construção e a sua manutenção são mais econômicas que as da versão básica, à medida que a
cardinalidade aumenta.
3.2.4 Combinando as técnicas para melhorar o desempenho
As técnicas de binning, compressão e codificação apresentam vantagens e
desvantagens, conforme discutido nas seções anteriores. Todas devem ser levadas em
consideração no projeto do Índice Bitmap, segundo os objetivos que se deseja alcançar. A
combinação destas cnicas visando melhorar o desempenho também é chamada de ajuste
fino (tunning). Nesta seção, são comentados alguns casos específicos e as soluções viáveis
para os mesmos, baseando-se na análise feita por Stockinger e Wu, K. (2007).
Se não for aplicada a codificação binária sobre o Índice Bitmap, deve-se
comprimi-lo a fim de beneficiar o armazenamento. A codificação e a quantidade de caixas do
binning merecem atenção. A melhor técnica de codificação depende intimamente do tipo de
consulta que se deseja responder. Por exemplo, a codificação por faixa é a melhor para
consultas por faixas de valores, mas pode ter seu desempenho degenerado em atributos de alta
cardinalidade.
Quando não há compressão, a codificação por faixa é favorecida. Quando há, o
custo do percurso no índice é proporcional ao número de acertos. Isto independe da
quantidade de vetores de bits envolvidos em uma estrutura comprimida por WAH e
codificada por igualdade. Como a codificação por igualdade tem a sua compressão mais
facilitada, pode-se optar por esta compressão.
A escolha da quantidade de caixas do binning visa diminuir os candidatos a se
submeterem ao refinamento. Logo, quanto mais caixas, menor o custo associado à checagem
de candidatos na fase de refinamento. Porém, na codificação por igualdade, o uso de mais
caixas aumenta também o custo do percurso no índice. No método por faixa isto não acontece,
porque não mais que dois vetores são acessados para responder à consulta.
Outro fator que demanda atenção é a estratégia de binning, que tem influência
direta sobre a checagem de candidatos. A escolha fica entre criar partições do domínio em
caixas de mesmo tamanho ou distribuir igualmente uma quantidade de entradas entre as
caixas (STOCKINGER; WU, K. 2007).
57
3.3 FastBit
Stockinger e Wu, K. (2007) contestam a afirmação de Sarawagi (1997) de que
o Índice Bitmap possa ser implementado como uma B-tree cujos nodos folha referenciam
vetores de bits. Eles argumentam que que a B-tree é empregada apenas no arranjo de chaves,
sendo os vetores de bits armazenados separadamente em arquivos, isto é, independentemente
daquela árvore.
O software livre FastBit (O’NEIL, E.; O’NEIL, P.; WU, K, 2007; FASTBIT,
2008) é um exemplo que realça esta independência, pois os vetores de bits são organizados
em um arquivo binário. Esta implementação confere uma boa eficiência ao Índices Bitmap
construído por FastBit. Em maiores detalhes, o construídos índices de Projeção, sendo um
arquivo de índice para cada coluna. Cada arquivo mantém um vetor de valores distintos em
ordem crescente, cujas entradas apontam para vetores de bits. Na Figura 22, este vetor é
representado como F. Nesta ilustração, foi construído um IBJ usando FastBit, para o atributo
fornecedor_pk da Figura 12. É importante salientar que este software implementa
diversificadas técnicas de binning, compressão e codificação. Por isso, constitui uma
alternativa extremamente viável para a construção e a manipulação de índices Bitmap.
Contudo, FastBit não provê suporte à indexação de DWG.
Figura 22 Um Índice Bitmap de Junção criado usando FastBit.
3.4 aR-tree
A aR-tree (aggregate R-tree) (PAPADIAS et al., 2001) é um índice para DWG
baseado na R-tree que mantém em suas entradas os valores gerados pela função de agregação
sobre uma medida da tabela de fatos. Antes de prosseguir com a sua descrição, é plausível
contextualizá-la. Em aplicações OLAP, é possível definir hierarquias de relacionamento de
atributos em diversas dimensões. No exemplo de varejo da Seção 2.1., ano mês é uma
hierarquia, em que mês constitui o nível de menor granularidade. O usuário pode também
submeter consultas com agrupamento por ano. Para tornar ágil a resposta a consultas que
envolvem agregação, os resultados das mesmas podem ser pré-calculados e materializados.
58
São diversas as técnicas que promovem a pré-agregação de medidas em DW
convencionais, com o intuito de acelerar o processamento de consultas. Diferentemente do
que ocorre em um DW convencional, em um DWG pode haver pouco ou nenhum
conhecimento prévio sobre a hierarquia de relacionamento de atributos espaciais, a qual
permite o agrupamento dos objetos. As hierarquias de relacionamento de atributos não pré-
estabelecidas durante o projeto são chamadas na literatura de hierarquias ad-hoc. Ainda, as
consultas SOLAP podem requerer agrupamentos baseados em mapas criados arbitrariamente,
ao invés de apenas solicitar as regiões geográficas predefinidas nas tabelas de dimensão.
Conseqüentemente, os métodos de agregação prévia, como a materialização de visões da
treliça, são inadequados para o caso espacial. Isto motivou a proposta de um método que
combinasse indexação espacial com resultados pré-agregados.
Seja um sistema de supervisão de tráfego que monitora as posições dos
veículos numa cidade e o tráfego nas ruas. Nele, os veículos podem estar também em
estacionamentos e não apenas nas ruas. Para ele, existem duas R-tree’s: uma para armazenar
as posições dos carros (R
C
), e outra para os segmentos de rua (R
R
). Neste sistema, consultas
típicas são:
a) “encontre os segmentos das ruas com tráfego mais intenso, e próximos ao centro da
cidade”;
b) “indique o hospital que pode ser alcançado mais rapidamente, dada a situação atual do
trânsito”;
c) “encontre o número total de carros dentro de cada bairro”;
d) “encontre o segmento de rua com o maior tráfego em um raio de 1 km em torno de cada
hospital”.
Diante destas suposições, responder à consulta “forneça o tráfego para todo
segmento de rua numa área de raio 1 km em torno de cada hospital”, requer uma junção
espacial entre R
C
e R
R
. Embora o resultado desta junção possa estar pré-computado e
armazenado para cada um dos segmentos, a condição espacial “área de raio 1 km em torno de
cada hospital” remete a um MAM. Isto também viabiliza a construção de um DWG por meio
de um esquema estrela, sob as diretrizes expostas por Stefanovic et al. (1997; 2000).
3.4.1 Estrutura de dados
Papadias et al. (2001) propuseram um índice sobre os objetos de menor
granularidade da dimensão espacial, o qual consiste em uma R-tree que armazena, para cada
MBR, o valor da função de agregação para todos os objetos nele incluídos. Por isso, a
59
estrutura foi denominada aR-tree. Uma vez que os agrupamentos de objetos espaciais
realizados pelo índice criam uma hierarquia implícita, tal hierarquia foi incorporada à treliça
de de Harinarayan, Rajaraman e Ullman (1996). Isto possibilita a seleção das agregações
apropriadas para a materialização.
Com isso, baseado no nível de menor granularidade espacial de uma tabela de
dimensão espacial, a aR-tree pode responder a uma consulta com agregação sem requerer o
acesso a todos os objetos incluídos no MBR. Isto porque parte da resposta pode ser
encontrada nos nodos intermediários da árvore. A aR-tree é, portanto, uma estrutura de
indexação para DWG sob ROLAP. Ela pode lidar com dimensões espaciais, medidas
espaciais, ou ambas simultaneamente.
O DWG do exemplo para a supervisão de tráfego da Seção 3.4 é representado
por um esquema estrela cuja tabela de fatos deve conter os resultados agregados para a
dimensão espacial no menor nível de granularidade. Este nível define a quantidade de carros
por segmento de rua. A Figura 23 exibe um DWG com apenas uma tabela de dimensão
espacial, para simplificar a compreensão da aR-tree. As ruas r
1
, ..., r
5
são aproximadas para
seus MBR a
1
, ..., a
5
.
Neste exemplo, supondo que carros (pontos) e ruas (linhas) são indexados,
respectivamente, pelas árvores-R R
C
e R
R
, o algoritmo de junção espacial de Brinkhoff,
Kriegel e Seeger (1993) pode ser aplicado a fim de calcular os valores da função de agregação
para os nodos folha da aR-tree. Caso contrário, outros índices de junção específicos podem
ser empregados. Desta forma, a árvore pode ser construída de baixo para cima, com o reuso
das informações dos níveis mais baixos. Fica delineada a hierarquia ad-hoc A
i
a
i
.
Veículos
Rua
Quantidade
r
1
0
r
2
3
r
3
1
r
4
4
r
5
2
(a) Esquema estrela
(b) Dados na tabela de fatos
(c) aR-tree para a dimensão espacial Local
Figura 23 Um DWG com a dimensão espacial Local e a aR-tree correspondente.
Na estrutura de dados, cada nodo X
i
da aR-tree possui as entradas X
i,1
... X
i,CPi
e
um ponteiro para o próximo nodo X
i+1
no mesmo nível, sendo que CP
i
CP é a capacidade de
X
i
. Em cada entrada da forma < X
i,j
.MBR, X
i,j
.ref, X
i,j
.agr >, o ponteiro X
i,k
.ref referencia o nodo X
k
60
do próximo nível inferior. Logo, a raiz constitui o maior nível da árvore. O resultado pré-
agregado para cada entrada é X
i,k
.agr, mantendo todos os valores para cada resultado de função
de agregação (COUNT, MAX, AVG etc). Cada objeto no nível n-1 pertence a exatamente um
MBR do nível n, permitindo o armazenamento de resultados parciais e a agregação deles num
passo posterior. Com isto, são obtidos resultados mais resumidos, ou seja, efetua-se uma
operação de roll-up.
Seguem, na Figura 24, duas possíveis aR-tree para o exemplo de tráfego. Na
Figura 24a, o nodo raiz da aR-tree, X
1
, está no nível 1 e mantém as entradas X
1,1
e X
1,2
, além de
um ponteiro nulo (porque não há outro nodo no mesmo nível). Para a entrada X
1,1
são válidos:
X
1,1
.MBR = A
1
; X
1,1
.ref consiste na aresta que liga a entrada X
1,1
ao nodo X
2
=[(a
2
, 3), (a
3
, 1), (a
5
,
2)] do nível 0; e X
1,1
.agr=6. O nodo X
2
mantém as entradas X
2,1
, X
2,2
e X
2,3
, além de um ponteiro
para seu nodo irmão X
3
, representado pela aresta dirigida que parte de X
2
. Como existem 3
carros na rua r
2
, uma entrada (a
2
, 3) em um nodo folha da aR-tree. O comentado roll-up
define que o total de carros em todas as ruas seja calculado pela soma dos resultados
materializados para A
1
e A
2
, ou seja, 6 + 4 = 10. Isto é possível porque cada a
i
(i = 1, ..., 5)
pertence a exatamente um A
i
, ou seja, há um relacionamento N:1 entre MBR do nível 0 com
aqueles do nível 1.
A Figura 24b exemplifica uma aR-tree cujo DWG requer duas funções de
agregação: COUNT e MAX. Ou seja, interesse em armazenar contagem e o número máximo
de veículos para cada grupo de segmentos de rua. Portanto, na entrada X
1,1
valem: X
1,1
.MBR =
A
1
; X
1,1
.ref consiste na aresta que liga a entrada X
1,1
ao nodo X
2
=[(a
2
, 3), (a
3
, 1), (a
5
, 2)] do nível
0; X
1,1
.agr[0]=6; X
1,1
.agr[1]=3. Ou seja, implementa-se uma lista com os valores das diferentes
funções de agregação. Observe-se que X
1,1
é uma entrada do nodo X
1
e este último está no
nível 1. Portanto, X
1,1
.agr[1]=3 significa que o número máximo de carros armazenado em ruas
mantidas pelo nodo X
2
é 3, sendo que este é referenciado por X
1,1
.ref e está no nível 0.
1
0
(a) aR-Tree com função de agregação COUNT
(b) aR-Tree com funções de agregação COUNT e MAX
Figura 24 aR-Tree com diferentes funções de agregação.
Quando houver mais de uma tabela de dimensão no esquema estrela, deve-se
manter em cada entrada da árvore um ponteiro para um vetor multidimensional. Este vetor
indica os valores agregados para todo o domínio das outras dimensões. Por exemplo, seja o
esquema estrela da Figura 25a, e um fragmento dos dados de sua tabela de fatos na Figura
61
25b. Esta tabela de fatos possui valores iguais a zero para a medida em algumas de suas
tuplas. Isto não é uma restrição, porque estas tuplas poderiam simplesmente inexistir.
Papadias et al. (2001) nada comentam sobre isto. A dimensão TipoVeículo é não-espacial.
A aR-tree correspondente ao fragmento exibido pela Figura 25 é mostrada na
Figura 26. Presume-se que a ordem dos dados mantidos na tabela de dimensão TipoVeículo
(Figura 25c) é respeitada na disposição dos dados em cada vetor unidimensional que
acompanha cada entrada dos nodos da árvore. Esta suposição é feita porque Papadias et al.
(2001) apenas mencionam que deve haver um vetor multidimensional para os valores das
demais dimensões, mas não explicam sua implementação. No exemplo, a entrada que mantém
o MBR A
1
tem o vetor {2, 1, 3}. Isto é, no interior de A
1
há 2 caminhões, 1 carro e 3 motos.
Veículos
TipoVeículo
Rua
TipoVeículo
Quantidade
TipoVeículo
r
1
Moto
0
Caminhão
r
1
Carro
0
Carro
r
1
Caminhão
0
Moto
r
3
Moto
1
r
2
Caminhão
2
r
2
Carro
1
r
4
Carro
2
r
4
Moto
2
r
5
Carro
2
(a) Esquema estrela
(b) Dados na tabela de fatos
(c) Tipos de veículos
Figura 25 aR-Tree com uma dimensão espacial (Local) e uma não-espacial (Veículos).
Figura 26 aR-Tree com diferentes funções de agregação.
Duas considerações devem ser feitas aqui. Primeiramente, a construção de
agrupamentos com hierarquias ad-hoc no índice, baseada no atributo espacial de menor
granularidade, remete ao modelo de DWG de Stefanovic et al. (1997; 2000). Mais
especificamente, quer dizer que uma dimensão estritamente espacial pode ser indexada apenas
no atributo com menor granularidade. Por exemplo, se existir uma hierarquia de
relacionamento de atributos espaciais estado cidade rua, apenas rua pode ser indexado.
62
A segunda consideração é a de que Papadias et al. (2001) afirmam que a
estrutura deste índice pode ser estendida no sentido de permitir medidas espaciais: deve-se
substituir X
i,j
.agr por um ponteiro que referencie o objeto agregado. Ainda, tanto medidas
numéricas quanto espaciais podem coexistir na mesma árvore. Para viabilizar tais
estruturações, o hipercubo deve ser aquele descrito por Stefanovic et al. (1997; 2000).
Retomando a descrição da aR-tree, é importante frisar que ela também define
uma hierarquia entre MBR que formam uma treliça, em que E
l
é o conjunto de valores
materializados para todas as entradas dos nodos do nível l da árvore. Se E
i
pode ser respondido
por E
j
, então E
i
E
j
. Se a altura da árvore é h, então E
h
contém apenas um membro: o resultado
agregado de todos os objetos. A existência da treliça é assegurada porque o operador impõe
ordem aos conjuntos E
l
, e um elemento cabeça E
0
do qual dependem todos os conjuntos E
l
.
Na Figura 27 exibe-se a treliça para a árvore da Figura 24a, os conjuntos E
0
, E
1
, E
2
e as
agregações (AG) que os originam. Observa-se que E
1
= E
h-1
é o conjunto do nodo raiz da
árvore, e que cada E
l
corresponde a um nível da árvore.
E
0
= (3, 1, 2, 0, 4) (AG(a
2
), AG(a
3
), AG(a
5
), AG(a
1
), AG(a
4
))
E
1
= (6, 4) (AG(a
2
, a
3
, a
5
), AG(a
1
, a
4
))
E
2
= (10) (AG(a
2
, a
3
, a
5
, a
1
, a
4
)) todos
Figura 27 A treliça para a aR-tree da Figura 24a (PAPADIAS et al., 2001).
Uma vez incorporada à treliça, a aR-tree desfruta de todas as vantagens
conferidas aos DW não-espaciais. Uma delas é o suporte a múltiplas dimensões, cuja
implementação foi previamente comentada. Supondo a existência de uma dimensão não-
espacial todos (
all
) C
t
que modela tipos de veículos (vide Figura 25a), a treliça resultante para
as dimensões E
0
e C
t
é exibido na Figura 28. O nodo E
0
C
t
corresponde à consulta que retorna o
número de veículos em cada rua agrupado por seu tipo, por exemplo. Se houver no esquema
estrela mais que uma dimensão espacial, então uma aR-tree distinta deve ser criada para cada
uma delas.
Outra vantagem diz respeito à materialização de visões, que consiste na seleção
e materialização de conjuntos E
l
a fim de acelerar o processamento das consultas. Esta é uma
boa iniciativa quando, além de hierarquias ad-hoc, existem hierarquias definidas em tempo de
projeto (bairro rua, por exemplo). Usa-se então a combinação destas hierarquias e alguns
63
níveis da árvore, para alcançar baixo custo no processamento das consultas. Isto é realizado
criando-se uma visão da árvore por meio de redefinições de ponteiros, interligando alguns de
seus níveis e dispensando outros intermediários. A construção de uma visão materializada não
modifica o índice, pois cria uma estrutura à parte.
(a) Dimensão espacial
(b) Dimensão não-espacial
(c) Treliça resultante
Figura 28 Treliça composta de uma dimensão espacial e outra não-espacial (PAPADIAS et al., 2001).
Antes de descrever o processamento das consultas, é válido comentar dois fatos
sobre a aR-tree. Primeiramente, para hierarquias conhecidas em tempo de projeto, a
materialização é preferível à indexação usando a aR-tree. Logo, o processamento de consultas
que envolvam uma dimensão espacial “Local” com a hierarquia de relacionamento de
atributos região nação cidade endereço pode ser feito com maior agilidade usando
visões materializadas do que usando a indexação com a aR-tree (PAPADIAS et al., 2001).
Contudo, as dimensões com hierarquias ad-hoc (sistema de supervisão de tráfego
exemplificado) ainda carecem deste índice para obter um bom desempenho no processamento
de consultas.
O segundo fato se refere à forma de divisão do espaço indexado. Os autores
afirmam que, além do método de agrupamento de objetos proposto pela R-tree, outros podem
ser utilizados. Por exemplo, o modo proposto pela Quadtree (GAEDE; GÜNTHER, 1998). É
importante ressaltar que o modo de agrupamento influencia o estabelecimento de hierarquias
ad-hoc e a construção da árvore.
3.4.2 Processamento de consultas
O processamento das consultas usando aR-tree é realizado por meio do
percurso da árvore a partir de seu nodo raiz, seguindo em direção aos nodos folha. Todas as
64
entradas dos nodos visitados são testadas em relação à janela de consulta (JC), e uma das
seguintes condições ocorre:
a) se o MBR da entrada e a JC são disjuntas (não interseção), então a entrada não é
recuperada;
b) se o MBR da entrada está contido na JC, recupera-se a informação agregada da entrada,
evitando acesso ao nodo filho; e
c) se o MBR da entrada sobrepõe parcialmente a JC, o nodo filho desta entrada deve ser
percorrido. Se for um nodo folha, então a resposta é estimada ou computada acessando os
dados originais.
uma diferença fundamental entre este algoritmo de busca e o respectivo
algoritmo da R-tree. Na R-tree, se a JC for muito grande, emprega-se a busca seqüencial sobre
os objetos ao invés do índice. Já na aR-tree, para consultas que promovem agregação, existem
dois casos:
a) a JC é muito grande. Logo, muitos nodos intermediários estarão nela contidos. Então os
resultados pré-calculados são usados, evitando-se visitar os objetos individualmente; e
b) a JC é muito pequena. Então, a aR-Tree age como um MAM, permitindo a seleção dos
objetos candidatos.
Pode ocorrer o caso em que existem múltiplas janelas de consulta q
i
, em que
cada uma define uma região de agrupamento sobre a qual se aplica a função de agregação,
compondo o conjunto Q. Um exemplo de consulta assim é: “para cada JC, encontre o número
total de carros em seu interior localizados em segmentos de ruas”. Nesta situação, percorre-se
recursivamente a árvore, seguindo somente pelas entradas que intersectam parcialmente
alguma janela, calculando os valores das funções de agregação durante o caminho.
Se o nível de granularidade da consulta for mais baixo, como o de “para cada
segmento de rua no interior da JC, calcule o número de carros”, então os nodos no interior da
JC também são percorridos no sentido das folhas, a fim de encontrar os MBR dos objetos
espaciais candidatos. Isto é válido tanto para uma JC quanto para um conjunto delas. Deste
modo, a aR-tree age como um MAM sobre a tabela de fatos.
Por fim, relata-se que a aR-tree pode ser empregada ainda sob um DWG
distribuído, conforme expõem Gorawski e Chechelski (2005). Eles apresentam uma técnica de
balanceamento para este ambiente, visto que nele o balanceamento em computadores com
capacidades distintas é o maior problema. Sua abordagem define um algoritmo de
balanceamento para um DWG distribuído em uma arquitetura shared nothing, fixando o
65
tamanho do conjunto de dados armazenado em cada nodo. Este trabalho não será discutido,
embora cite e aplique a aR-tree.
3.5 a3DR-tree e aRB-tree
Papadias et al. (2002), motivados pelo emergente armazenamento de grandes
volumes de dados multidimensionais envolvendo tempo em aplicações diversas, como
supervisão de tráfego e telefonia celular, propuseram estruturas de indexação espaço-
temporais para DW. Sua abordagem modela as dimensões espacial e temporal em uma mesma
dimensão combinada no hipercubo, integrando indexação espaço-temporal com pré-agregação
de medidas sob a implementação de múltiplas árvores.
O ambiente é caracterizado por falta de hierarquias predefinidas, e o enorme
volume de dados requer estratégias de pré-agregação de algumas visões. As agregações
podem permanecer constantes por longos intervalos, exigindo menos espaço para
armazenamento. Por exemplo, embora o número exato de carros em trânsito em uma área da
cidade possa ser alto, as aproximações “tráfego intenso”, “tráfego médio” e “pouco tráfego”
agregam a quantidade de veículos de forma que ela permaneça constante por certo tempo.
São duas as vertentes analisadas em seu trabalho. Uma vertente considera que
as dimensões espaciais são dinâmicas e evoluem no tempo. Por exemplo, a área de uma célula
de cobertura de dio, que exposta a condições climáticas pode ter seu raio alterado. A outra
vertente analisa dimensões espaciais estáticas, tal como a análise do tráfego nas ruas de uma
cidade. Esta segunda abordagem é a que será tratada, porque este trabalho não contempla o
estudo de objetos espaciais cujas geometrias mudam ao longo do tempo.
A primeira proposta é uma generalização da aR-tree para o espaço
tridimensional, denominada a3DR-tree (aggregate 3DR-tree). Cada entrada r tem a forma
<
r
.MBR,
r
.pointer,
r
.lifespan,
r
.aggr[]>, e portanto mantém o MBR do objeto espacial indexado,
um ponteiro para um nodo de nível inferior (ou para o endereço efetivo da tupla), o intervalo
durante o qual o valor da medida é válido e a medida agregada. Sempre que a medida se
altera, uma nova entrada é criada. A Figura 29c exibe as entradas requeridas para uma região
R
1
de acordo com os valores agregados (Figura 29b), supondo a R-tree da Figura 29a.
Desta maneira, a 3DR-tree possibilita a integração das dimensões espacial e
temporal na mesma dimensão. Contudo, desperdiça espaço porque armazena o MBR a cada
vez que mudança na medida agregada. Por exemplo, o MBR de R
1
é armazenado 4 vezes .
Além disso, sua estrutura é grande em tamanho, porém seus nodos têm pequeno fanout,
comprometendo a eficiência do processamento de consultas.
66
Região
Tempo
Quantidade
R
1
1
150
<R
1
.MBR, R
1
.ptr, [1, 1], 150>
R
1
2
150
<R
1
.MBR, R
1
.ptr, [1, 2], 300>
R
1
3
145
<R
1
.MBR, R
1
.ptr, [1, 3], 445>
R
1
4
135
<R
1
.MBR, R
1
.ptr, [1, 4], 580>
R
1
5
130
(a) Exemplo de R-tree
(b) Fragmento da tabela de fatos
(c) Entradas para R
1
Figura 29 Exemplo de a3DR-tree (PAPADIAS et al., 2002).
A segunda proposta, a aRB-tree (aggregate RB-tree) visa armazenar as regiões
que constituem a hierarquia espacial apenas uma vez, indexando-as por uma R-tree. As
entradas da R-tree têm um ponteiro para uma B-tree, a qual armazena os valores históricos
agregados referentes à entrada.
Cada entrada r da R-tree tem a forma <
r
.MBR,
r
.pointer,
r
.btree,
r
.aggr[]>, em
que MBR e pointer têm seus significados usuais,
r
.btree é o ponteiro para a B-tree
correspondente e
r
.aggr[] mantém dados resumidos sobre r acumulados por todos os
intervalos. Cada entrada b da B-tree tem a configuração <
b
.time,
b
.pointer,
b
.aggr[]>, sendo
que
b
.aggr[] constitui os dados agregados no tempo
b
.time. Se o valor de
b
.aggr[] não muda em
intervalos consecutivos, então não é replicado.
A Figura 30, adaptada de Papadias et al. (2002), ilustra uma aRB-tree para
diversas regiões, dentre elas a região R
1
da Figura 29. Por exemplo, 710 armazenado na
entrada R
1
da R-tree denota a quantidade de objetos dentro de R
1
. Já a primeira entrada folha
na B-tree para R
1
(1, 150) informa que o número de objetos em R
1
durante o intervalo [1, 1] é
150. De modo similar, a primeira entrada na raiz da mesma B-tree (1, 445) traduz o fato de
que existem 445 objetos em R
1
no intervalo [1, 3]. A B-tree corresponde à agregação para o
espaço todo, respondendo eficientemente a consultas que envolvem apenas predicados
temporais.
O processo de agregação dos resultados de consultas é facilitado, pois se
dispensa a visita a nodos totalmente incluídos na janela de consulta (JC). Um exemplo é
encontrar todos os objetos na janela de consulta da Figura 31 durante o intervalo [1,3]. A
busca começa na raiz da R-tree. A janela de consulta contém R
5
em sua totalidade, então a B-
tree de R
5
é acessada. Ela tem o nodo raiz (1, 685) e (4, 445), que denotam os dados
resumidos para os intervalos [1, 3] e [4, 5], respectivamente. Então é desnecessário visitar
nodos inferiores da B-tree. Portanto, R
5
contribui com a busca apontando o valor 685.
A segunda entrada da árvore, R
6
, é sobreposta parcialmente pela JC. Então o
nodo é visitado. Dentro dele, apenas R
3
intersecta a JC, e sua B-tree é acessada. A primeira
entrada da raiz dela determina que a colaboração de R
3
para o intervalo [1, 2] é 259. Para
67
completar o resultado, é necessário percorrer o vel inferior, e recuperar o valor agregado de
R3 para o tempo 3: 125. O resultado da consulta é a soma 685+259+125.
Figura 30 Um exemplo de aRB-tree para as regiões da Figura 29a.
Da mesma forma que a aR-tree, a aRB-tree responde a consultas com group-
by. Isto é, para um conjunto de janelas de consulta, tal como: “para todo bairro da cidade,
encontre o tráfego médio durante as horas de pico”. Porém, diferentemente da aR-tree, a aRB-
tree não possui um algoritmo específico para este caso. Na realidade, o mesmo algoritmo para
uma janela de consulta é empregado para cada JC do conjunto, culminando em mais que uma
visita a nodos sobrepostos por mais de uma JC. Papadias et al. (2002) afirmam que a extensão
de algoritmos aptos a realizar a junção espacial entre os dados indexados pela R-tree com os
da janela de consulta são mais eficientes neste sentido. É válido ressaltar que a união das
janelas não necessariamente cobre o espaço inteiro. Por exemplo, se a janela de consulta JC
da Figura 31 representar a união de um conjunto de janelas, é simples perceber que nem todos
os objetos do espaço são sobrepostos por ela.
Figura 31 Exemplo de consulta para a aRB-tree.
Observa-se que, além de uma estrutura de indexação, a aRB-tree consiste no
próprio cubo de dados do DW espaço-temporal. Se os dados agregados não são muito
dinâmicos, estima-se que o tamanho da estrutura é inferior ao do cubo, pois não replica
68
informações que permanecem constantes em intervalos de tempo adjacentes. No pior caso, os
dados resumidos de todas as regiões se alteram a cada rótulo de tempo, então o tamanho da
aRB-tree é o dobro do tamanho do cubo. Isto porque os nodos folha consomem pelo menos
metade do espaço.
Os testes de desempenho da a3DR-tree e da aRB-tree foram realizados por
Papadias et al. (2002) implementando a B+-tree (FOLK; ZOELLICK, 1992) e a R*-tree
(BECKMANN et al., 1990). Dois parâmetros têm influência direta sobre os resultados: o
tamanho da JC (corresponde à razão do espaço total do universo) e o comprimento do
intervalo de tempo. O primeiro determina que, à medida que a janela cresce, aumenta o
número de B-tree’s que precisam ser visitadas. O segundo indica que o número de B-tree’s
acessadas pela aRB-tree é constante, porque longos intervalos têm chance de ser respondidos
pelo nodo raiz ou nodos próximos dele.
Por outro lado, conforme crescem os intervalos, a chance da informação
agregada também se alterar igualmente aumenta. Logo, o crescimento linear do custo da
a3DR-tree, porque diversas versões do mesmo nodo devem ser recuperadas (cada uma tem
valores diferentes da medida agregada). Portanto, para intervalos curtos, a a3DR-tree é menos
custosa que a aRB-tree, que não tem necessidade de acessar uma B-tree para recuperar
dados resumidos. Quando os intervalos crescem, a aRB-tree supera a a3DR-tree.
3.6 Considerações Finais
Neste capítulo foram discutidas estruturas de indexação para DW e DWG.
O Índice Bitmap é alheio aos problemas relacionados ao excesso de dimensões. Por outro
lado, ele enfrenta dificuldades quando indexa atributos com alta cardinalidade. A razão para
isto é que a complexidade de seu espaço de armazenamento é o produto da cardinalidade do
atributo indexado, |X|, pelo número de tuplas da relação, N. No pior caso, |X| = N, e a
complexidade atinge indesejáveis N
2
. A complexidade do processamento das consultas é
função do número de vetores de bits que são acessados, e do número de operações lógicas
realizados sobre os mesmos. de se destacar a rapidez com que tais operações lógicas
podem ser realizadas, visto o auxílio fornecido pelo hardware. O Índice Bitmap torna-se ainda
mais importante quando aplicado sobre a forma de índice de junção, sendo perfeitamente
adequado para indexar junções em um esquema estrela.
São propostas três técnicas a fim de atenuar os prejuízos causados pela alta
cardinalidade de um atributo. Binning é a primeira técnica comentada, e consiste em indexar
faixas de valores inteiras usando vetores de bits. Por exemplo, criar um vetor para cada uma
69
das faixas: [0; 20), [20; 40) e [40; 60), segundo a relação de ordem total para os números
inteiros. Este recurso de aproximação reduz a quantia de vetores armazenados e pode diminuir
o número de vetores acessados em uma consulta. Todavia, introduz falsos candidatos dentre
os resultados da consulta, obrigando realizar uma fase de refinamento junto aos dados
originais.
Em seguida, foi descrita a técnica de compressão. Se por um lado comprimir
bits do Índice Bitmap poupa espaço de armazenamento, por outro lado aumenta o tempo de
execução das operações lógicas bit-a-bit. Por fim, a codificação é uma técnica de mapeamento
do domínio de valores de um atributo. Ou seja, visando diminuir o número de vetores
mantidos em disco e acessados no processamento de consultas, um atributo tem seus valores
codificados. Os valores codificados é que são armazenados no índice. A codificação binária
possui bom desempenho em termo de número de acessos e espaço de armazenamento. Ela é
aplicada sobre os índices Bit-sliced (O’NEIL, P.; QUASS, 1997) e Bitmap codificado (WU,
M.; BUCHMANN, 1998). Ambos têm comprovada eficiência em domínios com relação de
ordem total.
Conclui-se que o Índice Bitmap é bastante adequado ao DW, e apresenta
campos de pesquisa promissores no tocante às três técnicas mencionadas. Se ainda mais
trabalhos forem produzidos nestes campos, o bom desempenho alcançado pelo Índice Bitmap
poderá ser incrementado. Observa-se ainda que os trabalhos científicos sobre este índice
tiveram início na década de 1990, e têm prosseguimento até os dias atuais, seja para atuar em
DW ou não. Fica também evidente o equilíbrio que se deve atingir pela combinação das três
técnicas descritas.
As dificuldades associadas à implementação e manutenção do Índice Bitmap
sob os detalhes de baixo nível dos SGBD, e o fato de não haver nenhum projeto definitivo ou
padrão para sua estrutura são obstáculos apontados por O’Neil, E. et al. (2007) que têm
inibido sua adoção nos sistemas comerciais. Os obstáculos impostos à adoção do Índice
Bitmap também incluem seu alto custo de atualização após novas inserções, o que obriga
todos os vetores de bits a serem modificados.
O sistema FastBit foi identificado como sendo atualmente o único software
livre na atualidade voltado à construção e a manipulação do índice Bitmap. Ele permite a
criação de IBJ e ainda viabiliza a aplicação de técnicas de binning, compressão e codificação.
Por isso, constitui uma excelente opção. Por outro lado, não foi verificado em FastBit o
suporte à indexação de DWG.
70
Na literatura consultada, não foi encontrado nenhum relato do emprego do
Índice Bitmap em DWG. Porém, é possível antecipar a dificuldade de se propor um índice
para DWG. Ao mesmo tempo em que se almeja uma boa manipulação dos objetos espaciais,
uma preocupação com a quantidade de dimensões envolvidas nas consultas. E mais: deve-
se procurar conciliar as operações roll-up, drill-down, slice-and-dice etc. com as consultas
espaciais. Em adição, devem ser propostas soluções para as questões relacionadas às
hierarquias de relacionamento de atributos e à própria junção estrela. Outra propriedade que
desperta a atenção é a de que objetos espaciais, embora possuam relacionamentos topológicos
(interseção, inclusão etc.), não seguem uma relação de ordem total.
O único índice específico para DWG encontrado na literatura é a aR-tree
(PAPADIAS et al., 2001). Ele é adequado para domínios em que os objetos espaciais são
organizados por meio de hierarquias ad-hoc. Todavia, este não é o caso para muitas das
aplicações de DWG, que usam hierarquias predefinidas, tais como região nação cidade
endereço. Visões materializadas para tais hierarquias provêm um tempo de resposta mais
baixo do que acessar a aR-tree. Portanto, não existe um índice eficiente para DWG que possa
prover suporte às hierarquias espaciais predefinidas e que lide adequadamente com a
multidimensionalidade. O SB-index, apresentado nesta dissertação, é proposto exatamente
para esta finalidade. Além disso, ao contrário da a3DR-tree e da aRB-tree, o presente trabalho
não enfoca o contexto espaço-temporal, mas apenas o espacial.
71
4. SB-INDEX
O Spatial Bitmap Index, ou apenas SB-index, é uma estrutura de indexação
para DWG cuja proposta:
a) introduz o Índice Bitmap em DWG;
b) reutiliza as técnicas criadas para o Índice Bitmap, tais como binning, compressão e
codificação;
c) estende ao DWG as vantagens tradicionais já proporcionadas pelo Índice Bitmap ao DW,
tal como o suporte eficiente à multidimensionalidade; e
d) otimiza o acesso a DWG com tabelas de dimensão espacial possuindo atributos espaciais
organizados em uma hierarquia predefinida.
O SB-index consiste em uma adaptação do Índice de Projeção, incidindo sobre
o atributo que compõe a chave primária da tabela de dimensão espacial. Cada entrada do
SB-index mantém um valor de chave e um MBR, os quais são associados a um determinado
objeto espacial. Embora requeira um percurso seqüencial pela estrutura de indexação, o
processamento de consultas do SB-index possui duas virtudes que são fundamentais para um
DWG:
a) filtra os objetos espaciais;
b) evita a computação da junção-estrela.
O filtro auxilia o cálculo do predicado espacial. Depois de calculado, o
predicado espacial é transformado em um predicado convencional, o qual pode ser computado
em conjunto com os outros predicados convencionais da consulta. Esta estratégia permite que
a resposta completa da consulta seja obtida por meio de um Índice Bitmap de Junção Estrela.
Ao contrário da aR-tree, o SB-index foi projetado para DWG em que os
atributos espaciais são organizados em hierarquias predefinidas. Deste modo, o SB-index
viabiliza o processamento de operações OLAP (como roll-up e drill-down) aliadas a
predicados espaciais (como intersecta, está contido e contém). É importante ressaltar que
este trabalho não investiga o uso do SB-index sobre medidas espaciais.
Nas seções seguintes, são descritos a estrutura de dados, o procedimento de
construção do índice, o processamento de consultas do SB-index e os testes de desempenho
realizados para validar a proposta.
4.1 Estrutura de Dados do SB-index
Definiu-se o tipo de dados sbitvector (Spatial Bit-Vector) contendo um valor de
chave e um MBR. A chave referencia a chave primária da tabela de dimensão espacial e
72
identifica o objeto espacial representado pelo MBR correspondente. A Figura 32a exemplifica
como é obtido o MBR a partir de um objeto espacial com a forma geométrica de um polígono.
a Figura 32b exibe a estrutura de dados do tipo sbitvector. O MBR é definido por dois
pares de coordenadas, traduzidos em quatro números reais de dupla precisão: (X
mín
, Y
mín
) e
(X
máx
, Y
máx
). Tendo em vista que o emprego de chaves artificiais (surrogate keys) é comum
em DW, a chave primária pode ser expressa por um número inteiro. Portanto, o tamanho de
um objeto do tipo sbitvector é obtido pela expressão s = sizeof(int) + 4 × sizeof(double).
Conceitualmente, o SB-index é um vetor unidimensional do tipo sbitvector,
como mostra a Figura 32c. A i-ésima entrada do SB-index aponta para o i-ésimo vetor de bits
de F, conforme ilustra a Figura 22. Por exemplo, considere-se que F[0] representa lo_suppkey
= 1 na tabela de fatos. Então, SB-index[0] mantém o valor de chave 1 e o MBR do objeto
espacial identificado por s_suppkey = 1. Além disso, para acessar o vetor de bits associado a
SB-index[0] requer-se apenas aplicar o deslocamento 0 para ler F, ou seja: F[0]. Logo, SB-
index[0] aponta implicitamente para o vetor de bits que é apontado por F[0]. Por fim, manter
o SB-index como um array residente na memória primária pode trazer sérias limitações ao
seu uso. Por isso, o SB-index é implementado como um arquivo seqüencial, em disco, cujas
páginas possuem um tamanho fixo.
(a) Um objeto espacial e o seu MBR.
(b) O tipo sbitvector.
(c) O vetor SB-index.
Figura 32 Elementos básicos para estrutura de dados do SB-index.
4.2 Construção da Estrutura de Indexação
A construção do SB-index requer uma conexão ao banco de dados que mantém
o DWG. Primeiramente ocorre o processo de extração, que executa uma consulta SQL
realizando as seguintes tarefas:
a) seleciona da tabela de dimensão espacial aquele atributo que compõe a chave primária
bem como o atributo espacial desejado;
b) classifica os resultados da consulta pela chave primária, em ordem crescente;
73
c) obtém o MBR dos objetos espaciais envolvidos.
Para cada tupla resultante da resposta da consulta, cria-se uma entrada em um
buffer do tipo sbitvector, residente na memória primária. Quando o buffer fica cheio, ele é
escrito em uma página de disco, na etapa chamada de armazenamento. O processamento
destas duas etapas se repete até que todas as tuplas resultantes da consulta SQL tenham sido
extraídas e posteriormente armazenadas. A classificação promovida por esta consulta objetiva
criar um arquivo de índice ordenado pelos valores da chave primária. Conseqüentemente,
SB-index[i] refere-se a F[i], como descrito na seção anterior. A existência de uma hierarquia
entre os atributos espaciais define que objetos de diferentes níveis de granularidade são
associados a atributos distintos no banco de dados. Esta separação deve ser mantida no
SB-index, resultando na construção de um índice para cada atributo da hierarquia.
A Figura 33 ilustra o processo de construção do SB-index. Tanto o buffer
quanto uma página de disco possuem L entradas, sendo que L é o número máximo de entradas
do tipo sbitvector que podem ser armazenados em uma página de disco. O tamanho de uma
entrada do tipo sbitvector ocupa s = sizeof(int) + 4×sizeof(double) = 4 + 4×8 = 36 bytes. Se
uma página de disco tem 4096 bytes, então ela comporta L = (4096 DIV 36) = 113 entradas,
assim o tamanho do buffer deve ser no mínimo de 113×36 = 4068 bytes. A fim de evitar a
fragmentação de entradas entre páginas de disco distintas, uma porção de bytes inutilizados
deve separá-los. Neste exemplo, a porção de bytes inutilizados corresponde a U = 4096 -
4068 = 28 bytes. A estratégia de evitar a fragmentação visa reduzir o número de acessos a
disco no processamento de consultas usando o SB-index. Em caso de fragmentação, pode ser
necessário realizar dois acessos a disco para obter uma entrada do índice.
Figura 33 O processo de construção do SB-index.
74
A Figura 34 exibe o algoritmo de construção do SB-index.
Sejam:
L: a quantidade de objetos do tipo sbitvector que uma página de disco é capaz de armazenar;
U: a porção de bytes inutilizados entre duas páginas de disco;
idx: o arquivo do SB-index;
T: uma tabela de dimensão espacial;
pk: o atributo que compõe a chave primária da tabela T;
ae: o atributo espacial da tabela T;
Construir ( L, U, idx, T, pk, ae )
Saída: Arquivo do SB-index devidamente construído em disco
01
recordptr ← execute_sgbd (select pk, x
mín
(ae), y
mín
(ae), x
máx
(ae),
y
máx
(ae) from T order by pk)
02
i ← 0
03
abra (idx)
04
enquanto (recordptr ≠ eof ) faça
05
enquanto (i ≤ L) e (recordptr ≠ eof ) faça
06
buffer[i].pk ← recordptr.pk
07
buffer[i].x
mín
← recordptr.x
mín
08
buffer[i].y
mín
← recordptr.y
mín
09
buffer[i].x
máx
← recordptr.x
máx
10
buffer[i].y
máx
← recordptr.y
máx
11
i ← i + 1
12
recordptr.próximo( )
13
fim-enquanto
14
i ← 0
15
escreva (buffer, idx)
16
avance (U, idx)
17
fim-enquanto
18
feche (idx)
Figura 34 Algoritmo da construção do SB-index.
No algoritmo da Figura 34, a linha 01 consiste em executar uma consulta no
SGBD (execute_sgbd), que busca pela chave primária da tabela de dimensão espacial, além
dos pares de coordenadas (X
mín
Y
mín
) e (X
máx
Y
máx
) de um atributo espacial desta tabela. A
obtenção destas coordenadas usa as funções de manipulação de objetos geográficos do SGBD.
Os resultados da consulta compõem um conjunto de registros que podem ser acessados pelo
ponteiro recordptr. O ponteiro, inicialmente, referencia o primeiro registro. Depois que o
arquivo do SB-index é aberto, inicia-se uma repetição que cessa apenas depois que o ponteiro
percorra todos os registros (linhas 04 até 17).
Em cada iteração, deve-se preencher um buffer do tipo sbitvector, de
comprimento L, (linhas 05 até 13) com dados resultantes da consulta submetida. Depois,
escreve-se o conteúdo do buffer em uma página de disco do arquivo do índice (linha 15). Em
seguida, avança-se o ponteiro do arquivo do índice em U bytes, a fim de evitar a fragmentação
de páginas de disco (linha 16). O preenchimento do buffer (linhas 05 a 13) consiste em copiar
75
para uma entrada os dados de um registro resultante da consulta. O preenchimento dura até
que o buffer se torne cheio (i>L) ou até que os registros tiverem sido todos lidos
(recordptr = eof). Depois de copiar os dados de um registro para uma entrada do buffer, o
ponteiro de leitura dos registros é movido para o próximo registro (linha 12).
4.3 Processamento de Consultas Usando SB-index
As consultas SOLAP que incidem sobre o DWG possuem predicados
convencionais e espaciais. O SB-index avalia o predicado espacial e indica as chaves
primárias dos objetos espaciais que satisfazem este predicado. De posse destas chaves, cria-se
um novo predicado convencional que é combinado àqueles existentes na consulta. Então,
um Índice Bitmap de Junção pode ser empregado para avaliar todos eles e prover a resposta
completa para a consulta SOLAP. Assim, como ilustra a Figura 35, o processamento de
consultas usando o SB-index é dividido em duas etapas. A primeira exige um percurso
seqüencial sobre o SB-index e a adição de candidatos (possíveis respostas) a uma coleção
(passos 1 a 3 da Figura 35). A segunda etapa requer checar quais candidatos são realmente
respostas da consulta submetida ao DWG, criando um predicado convencional para as
respostas encontradas (passos 3 a 5 da Figura 35).
Figura 35 O processamento de consultas usando o SB-index.
Durante a busca feita sobre o arquivo do SB-index (passo 1), cada gina de
disco deve ser lida e copiada para um buffer na memória primária. Depois da cópia, percorre-
se o buffer seqüencialmente, verificando para cada entrada se o seu MBR satisfaz o predicado
espacial (passo 2). Em caso positivo, o valor da chave correspondente deve ser adicionado a
76
uma coleção de dados (passo 3). Após a busca seqüencial sobre o SB-index, todos os
candidatos que satisfizerem o predicado espacial terão sido colecionados. Basicamente, esta
etapa filtra as possíveis respostas.
Uma segunda etapa verifica quais candidatos são, de fato, respostas para o
predicado espacial. Esta etapa é o refinamento, que acessa a tabela de dimensão espacial
usando as chaves primárias dos candidatos (passo 4). Ele obtém os objetos espaciais originais
e os avalia em relação ao predicado espacial da consulta. Esta avaliação é realizada usando as
funções disponibilizadas pelo SGBD. Se um determinado objeto satisfaz o predicado espacial,
então a sua chave primária é usada para compor um novo predicado convencional (passo 5). É
exatamente neste ponto que o SB-index transforma o predicado espacial em um predicado
convencional, da maneira que segue.
As chaves primárias de todos os objetos espaciais que satisfazem o predicado
espacial são concatenadas a uma cadeia de caracteres (string). A Figura 35 exemplifica esta
concatenação: primeiro concatena-se “PK=1”, depois, “OR PK=9”, resultando em “PK=1 OR
PK=9”. A string resultante representa fielmente o predicado convencional que é gerado a
partir do predicado espacial. Considerando que a consulta SOLAP foi escrita sem o predicado
espacial e que também consiste em outra string, então basta concatenar a string do predicado
convencional à string da consulta SOLAP, para que a transformação do predicado espacial em
predicado convencional esteja completa. Por fim, esta nova consulta é repassada ao software
FastBit, o qual manipula um Índice Bitmap de Junção para respondê-la.
O algoritmo do processamento de consultas usando o SB-index é apresentado
na Figura 36.
Sejam:
idx: o arquivo do SB-index;
L: a capacidade de objetos do tipo sbitvector que uma página de disco armazena;
R: um relacionamento espacial (intersecta, contém ou está contido);
jc: a janela de consulta espacial;
candidatos: uma porção da memória primária para acomodar as chaves primárias dos objetos
espaciais considerados candidatos à resposta do predicado espacial;
predicado_conv: uma string que conterá o predicado convencional resultante do
processamento de consultas do SB-index;
T: uma tabela de dimensão espacial;
pk: o atributo que compõe a chave primária da tabela T;
ae: o atributo espacial da tabela T (i.e. geometria do objeto);
consulta: a string da consulta SOLAP sem o predicado espacial;
resposta: o conjunto solução da consulta;
77
Busca_Seqüencial(idx, L, R, jc, candidatos, predicado_conv,
T, pk, ae, consulta, resposta)
Saída: resposta da consulta SOLAP
Declarações: página, buffer
01
abra (idx)
02
n ← 0
03
enquanto não (eof (idx))
04
leia (idx, página)
05
copie (página, buffer)
06
para i ← 0 até L faça
07
se R(buffer[i], jc)
08
então candidatos[n] ← buffer[i].pk
09
n ← n + 1
10
fim-para
11
fim-enquanto
12
feche (idx)
13
para i ← 0 até n faça
14
se (execute_sgbd(select R(jc, ae) from T where pk=candidatos[i]))
15
então concatene (candidatos[i], predicado_conv)
16
fim-para
17
concatene (predicado_conv, consulta)
18
resposta execute_fastbit (consulta)
Figura 36 Algoritmo do processamento de consultas usando o SB-index.
O algoritmo da Figura 36 inicia abrindo o arquivo do SB-index e zerando a
variável contadora de candidatos (linhas 01 e 02). As linhas 03 até 11 mostram um processo
iterativo que coleciona todas as possíveis respostas do predicado convencional, percorrendo
todas as entradas do SB-index. Neste processo, lê-se uma página de disco do índice para
depois copiá-la num buffer (linhas 04 e 05). Um novo processo de repetição é responsável por
percorrer todas as entradas do buffer, testando se o MBR de cada entrada satisfaz o
relacionamento espacial (linha 07). Caso o relacionamento se verifique, então copia-se a
chave primária da entrada para a coleção de candidatos (linha 08), e incrementa-se o contador
de candidatos (linha 09).
Após a leitura integral do índice, fecha-se o arquivo correspondente (linha 12).
Neste momento, é necessário refinar cada uma das entradas da coleção de candidatos. O
refinamento também é um processo iterativo, como mostram as linhas 13 até 16. Cada entrada
da coleção tem a sua chave primária fornecida para uma consulta no banco de dados. Esta
consulta testa se o objeto espacial representado pela chave satisfaz o relacionamento espacial
(linha 14). Em caso positivo, esta chave deve ser concatenada à string do predicado
convencional. Por simplicidade, foi omitida no algoritmo a concatenação do operador lógico
OR, o qual é mostrado na Figura 35.
Após a composição da string do predicado convencional, ela é concatenada à
string da consulta (linha 17). Deve-se recordar que esta consulta consiste na consulta SOLAP
78
sem o predicado espacial. Por fim, obtém-se o conjunto resposta da consulta por meio da
execução da string correspondente, usando o software FastBit.
Evidentemente, o SB-index depende do Índice Bitmap de Junção, e por isso
também é suscetível aos efeitos negativos causados pela alta cardinalidade de um atributo. Por
outro lado, é possível atenuar esses efeitos empregando as técnicas de binning, compressão e
codificação. Nesta dissertação, o SB-index usou a técnica de compressão WAH para atenuar
os prejuízos causados pela alta cardinalidade.
4.4 Testes de Desempenho
Antes de apresentar os resultados obtidos nos testes de desempenho da
construção e do processamento de consultas do SB-index, convém detalhar a amostra dos
dados e as consultas utilizadas nos testes, bem como as configurações e as plataformas de
hardware e software empregadas. As subseções seguintes descrevem estes itens.
4.4.1 Dados e Consultas
O Star Schema Benchmark (SSB) (O’NEIL, P.; O’NEIL, E.; CHEN, X., 2007)
foi adaptado para prover suporte à análise espacial, tal como um DWG. Este benchmark é
derivado do TPC-H (POESS; FLOYD, 2000), e retrata uma aplicação de varejo, em que
produtos são comercializados por fornecedores a clientes durante um certo período. As
adaptações realizadas preservaram os dados descritivos e criaram uma hierarquia de atributos
espaciais baseada nas tabelas de dimensão que existiam. Tanto as tabelas de dimensão
Supplier quanto Customer têm a seguinte hierarquia: Região Nação Cidade Endereço.
Enquanto os domínios dos atributos relativos ao endereço (s_address e c_address) são
disjuntos, as tabelas de dimensão Customer e Supplier compartilham atributos relativos à
cidade, nação e região.
Segundo Fidalgo et al. (2004), em um esquema de DWG, os dados espaciais
não devem ser redundantes, e precisam ser compartilhados sempre que possível. Isto também
foi considerado na adaptação realizada sobre o SSB, exibida na Figura 37. Os atributos com
sufixo “_geo” armazenam os dados geométricos de feições geográficas. Deve-se ressaltar que
este esquema não é normalizado, uma vez que a hierarquia Região Nação Cidade
Endereço não retrata um esquema floco-de-neve (KIMBALL; ROSS, 2002). Ao invés disso, o
armazenamento das geometrias das tabelas de dimensão é separado em tabelas distintas. Por
exemplo, a tabela City mantém as geometrias tanto para a tabela Customer quanto para a
tabela Supplier. A escolha por um esquema híbrido ao invés de um floco-de-neve baseia-se
em reduzir custos associados a junções entre tabelas.
79
O esquema da Figura 37 recebeu o nome de GHSSB (Geographic Hybrid
SSB). Ele foi construído a partir de uma base de dados com fator de escala 10 do SSB. Esta
geração de dados criou 60 milhões de tuplas na tabela de fatos, 5 regiões distintas, 25 nações
por região, 10 cidades por nação, e um número arbitrário de endereços por cidade, variando
de 349 a 455. As cidades, as nações e as regiões são representadas por polígonos, enquanto os
endereços são expressos por pontos. Todas as geometrias foram adaptadas do Tiger/Line
(U.S. CENSUS, 2007). A distribuição de dados espaciais pode ser observada na Figura 38. O
DWG resultante ocupa 15 GB de armazenamento.
Figura 37 SSB transformado em um DWG com esquema híbrido: GHSSB.
Figura 38 A distribuição dos dados espaciais do GHSSB.
Foram definidos quatro tipos de consulta SOLAP, baseadas em consultas do
SSB. As consultas dos Tipos 1, 2 e 3 se referem à consulta Q2.3 do SSB, enquanto o Tipo 4
80
consiste em uma adaptação da consulta Q3.3 do SSB. Os predicados convencionais
sublinhados nas Figuras 39, 40, 41 e 42 foram substituídos por predicados espaciais baseados
em janelas de consulta ad hoc (QW). Estas janelas de consulta são quadráticas e têm
distribuição correlacionada com os dados espaciais. Os centróides das mesmas são endereços
de fornecedores escolhidos arbitrariamente, oriundos da tabela s_address.
As janelas de consulta também permitem a agregação de dados em diferentes
níveis de granularidade espacial, ou seja, viabilizam as operações de roll-up e drill-down
espaciais. As Figuras 39, 40, 41 e 42 mostram como estas operações podem ser realizadas.
Ambas usam quatro janelas de consulta de diferentes tamanhos e com o mesmo centróide. O
tamanho da janela está associado à granularidade espacial a que se refere.
Conforme ilustra a Figura 39, a consulta do Tipo 1 consiste em uma operação
de drill-down/roll-up cujas janelas de consulta verificam o relacionamento espacial está
contido no nível de granularidade Endereço, e intersecta nos níveis de granularidade Cidade,
Nação e Região. As janelas de consulta do Tipo 2, por sua vez, avaliam o relacionamento
espacial está contido em todos os níveis, como mostra a Figura 40. No Tipo 3, como mostra a
Figura 41, o relacionamento espacial está contido é testado no nível Endereço. Porém, nos
demais níveis, o relacionamento espacial avaliado é o contém. Por fim, o Tipo 4 herda as
características do Tipo 1, mas introduz um alto custo extra de junção, pois processa duas
janelas de consulta. O comando SQL da consulta do Tipo 4 é exibido na Figura 42.
Figura 39 Adaptação da consulta Q2.3 do SSB para consultas do Tipo 1.
Figura 40 Adaptação da consulta Q2.3 do SSB para consultas do Tipo 2.
81
Figura 41 Adaptação da consulta Q2.3 do SSB para consultas do Tipo 3.
Figura 42 Adaptação da consulta Q3.3 do SSB para consultas do Tipo 4.
A área de cada janela de consulta foi calculada a partir da área do MBR que
envolve o extent onde estão dispostos os objetos espaciais. Na Tabela 3, são exibidas as
frações do extent cobertas pelas janelas de consulta, segundo cada nível de granularidade e
segundo o tipo da consulta. O Tipo 2 apresenta janelas maiores, a fim de assegurar a
recuperação de objetos espaciais satisfazendo o relacionamento está contido. Por outro lado,
as menores janelas de consulta estão associadas ao Tipo 3, para assegurar a recuperação de
objetos espaciais na verificação do relacionamento contém. Neste sentido, a Tabela 4 mostra
o número médio de objetos espaciais distintos retornados por cada tipo de consulta, em cada
nível de granularidade.
As Figuras 43 e 44 exemplificam janelas de consulta utilizadas no Tipo 1. Na
Figura 43, as janelas de número 1, 2 e 3 se referem aos níveis de granularidade Endereço,
Cidade e Nação, respectivamente. A Figura 44 mostra uma quarta janela envolvendo as três
janelas da Figura 43, referente ao nível de granularidade Região. Estas imagens ilustram
fielmente como as operações SOLAP roll-up/drill-down são viabilizadas. Por fim, a Figura 45
exibe a disposição aproximada das janelas de consulta do Tipo 4. Embora não estejam
exemplificados, os Tipos 2 e 3 possuem janelas de consulta definidas de forma análoga.
82
Tabela 3 Frações do extent sobrepostas por cada janela de consulta.
Tipo da consulta
Granularidade
Tipo 1
Tipo 2
Tipo 3
Endereço
0,001%
0,01%
0,00001%
Cidade
0,05%
0,1%
0,0005%
Nação
0,1%
10%
0,001%
Região
1%
25%
0,01%
Tabela 4 Número médio de objetos espaciais distintos retornados por Tipo de consulta.
Consulta
Granularidade
Tipo 1
Tipo 2
Tipo 3
Tipo 4
Endereço
22,2
190,4
1,0
-
Cidade
5,6
1,4
0,8
13,0
Nação
1,6
1,4
0,8
-
Região
1,2
0,4
1,0
-
Figura 43 Janelas de consulta utilizadas no Tipo 1: níveis Endereço, Cidade e Nação.
Figura 44 Janela de consulta utilizada no Tipo 1: nível Região.
83
Figura 45 Disposição aproximada das janelas de consulta presentes no Tipo 4.
4.4.2 A Plataforma Computacional e as Configurações dos Testes
Os experimentos foram conduzidos em um computador com processador
Pentium D de 2.8 GHz, 2 GB de memória primária, disco rígido SATA de 320 GB e 7200
RPM, sistema operacional Linux CentOS 5.2, PostgreSQL 8.2.5 e PostGIS 1.3.3. Este SGBD
foi selecionado porque é um software livre reconhecido e eficiente. Ainda, o PostGIS é que
habilita no PostgreSQL os tipos de dados e as funções espaciais de acordo com os padrões
OGC (Open Geospatial Consortium) (OPENGIS, 2007). Foram propostas ainda três
configurações distintas de testes baseadas no esquema GHSSB:
a) C1: computação da junção-estrela auxiliada pelo índice espacial R-tree (GUTTMAN,
1984) sobre os atributos espaciais;
b) C2: computação da junção-estrela auxiliada pelo índice espacial GiST (HELLERSTEIN;
NAUGHTON; PFEFFER, 1995; GIST, 2008) sobre os atributos espaciais;
c) C3: SB-index para evitar a junção-estrela.
As configurações C1 e C2 representam os recursos disponíveis atualmente nos
SGBD, para o processamento de consultas SOLAP. A configuração C3 se refere à estrutura
de indexação desenvolvida neste trabalho: o SB-index, que foi implementado usando a
linguagem de programação C++ e compilado com gcc 4.1. Particularmente nestes testes, a
página de disco foi ajustada para 4 KB, e os índices bitmap foram construídos sem métodos
de codificação ou binning, porém com a técnica de compressão WAH.
Para investigar os custos de construção do SB-index, foram medidos o número
de acessos a disco, o tempo decorrido (em segundos) e o espaço de armazenamento requerido
para acomodar o índice. Os experimentos referentes ao processamento de consultas foram
realizados, submetendo-se 5 operações completas de roll-up sobre dados organizados segundo
o esquema GHSSB. Para cada nível de granularidade, coletou-se o tempo decorrido da
84
consulta em segundos, e posteriormente, calculou-se a média das medições obtidas.
Especificamente para a configuração C3, também foi aferido o número de acessos a disco.
4.4.3 Resultados de Desempenho
As subseções seguintes relatam os resultados obtidos na construção do
SB-index e no seu processamento de consultas, para o contexto do esquema GHSSB. Notou-
se que o SB-index requer pouco espaço de armazenamento em relação aos Índices Bitmap de
Junção. Além disso, ele é capaz de reduzir o tempo de resposta das consultas SOLAP em mais
de 90%. Apresenta-se ainda uma análise do comportamento do SB-index frente a diferentes
volumes de dados, mostrando que a sua eficiência não é afetada por este aspecto.
4.4.3.1 Construção
A Tabela 5 exibe os resultados obtidos na construção do SB-index. O Índice
Bitmap de Junção construído usando FastBit ocupa 3,4 GB, e sua construção demorou
12.437,70 segundos (aproximadamente 3h28min). Foram indexados todos os atributos
convencionais necessários para o processamento das consultas definidas na Seção 4.1.
Conforme mostra a coluna Acréscimo, o SB-index requer um acréscimo máximo de 0,10%
aos requisitos de armazenamento, especificamente no nível de granularidade Endereço. Nos
outros três níveis de granularidade, este aumento é ínfimo se comparado ao tamanho do Índice
Bitmap de Junção.
Tabela 5 Medidas coletadas na construção do SB-index para o esquema GHSSB.
Tempo
decorrido (s)
Acessos
a disco
Tamanho do
SB-index
Acréscimo
(%)
Endereço
18
886
3.5 MB
0,10 %
Cidade
4
4
16 KB
0,00047 %
Nação
4
2
8 KB
0,000235 %
Região
2
2
8 KB
0,000235 %
No nível de granularidade Endereço, tem-se 100.000 entradas para serem
acomodadas em páginas de disco de 4096 bytes, e L igual a 113 entradas por página de disco
(4096 DIV 36 = 113). Sabendo-se que 100.000 ÷ 113 ~ 885 e somando uma página de disco
para o cabeçalho do arquivo seqüencial, tem-se 886 acessos a disco. Observando os demais
níveis de granularidade, conclui-se que quanto maior for o número de objetos espaciais, mais
espaço ocupará o índice e maiores serão o número de acessos a disco e o tempo de sua
construção. Em particular, o número de acessos a disco também depende do tamanho da
página de disco utilizada, pois páginas maiores demandam menos acessos.
85
4.4.3.2 Processamento de Consultas
Tipo de Consulta 1 Predicado espacial intersecta
As Tabelas 6 e 7 mostram os resultados referentes ao processamento de
consultas do Tipo 1. A Tabela 6 se refere às configurações C1 e C2. Ela mostra que a junção
estrela, ainda que auxiliada por eficientes índices espaciais, tais como R-tree e GiST,
proporcionou tempos proibitivos para a realização de consultas SOLAP do Tipo 1.
Tabela 6 Medidas coletadas no processamento de consultas do Tipo 1 (vide Figura 39)
executando a Junção Estrela auxiliada por índices espaciais no esquema GHSSB.
A coluna C1 se refere ao uso da R-tree, enquanto a coluna C2 se refere ao uso de GiST.
C1 (s)
C1 (min)
C2 (s)
C2 (min)
Endereço
2.866,51
~ 48
2.853,85
~ 48
Cidade
2.763,17
~ 46
2.758,70
~ 46
Nação
2.766,14
~ 46
2.765,61
~ 46
Região
2.787,83
~ 46
2.790,29
~ 46
A Tabela 7 se refere à configuração C3 (SB-index). Sua quarta coluna,
denominada Redução de tempo, indica em quanto C3 supera o melhor resultado obtido entre
C1 e C2. O SB-index identifica se um ponto está contido em uma janela de consulta,
dispensando a etapa de refinamento. Por isso, o nível de granularidade Endereço apresenta
maior ganho de desempenho. Embora o refinamento seja necessário para testar se um objeto
uni ou bi-dimensional está contido em uma janela de consulta, os ganhos de desempenho do
SB-index também são expressivos nos níveis Cidade, Nação e Região. De forma geral, o
SB-index atuou de forma bastante satisfatória, reduzindo o tempo de processamento das
consultas sempre em mais de 90%. Além disso, analisando a coluna Tempo decorrido usando
índices, vê-se que o SB-index requereu apenas de 0,65% a 1,39% do tempo total de
processamento das consultas.
Tabela 7 Medidas coletadas no processamento de consultas do Tipo 1 (vide Figura 39)
usando o SB-index com o esquema GHSSB. A redução de tempo é calculada em relação
ao melhor resultado dentre C1 e C2 mostrado na Tabela 6.
Tempo decorrido
do SB-index (s)
Tempo decorrido
do FastBit (s)
Tempo decorrido
usando índices (s)
Redução
de tempo
Acessos
a disco
Endereço
0,09
131,82
131,91
95,38%
886
Cidade
0,07
149,93
150,00
94,56%
4
Nação
0,05
201,65
201,70
92,70%
2
Região
0,05
268,32
268,37
90,38%
2
Tipo de Consulta 2 Predicado espacial está contido
As Tabelas 8 e 9 exibem os resultados provenientes do processamento de
consultas do Tipo 2. A configuração C2 (GiST) foi escolhida porque os experimentos não
mostraram diferença significativa entre o uso de R-tree ou GiST. Além disso, C2 se mostrou
86
mais eficiente que C1 na maioria dos casos. Ainda assim, fica nítido na Tabela 8, que a
configuração C2 proporcionou altos tempos de resposta em consultas SOLAP do Tipo 2.
Tabela 8 Medidas coletadas no processamento de consultas do Tipo 2 (vide Figura 40)
executando a Junção Estrela auxiliada por GiST no esquema GHSSB.
C2 (s)
C2 (min)
Endereço
3.004,44
~ 50
Cidade
2.758,30
~ 46
Nação
1.687,82
~ 28
Região
1.140,09
~ 19
A Tabela 9 mostra os resultados referentes à configuração C3 (SB-index).
Sabe-se que o predicado espacial está contido é mais restritivo para polígonos do que o
predicado espacial intersecta. Logo, menos objetos espaciais são conduzidos ao refinamento,
e a quantidade de respostas da consulta SOLAP tende a ser menor. Além disso, as tabelas de
dimensão dos níveis de granularidade Cidade, Nação e Região mantêm poucos objetos
espaciais no esquema GHSSB. Deste modo, a redução de tempo variou de 90,44% a 96,07%.
Desta forma, os ganhos para o predicado contém foram tão bons quanto os obtidos para o
predicado intersecta. Ainda, o SB-index representou as ínfimas frações de 0,09% até 0,99%
do tempo decorrido do processamento de consultas usando índices.
Tabela 9 Medidas coletadas no processamento de consultas do Tipo 2 (vide Figura 40)
usando o SB-index no esquema GHSSB. A redução de tempo é calculada em relação
ao resultado de C2 mostrado na Tabela 8.
Tempo decorrido
do SB-index (s)
Tempo decorrido
do FastBit (s)
Tempo decorrido
usando índices (s)
Redução
de tempo
Acessos
a disco
Endereço
0,11
117,99
118,10
96,07%
886
Cidade
1,41
141,67
143,08
94,81%
4
Nação
0,91
160,50
161,41
90,44%
2
Região
0,62
106,56
107,18
90,60%
2
Tipo de Consulta 3 Predicado espacial contém
As Tabelas 10 e 11 exibem os resultados obtidos no processamento de
consultas do Tipo 3. A Tabela 10 retrata a configuração C2 (Junção Estrela auxiliada por
GiST), enquanto a Tabela 11 retrata a configuração C3 (SB-index). Novamente, o tempo de
resposta do processamento de consultas na configuração C2 mostrou-se proibitivo para todos
os níveis de granularidade (superior a 35 minutos). Por outro lado, o SB-index proporcionou
ganhos de desempenho que superaram 90% em todos os níveis de granularidade (inferior a 5
minutos). Além disso, a participação do SB-index no tempo decorrido da consulta variou de
0,65% a 1,39%. Isto é, o tempo gasto por SB-index é muito pequeno em relação ao tempo
total do processamento da consulta na configuração C3.
87
Tabela 10 Medidas coletadas no processamento de consultas do Tipo 3 (vide Figura 41)
executando a Junção Estrela auxiliada por GiST no esquema GHSSB.
C2 (s)
C2 (min)
Endereço
2.779,02
~ 46
Cidade
2.239,54
~ 37
Nação
2.237,05
~ 37
Região
2.848,80
~ 47
Tabela 11 Medidas coletadas no processamento de consultas do Tipo 3 (vide Figura 41)
usando o SB-index no esquema GHSSB. A redução de tempo é calculada em relação
ao resultado de C2 mostrado na Tabela 10.
Tempo decorrido
do SB-index (s)
Tempo decorrido
do FastBit (s)
Tempo decorrido
usando índices (s)
Redução
de tempo
Acessos
a disco
Endereço
1,11
78,65
79,76
97,13%
886
Cidade
1,13
112,88
114,01
94,91%
4
Nação
1,51
124,31
125,82
94,38%
2
Região
1,74
265,90
267,64
90,61%
2
Tipo de Consulta 4 Predicado espacial intersecta e duas janelas de consulta espaciais
Por fim, as Tabelas 12 e 13 mostram os resultados coletados no processamento
de consultas do Tipo 4. Elas retratam as configurações C2 e C3, respectivamente. Observa-se
que o SB-index proporcionou significativa redução no tempo de resposta da consulta:
76,69%. Em particular, devido ao alto custo deste tipo de consulta em relação às consultas
dos Tipos 1, 2 e 3, foi utilizada uma plataforma de hardware mais aprimorada, com maior
capacidade de processamento e de recursos de armazenamento. Este computador possui um
processador Pentium D com 3.00 GHz, 8 GB de memória primária e um disco rígido SATA
com 750 GB, 7200 RPM e 32 MB de cache.
Tabela 12 Medidas coletadas no processamento de consultas do Tipo 4 (vide Figura 42)
usando a Junção Estrela auxiliada por GiST no esquema GHSSB.
C2 (s)
Cidade
130,34
Tabela 13 Medidas coletadas no processamento de consultas do Tipo 4 (vide Figura 42)
usando o SB-index no esquema GHSSB. A redução de tempo é calculada em relação
ao resultado de C2 mostrado na Tabela 12.
Tempo decorrido
do SB-index (s)
Tempo decorrido
do FastBit (s)
Tempo decorrido
usando índices (s)
Redução
de tempo
Cidade
0,60
29,78
30,38
76,69%
4.4.3.3 Escalabilidade do Volume de Dados
Nesta seção, são descritos alguns resultados obtidos a partir de uma
investigação feita sobre o impacto do crescimento do volume de dados sobre o desempenho
do processamento de consultas SOLAP. Especificamente, tal investigação usou consultas do
88
Tipo 1 (predicado espacial intersecta, vide Figura 39). Para tanto, foram construídos DWG
usando os fatores de escala 2, 6 e 10, representando volumes de dados crescentes. Enquanto o
fator de escala 10 gera 60 milhões de tuplas na tabela de fatos, os fatores 6 e 2 geram 36 e 12
milhões de tuplas, respectivamente. Ou seja, a quantidade de tuplas na tabela de fatos é
proporcional ao fator de escala escolhido. É importante frisar que a alteração sobre o volume
de dados não afetou o número de objetos espaciais nas tabelas de dimensão. Isto é, foram
mantidos 100.000 endereços, 250 cidades, 25 nações e 5 regiões.
Nas Tabelas 14 a 17, constam os resultados dos testes realizados para os níveis
de granularidade Endereço, Cidade, Nação e Região, respectivamente. Nestas Tabelas, a
coluna Redução de tempo indica o quanto a configuração C3 (SB-index) é mais pida que a
configuração C2 (Junção Estrela auxiliada por GiST). Conclui-se que o aumento do volume
de dados não prejudica o ganho de desempenho do SB-index. Particularmente, a redução de
tempo observada foi muito alta, excedendo 89% em todos os níveis de granularidade.
Tabela 14 Medidas coletadas no processamento de consultas do Tipo 1 sobre o
nível de granularidade Endereço, usando volumes de dados distintos do GHSSB.
SSB
Fator de escala 2 (s)
SSB
Fator de escala 6 (s)
SSB
Fator de escala 10 (s)
Configuração C2
594,31
1.803,62
2.853,85
Configuração C3
1,17
1,24
131,91
Redução de tempo
99,80%
99,93%
95,38%
Tabela 15 Medidas coletadas no processamento de consultas do Tipo 1 sobre o
nível de granularidade Cidade, usando volumes de dados distintos do GHSSB.
SSB
Fator de escala 2 (s)
SSB
Fator de escala 6 (s)
SSB
Fator de escala 10 (s)
Configuração C2
562,08
1.686,61
2.758,70
Configuração C3
45,27
104,48
150,00
Redução de tempo
91,95%
93,81%
94,56%
Tabela 16 Medidas coletadas no processamento de consultas do Tipo 1 sobre o
nível de granularidade Nação, usando volumes de dados distintos do GHSSB.
SSB
Fator de escala 2 (s)
SSB
Fator de escala 6 (s)
SSB
Fator de escala 10 (s)
Configuração C2
545,59
1.694,00
2.765,61
Configuração C3
48,26
103,89
201,70
Redução de tempo
91,15%
93,87%
92,70%
Tabela 17 Medidas coletadas no processamento de consultas do Tipo 1 sobre o
nível de granularidade Região, usando volumes de dados distintos do GHSSB.
SSB
Fator de escala 2 (s)
SSB
Fator de escala 6 (s)
SSB
Fator de escala 10 (s)
Configuração C2
552,94
1703,31
2790,29
Configuração C3
56,74
164,87
268,37
Redução de tempo
89,74%
90,33%
90,38%
89
4.4.3.4 Considerações finais
Os diversos testes de desempenho realizados e descritos nas seções anteriores
mostraram resultados relevantes obtidos a partir do uso do SB-index. Primeiramente, observa-
se que a estrutura de dados compacta das entradas do SB-index é determinante para um
acréscimo muito pequeno aos requisitos de armazenamento. Esta estrutura, que mantém um
valor de chave e os dois pares de coordenadas do MBR, proporciona um acréscimo máximo
de 0,10%, especificamente no nível de granularidade Endereço (vide Tabela 5).
Conforme a Seção 4.4.3.1, a construção do SB-index não requer muito tempo e
ou acessos a disco. O espaço de armazenamento requerido e o número de acessos a disco são
diretamente proporcionais à quantidade de objetos espaciais a serem indexados. Os níveis
mais altos de granularidade possuem menos objetos espaciais, por isso têm índices menores.
Por outro lado, o número de acessos a disco é inversamente proporcional ao tamanho da
página de disco adotada.
Além das vantagens observadas durante a construção do índice, foram obtidos
resultados expressivos no processamento de consultas SOLAP com SB-index. Estes
resultados se estendem a três predicados espaciais: intersecta, contém e está contido.
Embora SB-index demande um percurso seqüencial sobre a sua estrutura para filtrar os
candidatos à resposta do predicado espacial, esta filtragem elimina os MBR que não se
relacionam com a janela de consulta. Conseqüentemente, apenas uma pequena fração dos
objetos espaciais precisa ser acessada no banco de dados, reduzindo a parcela deste custoso
processamento. Justamente por este motivo é que a participação do SB-index no tempo
decorrido da consulta é bastante baixa: não ultrapassou 1,4%.
Após a filtragem e o refinamento das respostas do predicado espacial,
reescreve-se a consulta com predicados convencionais. Então, são empregados Índices
Bitmap de Junção para respondê-la. O uso destes índices é providencial, evitando as custosas
operações de junção intrínsecas das consultas SOLAP. Por isso, isenta de realizar tais
operações e auxiliada pela filtragem e pelo refinamento dos objetos espaciais, a configuração
C3 (SB-index) é capaz de processar consultas com melhor desempenho que as configurações
C1 e C2 (Junção Estrela auxiliada por índices espaciais).
Neste sentido, a redução de tempo observada ficou sempre acima de 90% na
existência de uma janela de consulta espacial. As janelas de consulta são mais abrangentes em
níveis mais altos de granularidade. Logo, mais tuplas devem fazer parte da resposta da
consulta SOLAP. Por isso, a redução tende a ser maior no nível de granularidade endereço, e
menor no nível Região. O gráfico da Figura 46 sintetiza, para consultas SOLAP com o
90
predicado espacial intersecta, quanto foi o ganho de desempenho do SB-index em relação às
configurações C1 e C2, especificamente no esquema GHSSB.
Figura 46 O SB-index comparado à junção estrela auxiliada por índices espaciais
no esquema GHSSB, em consultas SOLAP com o predicado espacial intersecta.
Na existência de duas janelas de consulta espaciais, a redução superou 76%
especificamente no nível de granularidade Cidade. Por fim, é importante ressaltar que o
volume de dados crescente não influenciou negativamente o desempenho do processamento
de consultas SOLAP usando SB-index. Isto foi observado nos testes realizados em DWG com
fatores de escala 2, 6 e 10, variando-se o volume de dados na tabela de fatos e mantendo-se
constante o volume de dados espaciais. Em todos os volumes de dados, a redução de tempo
proporcionada pelo SB-index foi superior a 90%.
91
5. O IMPACTO DA REDUNDÂNCIA DE DADOS ESPACIAIS
A destacada importância do DWG tem motivado o desenvolvimento de
diversos trabalhos propondo modelos lógicos e conceituais, como Stefanovic et al. (2000),
Malinowski e Zimányi (2004), Bimonte et al. (2005), Fidalgo (2005) e Sampaio et al. (2006).
Todavia, pouca atenção tem sido destinada à investigação das seguintes questões: como a
redundância de dados espaciais afeta o tempo de resposta das consultas SOLAP e os
requisitos de armazenamento em um DWG? Neste capítulo, estas questões são abordadas.
O problema da redundância de dados espaciais em DWG é descrito na Seção
5.1. A Seção 5.2 descreve os testes de desempenho realizados com o intuito de auxiliar a
investigação e a validação da nova proposta do SB-index. Primeiramente, são comparados os
esquemas de DWG redundante (GRSSB) e não redundante (GHSSB), concluindo que a
redundância de dados espaciais de fato prejudica o processamento de consultas SOLAP,
podendo aumentar o tempo de resposta das consultas de 24% a 815%. Esta conclusão
subsidiou a introdução do SB-index em esquemas de DWG redundantes. Como resultado, o
SB-index obteve ganhos de desempenho variando de 25% a 95%. Em seguida, o SB-index foi
aperfeiçoado para lidar melhor com a redundância de dados espaciais. Uma melhoria baseada
na avaliação de MBR distintos foi proposta e, a partir dela, o ganho mínimo de desempenho
passou a ser 80%. Finalmente, este capítulo é concluído na Seção 5.3.
5.1 A Redundância de Dados Espaciais
Em um DW, a hierarquia de atributos determina a redundância dos dados sobre
uma tabela de dimensão. Esta hierarquia viabiliza a execução das operações OLAP para
agregação e desagregação de dados, segundo níveis de granularidade distintos. Estas
operações são o roll-up e o drill-down, respectivamente. Kimball e Ross (2002) afirmam que
um esquema de DW redundante (esquema estrela) é mais adequado que um normalizado
(esquema floco-de-neve), porque não introduz novos custos de junção entre tabelas. Também
é importante frisar que, no DW, os atributos assumem tipos de dados que requerem poucos
bytes de armazenamento.
Por outro lado, no DWG é impossível estimar os requisitos de armazenamento
de um objeto espacial representado por um conjunto de coordenadas (Stefanovic et al. 2000).
Além disso, a avaliação de um predicado espacial é mais custosa que a de um predicado
convencional (Gaede e Günther, 1998). Conseqüentemente, optar entre os esquemas não-
redundante ou redundante de DWG pode não coincidir com a opção de esquema adotada no
92
DW convencional. Logo, uma avaliação experimental pode auxiliar os projetistas de DWG a
fazerem as suas escolhas.
Stefanovic et al. (2000) foram os primeiros a propor um framework para DWG
com tabelas de dimensão espacial e medidas espaciais. Em uma tabela de dimensão
estritamente espacial, todos os níveis de uma hierarquia de atributos mantêm feições
geométricas representando objetos espaciais. Todavia, os autores não discutem os efeitos da
redundância de dados espaciais sobre esta tabela de dimensão, mas focam as atenções sobre a
materialização seletiva das medidas espaciais.
Fidalgo et al. (2004) afirmaram que a redundância de dados espaciais poderia
deteriorar o desempenho geral do DWG. Neste sentido, foi proposto um framework para
auxiliar o projeto de esquemas multidimensionais geográficos que obrigatoriamente evitam a
redundância de dados espaciais. O trabalho foi validado por meio da adaptação do esquema de
um DW, transformando-o num DWG. Porém, esta validação não comparou se as consultas
SOLAP são mais eficientemente respondidas no DWG não-redundante ou no DWG
redundante.
Por fim, Sampaio et al. (2006) apresentaram um modelo lógico
multidimensional. Para tanto, o framework proposto por Stefanovic et al. (2000) foi reusado,
não havendo discussão acerca da redundância dos dados espaciais. Desta forma, é possível
notar que nenhum dos mencionados trabalhos tratou a investigação experimental dos efeitos
da redundância de dados espaciais sobre DWG, bem como não examinaram se este fator afeta
o desempenho de consultas SOLAP. Tal investigação experimental é a motivação do trabalho
descrito neste capítulo.
5.2 Testes de Desempenho
Esta seção descreve a investigação experimental motivada nas seções
anteriores. Foi necessário criar um DWG sintético com redundância de dados espaciais: o
GRSSB (Geographic Redundant SSB). Este assunto é tratado na subseção 5.2.1. Além disso,
para efetuar uma análise comparativa justa entre o esquema redundante e o não redundante,
foram reutilizadas as consultas e as janelas de consultas empregadas no Capítulo 4. A Seção
5.2.2 descreve os testes realizados na construção do SB-index e no processamento de
consultas SOLAP sobre o GRSSB, usando a junção estrela auxiliada por índices espaciais e o
SB-index.
93
5.2.1 Ambiente de Testes
O Star Schema Benchmark (SSB) foi adaptado para prover suporte à análise
espacial, tal como um DWG redundante. As adaptações realizadas preservaram os dados
descritivos e criaram uma hierarquia de atributos espaciais baseada nas tabelas de dimensão
que existiam. Tanto as tabelas de dimensão Supplier quanto Customer têm a seguinte
hierarquia: Região Nação Cidade Endereço. Segundo Stefanovic et al. (2000),
Supplier e Customer são tabelas de dimensão estritamente espaciais. Logo, elas devem manter
os dados geográficos da forma como mostra a Figura 47, considerando que os atributos com o
sufixo “_geo” armazenam os dados geográficos. Por exemplo, no esquema GRSSB, o mapa
do Brasil é armazenado em toda tupla cujo fornecedor se localiza no Brasil. Nitidamente, este
esquema promove a redundância de dados espaciais necessária para a realização dos testes.
Figura 47 SSB transformado em um DWG com esquema redundante: GRSSB.
Tal como o GHSSB, o GRSSB conta com 60 milhões de tuplas na tabela de
fatos, 5 regiões distintas, 25 nações por região, 10 cidades por nação, e um número arbitrário
de endereços por cidade, variando de 349 a 455. As cidades, as nações e as regiões são
representadas por polígonos, enquanto os endereços são expressos por pontos. As geometrias
foram adaptadas do Tiger/Line (U.S. CENSUS, 2007). O nível de granularidade Endereço não
é redundante, porque há uma relação 1:1 entre fornecedores e seus endereços, bem como entre
os clientes e os seus endereços.
Por outro lado, os níveis de granularidade Cidade, Nação e Região são
redundantes. Observa-se que, quanto menor a cardinalidade do atributo espacial, maior é a
quantidade de repetições de um determinado objeto. Logo, se existem menos objetos distintos
no domínio de um atributo espacial, então a tendência é que cada um destes objetos seja
94
repetido um número alto de vezes na tabela. A Tabela 18 exibe o número nimo e o número
máximo de repetições de objetos observados nos diferentes níveis, na tabela de dimensão
Supplier. A distribuição de dados espaciais é a mesma da Figura 38 (Capítulo 4). A única
diferença é que um determinado objeto espacial ocorre mais que uma vez nos níveis Cidade,
Nação e Região. O DWG resultante ocupa 150 GB de armazenamento, ou seja, dez vezes
mais que o GHSSB. Conforme comentado, no nível de granularidade Região, em que existem
apenas 5 objetos distintos, o número de repetições de cada objeto é alto. Por outro lado, no
nível Cidade existem 250 objetos distintos, levando a um número menor de repetições de cada
um deles.
Tabela 18 mero mínimo e máximo de repetições de objetos na tabela Supplier.
Repetição de objetos
Granularidade
Mínimo
Máximo
Cidade
349
455
Nação
3924
4095
Região
19837
20051
Para estes experimentos, foram utilizados os mesmos tipos de consulta
definidos na Seção 4.1.1. Obviamente, adaptações nas consultas SQL foram realizadas,
adequando-as ao esquema GRSSB. Uma vez que os tipos de consulta foram reusados nos
experimentos deste capítulo, também as janelas de consulta espaciais foram mantidas,
segundo os diferentes predicados espaciais. Tais janelas também estão definidas na Seção
4.1.1. A plataforma de hardware e software, as configurações dos testes e as medições dos
experimentos são também os mesmos utilizados para a avaliação do esquema GHSSB, como
consta na Seção 4.4.2. A seguir, são listadas, novamente, as três configurações de testes:
d) C1: computação da junção-estrela auxiliada pelo índice espacial R-tree sobre os atributos
espaciais;
e) C2: computação da junção-estrela auxiliada pelo índice espacial GiST sobre os atributos
espaciais;
f) C3: SB-index para evitar a junção-estrela.
5.2.2 Resultados
Esta seção discorre sobre os resultados obtidos nos testes de desempenho
realizados sobre o GRSSB. Primeiramente, mede-se o custo da construção do SB-index.
Depois, analisa-se o comportamento do processamento de consultas SOLAP. Para os
predicados espaciais intersecta, está contido e contém, são feitas duas comparações.
95
Primeiro, os resultados da junção estrela auxiliada por índices espaciais no GRSSB são
confrontados com os resultados da junção estrela auxiliada por índices espaciais no GHSSB.
Em seguida, são calculados os ganhos de desempenho proporcionados pelo uso do SB-index
no GRSSB, em relação ao tempo gasto pela junção estrela auxiliada por índices espaciais.
Mesmo obtendo ótimos resultados com o uso do SB-index, identificou-se um aspecto do
mesmo sobre avaliação de MBR que poderia ainda ser melhorado. Portanto, foi proposto e
testado um aperfeiçoamento sobre o SB-index.
5.2.2.1 Construção
A Tabela 19 exibe os resultados obtidos na construção do SB-index. O Índice
Bitmap de Junção construído usando FastBit ocupa 2,3 GB, e sua construção demorou
11.237,70 segundos (aproximadamente 3h07min). Foram indexados todos os atributos
convencionais necessários para o processamento das consultas definidas na Seção 4.4.1.
Devido à redundância de dados espaciais, cada SB-index possui 100.000 entradas
(cardinalidade da tabela de dimensão Supplier). Portanto, estes índices têm o mesmo tamanho
e requerem o mesmo número de acessos a disco para serem construídos.
Observando as Tabelas 5 (Seção 4.4.3.1) e 19, nota-se que a redundância de
dados espaciais é responsável por gerar índices maiores nos níveis de granularidade Cidade,
Nação e Região. Estes índices também levam mais tempo para serem construídos, porque um
determinado objeto espacial é recuperado diversas vezes em diferentes tuplas. Mesmo maior,
um SB-index redundante provoca um aumento nos requisitos de armazenamento que é quase
imperceptível: 0,14%, conforme mostra a quinta coluna, denominada Acréscimo.
Tabela 19 Medidas coletadas na construção do SB-index para o esquema GHSSB.
Tempo
decorrido (s)
Acessos
a disco
Tamanho do
SB-index
Acréscimo
(%)
Endereço
48
886
3,5 MB
0,14%
Cidade
1.856
886
3,5 MB
0,14%
Nação
11.566
886
3,5 MB
0,14%
Região
19.453
886
3,5 MB
0,14%
Em todos os níveis de granularidade, os SB-index acomodam 100.000 entradas
em páginas de disco de 4096 bytes (sendo que L = 4096 DIV 36 = 113 entradas por página de
disco). Sabendo-se que 100.000 ÷ 113 ~ 885 e somando uma página de disco para o
cabeçalho do arquivo seqüencial, tem-se 886 acessos a disco. Logo, páginas de disco maiores
demandariam menos acessos a disco. Os resultados desta seção são válidos para todos os tipos
de consulta cujos processamentos são avaliados na próxima seção.
96
5.2.2.2 Processamento de consultas
Tipo de Consulta 1 Predicado espacial intersecta
A Tabela 20 mostra os resultados referentes ao processamento de consultas do
Tipo 1 referentes às configurações C1 e C2. Ela mostra que a junção estrela, ainda que
auxiliada por índices espaciais eficientes, resultou em tempos proibitivos para a realização de
consultas SOLAP do Tipo 1. Além disso, a coluna Aumento mostra em quanto o tempo de
resposta do GRSSB superou o do GHSSB. O nível de granularidade Endereço não é
redundante, portanto não foi realizada a comparação. O nível Cidade é, dentre os níveis
redundantes, aquele que possui menos repetições de objetos espaciais (vide Tabela 18).
Observa-se que o aumento também é quase nulo no nível Cidade. Por outro lado, nos níveis
de granularidade redundantes Nação e Região, há mais repetição de objetos espaciais. Neles,
o aumento variou de 24,74% a 123,13%, indicando que a redundância de dados espaciais
afetou negativamente o processamento de consultas do Tipo 1 nas configurações C1 e C2.
Tabela 20 Medidas coletadas no processamento de consultas do Tipo 1 (vide Figura 39)
executando a Junção Estrela auxiliada por índices espaciais no esquema GRSSB.
A coluna C1 se refere ao uso da R-tree, enquanto a coluna C2 se refere ao uso de GiST.
C1 (s)
C1 (min)
Aumento C1
C2 (s)
C2 (min)
Aumento C2
Endereço
2.854,17
~ 48
-
2.831,23
~ 48
-
Cidade
2.773,39
~ 46
1,00%
2.773,10
~ 46
0,52%
Nação
4.047,35
~ 68
46,31%
3.449,76
~ 58
24,74%
Região
6.220,68
~ 104
123,13%
6.200,44
~ 103
122,21%
Os testes do Tipo 1 sobre o GRSSB nas configurações C1 e C2 demonstram
tempos de resposta proibitivos. É indispensável prover tal esquema de mecanismos para
tornar o processamento de consultas mais ágil. Neste sentido, a Tabela 21 exibe os resultados
do processamento de consultas do Tipo 1, usando SB-index (configuração C3). Foram
requeridos 886 acessos a disco, independentemente do nível de granularidade. Este número é
fixo porque todos os índices possuem o mesmo número de entradas. Aliado a este fato, sabe-
se que uma busca seqüencial incide sobre o índice referente a cada nível de granularidade.
Tabela 21 Medidas coletadas no processamento de consultas do Tipo 1 (vide Figura 39)
usando o SB-index no esquema GRSSB. A redução de tempo é calculada em relação
ao melhor resultado dentre C1 e C2 mostrado na Tabela 20.
Tempo decorrido
do SB-index (s)
Tempo decorrido
do FastBit (s)
Tempo decorrido
usando índices (s)
Redução
de tempo
Acessos
a disco
Endereço
0,09
132,32
132,41
95,32%
886
Cidade
32,80
238,94
271,74
90,20%
886
Nação
661,41
516,71
1.178,12
65,84%
886
Região
3.223,19
1.398,80
4.621,99
25,45%
886
97
A coluna Redução de tempo indica em quanto C3 supera o melhor resultado
entre C1 e C2. Vê-se que os ganhos de desempenho obtidos no processamento da consulta
SOLAP do Tipo 1 são expressivos, variando de 25,45% a 95,32%. Assim como observado no
esquema GHSSB, o vel de granularidade Endereço apresenta os melhores resultados
referentes ao tempo de resposta das consultas. Isto ocorre porque o SB-index identifica um
ponto no interior de um polígono sem a necessidade da custosa etapa de refinamento.
Por outro lado, a redundância de dados espaciais nitidamente prejudicou o
desempenho do SB-index, uma vez que o mesmo MBR precisa ser avaliado múltiplas vezes
na busca seqüencial. Além disso, diferentes valores de chave primária referentes a MBR
idênticos são adicionados à coleção de candidatos, e posteriormente encaminhadas ao
refinamento. Portanto, o mesmo objeto espacial é avaliado diversas vezes durante o
refinamento, etapa esta considerada a mais custosa no processamento das consultas.
A redundância de dados espaciais também influencia a parcela de participação
do SB-index no tempo total decorrido da consulta. No nível de granularidade Endereço (não-
redundante), o SB-index é responsável pela ínfima fração de 0,07%. nos níveis Cidade,
Nação e Região (redundantes), as frações são 12,07%, 56,14% e 69,74%, respectivamente.
Nota-se que à medida que a redundância de dados espaciais aumenta, o tempo de resposta do
SB-index supera o tempo de resposta de FastBit. Este fato determina valores menores na
redução de tempo, como 25,45% no nível de granularidade Região. Porém, o resultado neste
nível em particular não deixa de ser substancial.
Tipo de Consulta 2 Predicado espacial está contido
A configuração C2 (Junção Estrela auxiliada por GiST) mostrou ser mais
eficiente que a configuração C1 (Junção Estrela auxiliada pela R-tree) na maioria dos casos de
teste. Por este motivo, no restante desta seção não serão mais tratados os resultados referentes
a C1. A Tabela 22 mostra os resultados obtidos no processamento de consultas do Tipo 2,
avaliando o predicado espacial está contido e a configuração C2. Esta tabela mostra, na
coluna Aumento C2, em quanto o tempo decorrido de uma consulta no esquema GRSSB
superou o tempo decorrido da mesma consulta no esquema GHSSB (vide Seção 4.4.3.2).
Os resultados da Tabela 22 indicam que, nos níveis de granularidade Endereço
e Cidade, o processamento de consultas do Tipo 2 tem comportamento similar para os
esquemas GHSSB e GRSSB. Nestes dois casos, a redundância de dados espaciais não
prejudicou o desempenho. É válido ressaltar que tanto no GRSSB quanto no GHSSB não
existem endereços (pontos) repetidos no nível Endereço, e que o teste do relacionamento
98
espacial está contido sobre pontos é menos custoso. Por outro lado, GRSSB determina a
redundância de dados espaciais nos níveis Cidade, Nação e Região, os quais mantêm
polígonos. Enquanto Cidade apresenta a menor incidência de redundância, os níveis Nação e
Região são altamente redundantes. Por isso, foi observado expressivo impacto negativo sobre
o tempo de resposta das consultas nos níveis Nação e Região. Isto é, aumentos de 138,56 a
815,96%, respectivamente.
Tabela 22 Medidas coletadas no processamento de consultas do Tipo 2 (vide Figura 40)
executando a Junção Estrela auxiliada por GiST no esquema GRSSB.
C2 (s)
C2 (min)
Aumento C2
Endereço
2.811,08
~ 47 min
-
Cidade
2.789,53
~ 47 min
1%
Nação
4.026,63
~ 67 min
138,56%
Região
10442,73
~174 min
815,96%
Os tempos de resposta de consultas SOLAP do Tipo 2 no esquema GRSSB
usando a configuração C2 são demasiadamente altos. É indispensável tornar tais consultas
mais ágeis. Desta forma, a Tabela 23 exibe os resultados obtidos a partir da aplicação do
SB-index (configuração C3) no referido cenário. Pode-se observar que os ganhos de
desempenho variaram de 78,39% a 94,77%. No predicado espacial está contido, a
redundância dos dados espaciais não prejudicou drasticamente o desempenho do SB-index, ao
contrário do que ocorreu com o predicado espacial intersecta. Apesar disso, deve-se enfatizar
que a mesma busca seqüencial foi realizada, avaliando o mesmo MBR várias vezes. O fato de
o predicado está contido ser mais restrito que intersecta pode ser apontado como uma das
razões pelas quais o desempenho não foi drasticamente afetado pela redundância em C3.
Tabela 23 Medidas coletadas no processamento de consultas do Tipo 2 (vide Figura 40)
usando o SB-index no esquema GRSSB. A redução de tempo é calculada em relação
ao resultado de C2 mostrado na Tabela 22.
Tempo decorrido
do SB-index (s)
Tempo decorrido
do FastBit (s)
Tempo decorrido
usando índices (s)
Redução
de tempo
Acessos
a disco
Endereço
0,08
146,96
147,04
94,77%
886
Cidade
12,18
151,96
164,14
94,12%
886
Nação
435,09
435,20
870,29
78,39%
886
Região
1.032,06
471,05
1.503,11
85,61%
886
Nos níveis de granularidade Endereço (não-redundante) e Cidade (pouco
redundante), é pequena a participação do SB-index no tempo total da consulta: as frações o
de 0,05% e 7,42%, respectivamente. Entretanto, à medida que a redundância de dados
espaciais cresce, esta participação aumenta e pode inclusive exceder o tempo de resposta do
FastBit. No nível de granularidade Nação, ela correspondeu a 49,99% do tempo decorrido da
consulta, enquanto que no nível Região correspondeu a 68,66%. Conforme o SB-index passa
99
a gastar mais tempo, o ganho de desempenho no processamento da consulta SOLAP é
reduzido. Mesmo assim, a configuração C3 proveu ganhos de desempenho muito altos: entre
78,39% e 94,77%.
Tipo de Consulta 3 Predicado espacial contém
A Tabela 24 exibe os resultados para a configuração C2 e o predicado contém
(Tipo 3) com relação ao esquema GRSSB. Estes resultados de desempenho foram muito
parecidos com os do predicado está contido, para ambos os esquemas GHSSB e GRSSB,
particularmente nos níveis de granularidade Endereço e Cidade. Por outro lado, notável
disparidade no processamento de consultas nos níveis de granularidade Nação e Região, em
que a redundância de dados espaciais é maior. No primeiro, o aumento foi de 29,34%,
enquanto no segundo ele atingiu indesejáveis 116,03%. Deve-se ressaltar que, nestes níveis,
menos objetos satisfazem o predicado contém.
Tabela 24 Medidas coletadas no processamento de consultas do Tipo 3 (vide Figura 41)
executando a Junção Estrela auxiliada por GiST no esquema GRSSB.
C2 (s)
C2 (min)
Aumento C2
Endereço
2.739,64
~ 46
-
Cidade
2.259,66
~ 38
0,89%
Nação
2.893,50
~ 48
29,34%
Região
6.154,28
~ 103
116,03%
A Tabela 25, mostra os resultados obtidos a partir dos testes envolvendo
consultas SOLAP do Tipo 3 e a configuração C3 (SB-index). Os ganhos de desempenho do
SB-index variaram de significativo (aproximadamente 40%) até muito alto (97,09%). A
redundância de dados espaciais prejudicou o desempenho do processamento de consultas do
SB-index, particularmente devido ao alto custo do refinamento de geometrias complexas nos
níveis de granularidade Nação e Região. Como resultado, o SB-index tem pouca participação
no tempo total decorrido da consulta nos níveis Endereço e Cidade: 1,27% e 6,81%,
respectivamente.
Tabela 25 Medidas coletadas no processamento de consultas do Tipo 3 (vide Figura 41)
usando o SB-index no esquema GRSSB. A redução de tempo é calculada em relação
ao resultado de C2 mostrado na Tabela 24.
Tempo decorrido
do SB-index (s)
Tempo decorrido
do FastBit (s)
Tempo decorrido
usando índices (s)
Redução
de tempo
Acessos
a disco
Endereço
1,01
78,61
79,62
97,09%
886
Cidade
8,64
118,08
126,72
94,39%
886
Nação
545,00
260,55
805,55
72,16%
886
Região
2.620,61
1.162,30
3782,91
38,53%
886
100
Contudo, conforme a redundância de dados espaciais aumenta, o SB-index
passa a gastar mais tempo que o FastBit. No nível de granularidade Nação, o processamento
de consultas do SB-index corresponde a 67,66% do tempo total da consulta. Já no nível
Região, o SB-index corresponde à fração de 69,27%. Este fato foi responsável pela queda de
desempenho (expresso pela coluna Redução de tempo) da consulta SOLAP. Ainda assim, este
ganho se mantém expressivo: quase 40%.
Tipo de Consulta 4 Predicado espacial intersecta e duas janelas de consulta espaciais
Por fim, os testes de desempenho cujos resultados são exibidos nas Tabelas 26
e 27 estão associados às consultas SOLAP do Tipo 4 (predicado intersecta e duas janelas de
consulta espaciais). Devido ao alto custo de processamento requerido por esta consulta, usou-
se um computador mais sofisticado: processador Pentium D com 3.00 GHz, 8 GB de memória
primária e um disco rígido SATA com 750 GB, 7200 RPM e 32 MB de cache.
A Tabela 26, mostra o resultado do teste sobre a configuração C2. Foi coletada
apenas uma amostra no nível de granularidade Cidade, pois nos níveis de granularidade
Nação e Região os tempos decorridos superaram 4 dias de execução. Isto exigiu a interrupção
do processamento, uma vez que tais tempos de resposta são proibitivos. Mesmo no nível
Cidade, com pouca redundância de dados espaciais, os resultados de desempenho indicam
claramente que a redundância de dados espaciais traz prejuízos ao desempenho do
processamento de consultas SOLAP do Tipo 4. Enquanto no esquema GHSSB esta consulta
demorou apenas 130,34 segundos (vide Tabela 12, Seção 4.4.3.2), no esquema GRSSB o
tempo necessário foi 172.900,15. Ou seja, um aumento impressionante de 132.900%.
Tabela 26 Medidas coletadas no processamento de consultas do Tipo 4 (vide Figura 42)
executando a Junção Estrela auxiliada por GiST no esquema GRSSB.
C2 (s)
C2 (h)
Aumento C2
Cidade
172.900,15
48
132.900%
A Tabela 27 mostra os resultados obtidos a partir do SB-index (configuração
C3), para evitar os custos decorrentes das junções. Mesmo com redundância de dados
espaciais, o SB-index obteve excelentes resultados, promovendo um ganho de desempenho de
99,82%. Portanto, o emprego do SB-index foi fundamental para obter um bom tempo de
resposta neste tipo de consulta SOLAP.
Tabela 27 Medidas coletadas no processamento de consultas do Tipo 4 (vide Figura 42)
usando o SB-index no esquema GHSSB. A redução de tempo é calculada em relação
ao resultado de C2 mostrado na Tabela 26.
Tempo decorrido
do SB-index (s)
Tempo decorrido
do FastBit (s)
Tempo decorrido
usando índices (s)
Redução
de tempo
Cidade
15,40
296,97
312,37
99,82%
101
5.2.2.3 SB-index NR
Os resultados obtidos na Seção 5.2.2.2 mostram que a redundância de dados
espaciais degenerou o desempenho do SB-index. Isto ocorreu porque a busca seqüencial sobre
o índice avalia MBR repetidos, bem como a custosa etapa de refinamento testa objetos
espaciais repetidos. Este fato motivou a proposição de uma melhoria sobre o SB-index, a fim
de evitar a redundância. A idéia principal deste melhoramento reside em avaliar apenas MBR
distintos, assim como prevê o esquema GHSSB. A nova estrutura chama-se SB-index NR
(non-redundant SB-index).
É proposto um segundo nível para o SB-index, que consiste em atribuir uma
lista a cada MBR distinto. Cada uma destas listas é armazenada em disco, e mantém todos os
valores de chaves associados a um MBR específico. No processamento de uma consulta
SOLAP, deve-se testar o relacionamento espacial entre cada MBR distinto e a janela de
consulta. Se este relacionamento existir, então apenas um valor de chave deve ser conduzido
ao refinamento. Então, se o objeto espacial identificado por esta chave for uma resposta da
consulta, devem-se adicionar todas as chaves da lista correspondente ao predicado
convencional. Por fim, o predicado convencional é repassado ao software FastBit, o qual
computa a solução da consulta completa.
O novo processamento difere daquele apresentado para o SB-index na Seção
4.3. A Figura 48 ilustra todos os seus passos. Os passos de leitura e percurso (1 e 2,
respectivamente) não foram alterados, apesar da existência de uma lista associada a cada
entrada do SB-index. As entradas 2 e 4 do buffer estão destacadas porque seus MBR
satisfizeram o relacionamento espacial. Sendo assim, o primeiro valor de chave primária
contido na lista associada à entrada 2 do buffer é colecionado como candidato. Este valor é 3.
O mesmo ocorre com a entrada 4, isto é, o valor 16 é considerado candidato. Os candidatos
são posteriormente conduzidos ao refinamento. Observa-se que apenas o objeto espacial
identificado pela chave primária 2 é considerado resposta do predicado espacial. Portanto, a
lista encabeçada por ele deve ser percorrida, incluindo todos os valores de chave contidos nela
no predicado convencional. Neste percurso, expande-se o conjunto de respostas do predicado
espacial, porque são identificadas todas as chaves que se referem ao mesmo objeto. Por fim, a
consulta que agora possui apenas predicados convencionais é executada por FastBit,
acessando os índices Bitmap de Junção.
O SB-index NR aumentou o número de acessos a disco necessários para a
construção do índice. Conforme mostram a Tabela 28 e a Tabela 19 (Seção 5.2.2.1), este
número passou de 886 para 100.000, em todos os níveis de granularidade. Este aumento
102
acontece porque cada um dos 100.000 valores de chave de uma tabela de dimensão precisa ser
adicionado a uma lista específica. Ao adicionar um objeto na lista, conta-se um acesso a
disco.
Figura 48 O processamento de consultas do SB-index NR.
Ainda, o SB-index NR requereu uma pequena porção de espaço de
armazenamento, se comparada ao volume do Índice Bitmap de Junção: de 0,16% a 0,20%.
Conclui-se, portanto, que o SB-index NR exige mais tempo e mais acessos a disco para que se
conclua a construção do índice. Porém, os requisitos de armazenamento não são
drasticamente afetados.
Tabela 28 Medidas referentes ao SB-index NR aplicado ao GRSSB: construção do índice.
Tempo decorrido (s)
Acessos a disco
Tamanho doSB-index
Cidade
2.005
100.000
4,81 MB
Nação
11.428
100.000
3,93 MB
Região
19.446
100.000
3,86 MB
Os benefícios trazidos pelo SB-index NR têm mais destaque no processamento
de consultas SOLAP. A Tabela 29 exibe os resultados dos testes realizados sobre o GRSSB
usando consultas do Tipo 1. Comparando a Tabela 29 e a Tabela 20 (Seção 5.2.2.2), vê-se que
o ganho de desempenho proporcionado foi muito alto em relação à junção estrela auxiliada
por índices espaciais (C1 e C2). Este ganho é expresso pela coluna Redução de tempo -
Junção Estrela, e variou de 80,41% a 91,74%. Comparando a Tabela 29 e a Tabela 21 (Seção
5.2.2.2), observa-se que o SB-index NR proporcionou um tempo de resposta menor que o
SB-index sem a referida alteração. Como mostra a coluna Redução de tempo - SB-index, os
ganhos variaram de 15,69% até 73,71%. Por fim, é válido frisar que o SB-index NR
103
determina uma melhoria na portabilidade do SB-index, tornando viável a sua aplicação em
esquemas de DWG redundantes ou não.
Tabela 29 Medidas referentes ao SB-index NR aplicado ao GRSSB: processamento de consultas.
Tempo decorrido (s)
Acessos a disco
Redução de tempo -
Junção Estrela
Redução de tempo
- SB-index
Cidade
229,11
511
91,74%
15,69%
Nação
507,41
57
85,29%
56,93%
Região
1214,93
36
80,41%
73,71%
5.3 Considerações Finais
Embora a literatura mencione diversos trabalhos apresentando modelos
conceituais e lógicos para DWG, dentre os trabalhos pesquisados nenhum investigou as
seguintes questões sob uma abordagem experimental: como a redundância de dados
espaciais afeta os requisitos de armazenamento e o processamento de consultas SOLAP
no DWG? Justamente estas questões foram tratadas neste capítulo.
Primeiramente, foi proposto um esquema de DWG intrinsecamente
redundante, a partir do Star Schema Benchmark, denominado GRSSB. Este esquema requer
dez vezes mais espaço de armazenamento do que o GHSSB (cuja descrição está no Capítulo
4). Então, foram submetidas ao GRSSB, as mesmas consultas anteriormente submetidas ao
esquema GHSSB. Avaliaram-se os recursos atuais presentes nos SGBD para realizar tais
consultas SOLAP. Isto é, as configurações C1 e C2, representando o cálculo da junção estrela
auxiliada por índices espaciais (R-tree e GiST, respectivamente).
A comparação entre os resultados obtidos por C1 e C2 com o esquema GHSSB
e os resultados obtidos pelas mesmas configurações com o esquema GRSSB culminou na
seguinte conclusão: a redundância de dados espaciais afeta drasticamente o desempenho do
processamento de consultas SOLAP envolvendo os predicados espaciais intersecta, está
contido e contém, conduzindo a tempos de resposta demasiadamente altos. Estes tempos
superam o do GHSSB de 24% até 815% nos níveis de granularidade altamente redundantes.
O panorama mostrou-se ainda pior ao empregar no GRSSB, duas janelas de
consultas espaciais, visto que o tempo de resposta excedeu um dia de execução. É válido
enfatizar que, enquanto o esquema GHSSB evita a redundância de dados espaciais e ainda
promove o compartilhamento de tabelas de dimensão espaciais, o esquema GRSSB é
intrinsecamente redundante. Logo, segundo os testes experimentais realizados, a redundância
de dados espaciais deve ser evitada no projeto do DWG.
104
Os resultados ruins obtidos no processamento de consultas SOLAP sobre o
GRSSB usando os recursos do SGBD motivou usar o SB-index para tornar tal processamento
mais ágil. Este índice proporcionou ótimos ganhos de desempenho nas consultas SOLAP com
os predicados espaciais intersecta, está contido e contém. Os ganhos variaram de 25% a
95%. Além disso, o SB-index teve participação decisiva no teste envolvendo duas janelas de
consulta espaciais, proporcionando um ganho de desempenho de 99,82%.
Concluiu-se que, conforme a redundância aumentou, o desempenho do SB-
index diminuiu. Os motivos para esta diminuição foram apontados: o mesmo MBR era
avaliado repetidas vezes na busca seqüencial sobre o índice, bem como distintos valores de
chave primária representando o mesmo objeto espacial eram conduzidos à custosa etapa de
refinamento. Tendo identificado estes motivos, uma melhoria foi proposta para atenuar os
efeitos da redundância sobre o SB-index.
A melhoria introduzida no SB-index tem por meta manipular apenas MBR
distintos, ainda que cada um deles se refira a uma grande quantidade de valores de chave. Este
tratamento fez com que MBR repetidos não mais fossem avaliados na busca seqüencial no
índice, bem como evitou que objetos espaciais repetidos fossem testados no refinamento.
Deste modo, o ganho de desempenho mínimo do SB-index aumentou de 25% para 80%. Por
fim, o gráfico da Figura 49 sintetiza, para consultas SOLAP com o predicado espacial
intersecta, quanto foi o ganho de desempenho do SB-index em relação às configurações C1 e
C2, especificamente no esquema GRSSB. Neste gráfico, estão expressos os ganhos
referentes ao melhoramento do SB-index que fora descrito.
Figura 49 O SB-index comparado à junção estrela auxiliada por índices espaciais
no esquema GRSSB, em consultas SOLAP com o predicado espacial intersecta.
105
6. CONCLUSÕES E TRABALHOS FUTUROS
Este capítulo conclui a dissertação e enumera trabalhos futuros.
6.1 Conclusões
Nesta dissertação foi proposta uma nova estrutura de indexação para data
warehouse geográfico, denominada SB-index (Spatial Bitmap Index). Conforme os
experimentos realizados, o SB-index diminui o tempo de resposta de consultas analíticas
multidimensionais com os seguintes predicados espaciais: intersecta, está contido e contém.
O data warehouse geográfico (DWG) constitui um banco de dados resultante
da integração das tecnologias de data warehouse, OLAP e sistemas de informações
geográficas. Esta integração define um modelo de dados específico para suporte à decisão,
flexível para a realização de análises multidimensionais sobre um grande volume de dados, e
capaz de armazenar mapas e de permitir consultas espaciais. Em particular, as consultas
analíticas multidimensionais com predicado espacial são extremamente custosas, devido à
realização de múltiplas junções envolvendo grande quantidade de dados, e à avaliação de
relacionamentos espaciais. As junções são originadas pelo esquema lógico do DWG, que se
assemelha ao esquema estrela do DW convencional. Os relacionamentos espaciais são
operações binárias, que comparam um objeto espacial presente em uma tabela com uma
janela de consulta espacial arbitrária. Esta janela não consta previamente na base de dados.
Desta forma, o SB-index foi proposto com o intuito de diminuir o tempo de
resposta de consultas assim caracterizadas, e ainda:
a) introduzir o Índice Bitmap no contexto do DWG; e
b) tratar hierarquias de atributos espaciais predefinidas.
Particularmente, a escolha pelo Índice Bitmap foi baseada na sua eficiência
atuando como Índice Bitmap de Junção. O Índice Bitmap é caracterizado pela manipulação de
vetores de bits por meio de operações lógicas que o auxiliadas pelo hardware. o Índice
Bitmap de Junção possui estas características e uma característica adicional fundamental para
o DWG: evita a custosa operação de junção entre tabelas. Escolher o Índice Bitmap exige
ponderar as desvantagens causadas por atributos indexados que possuem domínios vastos, ou
seja, os prejuízos causados por atributos com alta cardinalidade. Porém, a existência de
técnicas de binning, codificação e compressão asseguram que estes prejuízos podem ser
atenuados.
de se ressaltar que as hierarquias de atributos predefinidas são comuns em
muitas aplicações de DWG, por exemplo: região nação cidade endereço. Estas
106
hierarquias estabelecem relacionamentos entre diferentes níveis de granularidade espacial.
Eles determinam, por exemplo, que os objetos espaciais de níveis mais altos de granularidade
contêm os de níveis inferiores. Esta abordagem seguida pelo SB-index difere da abordagem
da aR-tree (PAPADIAS et al., 2001), que havia sido identificada na literatura como a única
estrutura de indexação específica para DWG. Isto é, a aR-tree lida com hierarquias de objetos
espaciais criadas ad-hoc com o auxílio do método de particionamento de espaço da R-tree.
A estrutura de dados compacta do SB-index prevê a criação de um arquivo
seqüencial cujas entradas possuem um valor de chave primária e dois pares de coordenadas. A
chave primária identifica o objeto espacial, enquanto os dois pares de coordenadas retratam o
MBR do mesmo. A existência da hierarquia espacial determina a criação de um índice por
atributo espacial da hierarquia. Embora requeira um percurso seqüencial pela estrutura de
indexação, o processamento de consultas do SB-index possui duas virtudes críticas no DWG:
a) filtra os objetos espaciais;
b) evita a computação da junção-estrela.
O filtro consiste em testar o relacionamento existente entre a janela de consulta
e o MBR de uma entrada, e auxilia o cálculo do predicado espacial. Ele seleciona candidatos à
resposta deste predicado, sendo que os candidatos representam apenas uma pequena parcela
do total de objetos espaciais existentes na tabela. Posteriormente, os candidatos são
conduzidos a uma etapa de refinamento realizada no banco de dados. Esta etapa é mais
custosa que o filtro, porém lida com muito menos objetos que a filtragem. Ao término do
refinamento, obtém-se o conjunto resposta do predicado espacial. Este conjunto é manipulado
de forma a compor um predicado convencional, o qual pode ser computado em conjunto com
os outros predicados convencionais da consulta. Esta estratégia permite que a resposta
completa da consulta seja obtida por meio de um Índice Bitmap de Junção. A implementação
de Índice Bitmap empregada foi a do software FastBit. A transformação do predicado espacial
em um predicado convencional é um aspecto muito relevante no processamento de consultas
do SB-index.
A proposta do SB-index foi validada por meio de testes de desempenho
experimentais. Eles comprovam a eficiência deste índice tanto em termos de armazenamento
quanto de processamento de consultas. Os testes confrontaram os resultados do novo índice
com os resultados obtidos pelo uso da tecnologia disponível nos sistemas gerenciadores de
banco de dados, ou seja, o cômputo da junção estrela auxiliado por índices sobre os atributos
espaciais (R-tree e GiST).
107
A análise dos resultados revelou que o tempo de resposta das consultas SOLAP
foi drasticamente reduzido com o uso do SB-index. A Tabela 30 resume os expressivos
valores de ganho de desempenho alcançados pelo SB-index por nível de granularidade e por
predicado espacial. de se ressaltar que estes resultados foram alcançados em um esquema
de DWG que evita a redundância de dados espaciais e compartilha tabelas de dimensão
espaciais quando possível: o GHSSB (Geographic Hybrid Star Schema Benchmark).
Tabela 30 Resumo dos ganhos de desempenho do SB-index no esquema GHSSB,
por nível de granularidade e por predicado espacial.
Predicado espacial
Granularidade
intersecta
está contido
contém
Endereço
95,38%
96,07%
97,13%
Cidade
94,56%
94,81%
94,91%
Nação
92,70%
90,44%
94,38%
Região
90,38%
90,60%
90,61%
Os resultados retratados pela Tabela 30, sempre acima de 90%, demonstram
que o desempenho do SB-index permaneceu muito bom, sendo o predicado espacial mais ou
menos restritivo. Em seguida, foi testada uma consulta SOLAP com duas janelas de consulta
espaciais. Ela consiste em “obter o total das receitas ganhas pelos fornecedores localizados
em cidades que intersectam uma região arbitrária, comercializando produtos de uma
determinada marca a consumidores localizados em cidades intersectadas por outra região
arbitrária, agrupando os resultados por ano e por marca”. Novamente, o SB-index
proporcionou um ganho de desempenho excelente: 76%. Por fim, foi realizada uma análise
sobre o volume de dados do DWG. Mantendo fixa a quantidade de objetos espaciais e
variando a porção de dados convencionais, foram gerados outros dois DWG, com
1
/
5
e
3
/
5
do
volume inicial de dados. Este fator não prejudicou o desempenho do SB-index, visto que os
ganhos de desempenho variaram de 89% a 99%.
Terminada esta etapa de validação e de verificação do desempenho, realizou-se
uma investigação sobre o impacto da redundância de dados espaciais sobre o DWG. Para
tanto, criou-se um esquema de DWG intrinsecamente redundante denominado GRSSB
(Geographic Redundant Star Schema Benchmark). Este esquema requereu 10 vezes mais
espaço de armazenamento que o GHSSB. Logo, existe um sério impacto negativo da
redundância de dados espaciais sobre os recursos de armazenamento do DWG. Era preciso
explorar se no DWG, a exemplo do DW, seria viável priorizar baixo tempo de resposta no
processamento de consultas em detrimento dos recursos de armazenamento.
108
Inicialmente, usou-se a junção estrela auxiliada por índices espaciais (R-tree e
GiST). O confronto dos resultados do GRSSB com aqueles previamente obtidos no GHSSB
revelou que a redundância de dados espaciais causou severos prejuízos ao desempenho do
processamento de consultas. Na Tabela 31 são resumidas as perdas de desempenho
proporcionadas pelo GRSSB em relação ao GHSSB, segundo diferentes níveis de
granularidades e distintos predicados espaciais.
Tabela 31 Resumo dos atrasos causados pela redundância de dados espaciais no DWG,
usando a junção estrela auxiliada por eficientes índices espaciais.
Predicado espacial
Granularidade
intersecta
está contido
contém
Cidade
0,52%
1%
0,89%
Nação
24,74%
138,56%
29,34%
Região
122,21%
815,96%
116,03%
Foi executada a consulta SOLAP com duas janelas de consulta espaciais. Esta
execução precisou ser interrompida após o processamento atingir o inadmissível tempo
decorrido de 48h. Os tempos de resposta proibitivos observados no processamento de
consultas do GRSSB, usando a junção estrela auxiliada por índices espaciais, motivaram a
aplicação do SB-index neste esquema. A Tabela 32 resume os significativos valores de ganho
de desempenho por nível de granularidade e por predicado espacial alcançados pelo SB-index
no GRSSB. Os ganhos variaram de 25% a 97%.
Tabela 32 Resumo dos ganhos de desempenho do SB-index no esquema GRSSB,
por nível de granularidade e por predicado espacial.
Predicado espacial
Granularidade
Intersecta
está contido
contém
Endereço
95,32%
94,77%
97,09%
Cidade
90,20%
94,12%
94,39%
Nação
65,84%
78,39%
72,16%
Região
25,45%
85,61%
38,53%
Assim como observado no caso da junção estrela, a redundância de dados
espaciais degenerou ainda o desempenho do processamento de consultas do SB-index no
GRSSB. Isto ocorreu principalmente nos níveis de granularidade com maior incidência de
redundância (Nação e Região). Existem duas razões primordiais para isso. A primeira reside
no fato de que, durante a busca seqüencial sobre o SB-index, testa-se o mesmo MBR diversas
vezes em relação ao predicado espacial. Isto determina que chaves distintas referentes a
objetos espaciais idênticos são conduzidas ao refinamento. Eis a segunda razão: o
109
refinamento, que é a etapa mais custosa do processamento, é realizado sobre objetos espaciais
idênticas, gerando um significativo atraso no tempo de resposta.
Identificando estas duas razões, foi possível propor e desenvolver uma
melhoria sobre o SB-index, especificamente para lidar com a redundância de dados espaciais.
Este aperfeiçoamento determina um novo nível no SB-index, de forma que o índice passa a
armazenar apenas MBR distintos. Todas as chaves que se associam a este MBR são
armazenadas a parte, em uma lista. De posse desta melhoria, os experimentos foram repetidos
para o predicado espacial intersecta, obtendo-se o expressivo ganho de desempenho mínimo
de 80% no nível de granularidade Região.
De posse dos mencionados resultados, é razoável afirmar que esta dissertação
atingiu o seu objetivo, propondo uma nova e eficiente estrutura de indexação para DWG: o
SB-index. Além disso, o SB-index tem plenas condições de ser empregado em esquemas de
DWG redundantes ou não-redundantes, apresentando assim uma boa portabilidade. Além de
contribuir com a proposição do SB-index, este trabalho também oferece uma investigação
sobre os efeitos da redundância de dados espaciais sobre o DWG. Os resultados desta
investigação, que foi realizada por meio de testes experimentais, demonstraram que a
redundância de dados espaciais deve ser evitada sempre que possível no projeto de DWG.
6.2 Trabalhos em andamento e futuros
Nas subseções seguintes são descritos trabalhos em andamento e trabalhos
futuros. Além deles, existem planos para rodar novos experimentos usando consultas SOLAP
diferentes daquelas abordadas, bem como utilizar outros sistemas gerenciadores de banco
de dados. Ainda, um outro trabalho consiste em desenvolver algoritmos para promover
operações de atualização sobre o SB-index, considerando a existência de domínios cujos
objetos espaciais necessitam de modificações freqüentes em suas geometrias.
6.2.1 Etapa intermediária no processamento de consultas
A proposta atual do processamento de consultas usando o SB-index consiste
em duas fases: filtragem e refinamento. Uma fase intermediária usando uma aproximação de
objeto espacial mais exata poderia ser incluída, a fim melhorar o desempenho do índice. Tal
aproximação reduziria ainda mais a quantidade de objetos espaciais que devem ser analisados
na fase de refinamento, bem como é menos custosa que a avaliação dos objetos espaciais
originais. Um trabalho futuro consiste em usar o convex hull ou o 5C (BRINKHOFF;
KRIEGEL; SCHNEIDER, 1993) como aproximações nesta fase intermediária.
110
6.2.2 Investigações sobre o uso do Índice Bitmap
Um trabalho futuro consiste em investigar como as diferentes combinações de
técnicas de binning, compressão e codificação podem melhorar o processamento de consultas
SOLAP usando o SB-index.
Com relação ao binning, levando em consideração que um objeto espacial
freqüentemente é aproximado por um retângulo n-dimensional (MBR), convém perguntar: é
viável encaixotar diversos objetos espaciais segundo um relacionamento topológico? O pré-
armazenamento de relacionamentos topológicos não é viável em bancos de dados espaciais,
uma vez que os dados são altamente dinâmicos. Porém, como um DW armazena dados
consolidados que permanecem estáticos por um longo intervalo de tempo, esta questão não é
respondida de forma direta, ao contrário do que acontece para uma base OLTP.
Sabendo que existem métodos de codificação eficientes para domínios onde
existe uma relação de ordem total (O’NEIL,P.; QUASS, 1997; WU, M.; BUCHMANN,
1998;), uma questão sobre a codificação envolve o DWG: como criar uma codificação que
favoreça os relacionamentos topológicos entre objetos espaciais presentes em uma tabela de
dimensão?
Por fim, originalmente, o projeto do FastBit objetivou a criação de uma
estrutura seqüencial (Seção 3.3) para beneficiar especialmente as consultas por intervalos de
valores (FASTBIT, 2007). Isto porque um percurso seqüencial em F (Seção 3.3) seria capaz
de realizar todas as operações lógicas capazes de responder a consulta. Por outro lado, o SB-
index não emprega esta classe de consultas, como é possível observar na transformação do
predicado espacial em predicado convencional, na Seção 4.3. Ao invés disso, o SB-index
solicita consultas por valor exato. Por exemplo, ao invés de compor um predicado WHERE
PK > 1 AND PK <= 5, é composto um predicado WHERE PK = 1 OR PK = 2 OR PK = 3
OR PK = 4 OR PK = 5. Um trabalho futuro poderia investigar se a submissão de consultas
por valor exato possui algum efeito negativo no tempo de resposta da consulta, usando
atributos com alta e baixa cardinalidade.
6.2.3 Alteração da estrutura seqüencial
O SB-index introduziu o Índice Bitmap no DWG, como também levantou
algumas questões:
a) uma vez que o índice é um arquivo seqüencial, ele requer uma busca seqüencial para
testar o relacionamento espacial entre o MBR de cada entrada e a janela de consulta;
111
b) toda consulta em um determinado nível de granularidade requer um número fixo de
acessos a disco, pois a busca seqüencial deve visitar todas as páginas de disco.
Conseqüentemente, toda consulta tem uma complexidade linear: O(n);
c) não existe um método eficiente que permita reusar algumas das entradas do SB-index que
haviam sido recuperadas em consultas anteriores, tal como um buffer-pool, a fim de
evitar novos acessos a disco; e
d) o SB-index não é capaz de agrupar objetos espaciais. Logo, por exemplo, mesmo que a
janela de consulta esteja localizada no oeste, as entradas que representam objetos
espaciais das regiões oeste, leste, norte e sul precisam ser avaliadas segundo o predicado
espacial. Idealmente, apenas as entradas da região oeste e de suas redondezas é que
deveriam ser avaliadas.
Estas questões motivam a alteração da estrutura de dados do SB-index, a fim
de refiná-lo para melhorar o seu desempenho no processamento de consultas. De fato, está
sendo desenvolvida uma nova estrutura de indexação denominada SBR-tree (R-tree com
Bitmap espacial). Ao invés de uma estrutura seqüencial, a SBR-tree é baseada na R*-tree, a
qual proporciona menos acessos a disco durante o processamento de uma consulta, devido ao
agrupamento de objetos espaciais e à leitura de páginas de disco específicas.
Alguns resultados preliminares deste trabalho demonstraram que uma
redução na etapa de busca sobre o índice, quando comparado com a busca seqüencial
realizada pelo SB-index.
6.2.4 Benchmarks para data warehouse geográfico
A validação do SB-index foi realizada com testes de desempenho sobre os
esquemas de DWG não-redundante e redundante: o GHSSB e o GRSSB, respectivamente.
Em particular, o foi encontrado na literatura um benchmark específico para DWG. A falta
de um benchmark com tais características motivou a adaptação do Star Schema Benchmark
(SSB) para armazenar dados geográficos. A criação destes dois esquemas, por si, consistiu na
construção de um novo benchmark específico para DWG. Está em andamento um trabalho de
formalização e especificação das consultas do GHSSB e do GRSSB, a fim de que ambos
estabeleçam um novo benchmark que possa ser empregado na avaliação e na validação de
trabalhos acerca de DWG.
112
REFERÊNCIAS
ADZIC, J.; FIORE, V.; SISTO, L. Extraction, Transformation, and Loading Processes. In: W.
R. e C. Koncilia (Ed.). Data Warehouses and OLAP: Concepts, Architectures and
Solutions. Hershey, Pennsylvania, USA: IRM Press, 2007. Chapter 4, p.88-110.
ANTOSHENKOV, G. Byte-aligned bitmap compression. In: CONFERENCE ON DATA
COMPRESSION, 1995, Snowbird. Proceedings… Washington: IEEE Computer Society,
1995. p.476.
ARIGON, A.-M.; TCHOUNIKINE, A., MIQUEL, M. Handling multiple points of view in a
multimedia data warehouse. ACM Transactions on Multimedia Computing,
Communications, and Applications (TOMCCAP), v.2, n.3, p.199-218, 2006.
BECKMANN, N. et al. The R*-Tree: An Efficient and Robust Access Method for Points and
Rectangles. In: ACM SIGMOD INTERNATIONAL CONFERENCE ON MANAGEMENT
OF DATA, 1990, Atlantic City. Proceedings… New York: ACM, 1990. p. 322-331.
BÉDARD, Y.; RIVEST, S.; PROULX, M.-J. Spatial Online Analytical Processing (SOLAP):
Concepts, Architectures and Solutions from a Geomatics Engineering Perspective. In: W. R. e
C. Koncilia (Ed.). Data Warehouses and OLAP: Concepts, Architectures and Solutions.
Hershey, Pennsylvania, USA: IRM Press, 2007. Chapter 13, p.298-319.
BIMONTE, S. et al. GeWOlap: A Web Based Spatial OLAP Proposal. In: ON THE MOVE
TO MEANINGFUL INTERNET SYSTEMS 2006: OTM 2006 WORKSHOPS, 2006,
Montpellier. Proceedings… Berlin / Heidelberg: Springer, 2006. p. 1596-1605.
BIMONTE, S.; TCHOUNIKINE, A., MIQUEL, M. Towards a Spatial Multidimensional
Model. In: ACM INTERNATIONAL WORKSHOP ON DATA WAREHOUSING AND
OLAP, 8., 2005, Bremen. Proceedings… New York: ACM, 2005. p. 39 - 46 .
_____. GeoCube, a multidimensional model and navigation operators handling complex
measures: application in spatial OLAP. In: INTERNATIONAL CONFERENCE ON
ADVANCES IN INFORMATION SYSTEMS, 4., 2006, Izmir. Proceedings… Berlin /
Heidelberg: Springer, 2006. p.100-109.
BRINKHOFF, T.; KRIEGEL, H-S; SEEGER, B. Efficient processing of spatial joins using R-
trees. ACM SIGMOD Record, v.22, n.2, p.237-246, June, 1993.
BRINKHOFF, T.; KRIEGEL, H. P.; SCHNEIDER, R.. Comparison of Approximations of
Complex Objects Used for Approximation-based Query Processing in Spatial Database
Systems. In: INTERNATIONAL CONFERENCE ON DATA ENGINEERING, 9., 1993,
Vienna. Proceedings… Washington: IEEE Computer Society, 1993. p. 40-49.
BRINKHOFF, T.; KRIEGEL, H. P.; SCHNEIDER, R.; SEEGER, B. Multi-step Processing of
Spatial Joins. In: ACM SIGMOD INTERNATIONAL CONFERENCE ON
MANAGEMENT OF DATA, 1994, Minneapolis. Proceedings… New York: ACM, 1994.
p.197-208.
113
CÂMARA, G.; CASANOVA, M.A.; HEMERLY, A.S.; MAGALHÃES, G.C.; MEDEIROS,
C.M.B. Anatomia de Sistemas de Informação Geográfica. Instituto de Computação.
UNICAMP, Campinas: 193 p., 1996.
CASANOVA, M. et al. (Ed.). Bancos de dados geográficos. 2. ed. Curitiba: MundoGEO,
2005.
CHAN, C.-Y;. IOANNIDIS, Y. E. An efficient bitmap encoding scheme for selection queries.
ACM SIGMOD Record, v.28, n.2, p.215-226 June, 1999.
CHAUDHURI, S.; DAYAL, U. An Overview of Data Warehousing and OLAP Technology.
ACM SIGMOD Record, v.26, n.1, p.65-74, March, 1997.
CIFERRI, C. D. A. Distribuição dos dados em ambientes de data warehousing: o sistema
WebD2W e algoritmos voltados à fragmentação horizontal dos Dados. 2002. 263f. Tese
(Doutorado em Ciência da Computação). Centro de Informática, Universidade Federal de
Pernambuco, Recife, PE, Brasil, 2002.
CIFERRI, C.D.A.; CIFERRI, R.R.; FORLANI, D.T.; TRAINA, A.J.M.; SOUZA, F.F.
Horizontal Fragmentation as a Technique to Improve the Performance of Drill-Down and
Roll-Up Queries. In: SYMPOSIUM ON APPLIED COMPUTING, 22., 2007, Seoul.
Proceedings... New York: ACM, 2007. p. 494-499.
CIFERRI, R. R. Análise da influência do fator distribuição espacial dos dados no
desempenho de métodos de acesso multidimensionais. 2002. 246 f. Tese (Doutorado em
Ciência da Computação). Centro de Informática, Universidade Federal de Pernambuco,
Recife, PE, Brasil, 2002.
COSTA, M.; MADEIRA, H. Handling big dimensions in distributed data warehouses using
the DWS technique. INTERNATIONAL WORKSHOP ON DATA WAREHOUSING AND
OLAP, 7., 2004, Washington. Proceedings... New York: ACM, 2004. p. 31-37, 2004.
DATTA, A.; MOON, B.; THOMAS, H. A case for parallelism in data warehousing and
OLAP. In: INTERNATIONAL WORKSHOP ON DATABASE AND EXPERT SYSTEMS
APPLICATIONS, 9., 1998, Vienna. Proceedings... London, Springer-Verlag, 1998. p. 226-
231.
ELMASRI, R. E.; NAVATHE, S. Sistemas de Banco de Dados. Addison-Wesley, 2005.
744p.
FASTBIT an efficient compressed bitmap index technology. Disponível em:
<http://sdm.lbl.gov/fastbit/>. Acesso em: dez. 2007.
FERRARI, R. Viagem ao SIG On Line: Planejamento Estratégico, Viabilização,
Implantação e Gerenciamento de Sistemas de Informação Geográfica. EdUFSCar. São Carlos,
1997. Disponível em: <http://www2.dc.ufscar.br/~ferrari/viagem/inicial.html>. Acesso em:
mar 2008.
114
FIDALGO, R. N. Uma Infra-estrutura para Integração de Modelos, Esquemas e Serviços
Multidimensionais e Geográficos. 2005. 165 f. Tese (Doutorado em Ciência da
Computação). Centro de Informática, Universidade Federal de Pernambuco, Recife, PE,
Brasil, 2005.
FIDALGO, R. N. et al. GeoDWFrame: a framework for guiding the design of geographical
dimensional schemas. In: CONFERENCE ON DATA WAREHOUSING AND
KNOWLEDGE DISCOVERY, 6., 2004, Zaragoza. Lecture Notes in Computer Science. v.
3181/2004. Berlin / Heidelberg: Springer, 2004, p.26-37.
FIDALGO, R. N.; TIMES, V. C.; DE SOUZA, F. F. GOLAPA: Uma Arquitetura Aberta e
Extensível para Integração entre SIG e OLAP. In: SIMPÓSIO BRASILEIRO DE
GEOINFORMÁTICA, 3., 2001, Campos do Jordão. Anais... Disponível em
<http://www.geoinfo.info/geoinfo2001/papers/149robson.pdf>. Acesso em: fev. 2008.
______. Providing Multidimensional and Geographical Integration Based on a GDW and
Metamodels. In: SIMPÓSIO BRASILEIRO DE BANCOS DE DADOS, 19., 2004, Brasília.
Anais... Porto Alegre: SBC, 2004. p.148-162.
FOLK, M. J.; ZOELLICK, B. File Structures. USA: Addison-Wesley. 1992. 590 p.
FURTADO, P. Experimental evidence on partitioning in parallel data warehouses. In:
INTERNATIONAL WORKSHOP ON DATA WAREHOUSING AND OLAP, 7., 2004,
Washington. Proceedings… New York: ACM, 2004. p. 23-30.
GAEDE, V.; GÜNTHER, O. Multidimensional Access Methods. ACM Computing Surveys,
v.30, n.2, p.170-231, June, 1998.
GARCIA-MOLINA, H.; ULLMAN, J. D.; WIDOW, J. Database System Implementation.
Upper Saddle River, New Jersey, USA: Prentice Hall, 2000. 653 p.
GIST Indexing Project. Disponível em: <http://gist.cs.berkeley.edu>. Acesso em: Jul 2008.
GOLFARELLI, M., MAIO, D., RIZZI, S. Applying Vertical Fragmentation Techniques in
Logical Design of Multidimensional Databases. IIn: INTERNATIONAL CONFERENCE ON
DATA WAREHOUSING AND KNOWLEDGE DISCOVERY, 2., 2000, London.
Proceedings… London: Springer-Verlag, 2000. p. 11-23.
GOLFARELLI, M., MANIEZZO, V., RIZZI, S. Materialization of fragmented views in
multidimensional databases. Data & Knowledge Engineering, v.49, n.3, p.325351, 2004.
GOLFARELLI, M.; RIZZI, S.; IURIS, C. Beyond data warehousing: what's next in business
intelligence? ACM INTERNATIONAL WORKSHOP ON DATA WAREHOUSING AND
OLAP, 7., 2004, Washington. Proceedings... New York: ACM, 2004. p.1-6.
GORAWSKI, M.; CHECHELSKI, R. Online Balancing of aR-Tree Indexed Distributed
Spatial Data Warehouse. In: INTERNATIONAL CONFERENCE ON PARALLEL
PROCESSING AND APPLIED MATHEMATICS, 6., 2005, Poznan. Lecture Notes in
Computer Science. v.3911. Berlin / Heidelberg: Springer, 2006. p.59-66.
115
GOYAL, N.; ZAVERI, S. K.; SHARMA, Y. Improved Bitmap Indexing Strategy for Data
Warehouses. In: INTERNATIONAL CONFERENCE ON INFORMATION
TECHNOLOGY, 9., 2006, Bhubaneswar. Proceedings… Washington: IEEE Computer
Society, 2006. p.213-216.
GUTTMAN, A. R-trees: a dynamic index structure for spatial searching. ACM SIGMOD
Record, v.14, n.2, p.47 57, 1984.
HARINARAYAN, V.; RAJARAMAN, A.; ULLMAN, J. D. Implementing data cubes
efficiently. ACM SIGMOD Record, v.25, n.2, p.205-216, 1996.
HELLERSTEIN, J. M.; NAUGHTON, J. F.; PFEFFER, A. Generalized search trees for
database systems. In: INTERNATIONAL CONFERENCE ON VERY LARGE DATA
BASES, 21., 1995, Zurich. Proceedings… San Francisco: Morgan Kauffman, 1995. p. 562
573.
HYDE, J. Layers of a Mondrian System. Disponível em:
<http://mondrian.pentaho.org/documentation/architecture.php>. Acesso em: jan 2008.
INMON, W. H. Building the data warehouse. 3rd. New York: Wiley Computer Publishing,
2002. 412 p.
JOHNSON, T. Performance Measurements of Compressed Bitmap Indices. In:
INTERNATIONAL CONFERENCE ON VERY LARGE DATA BASES, 25., 1999,
Edinburgh. Proceedings… San Francisco: Morgan Kauffman, 1999. p. 278-289.
JOHNSON, T.; SHASHA, D. Some Approaches to Index Design for Cube Forests. IEEE
Data Engineering Bulletin, v.20, n.1, p.27-35, 1997.
JÜRGENS, M.; LENZ, H.-J. Tree Based Indexes vs. Bitmap Indexes - a Performance Study.
In: INTERNATIONAL WORKSHOP ON DESIGN AND MANAGEMENT OF DATA
WAREHOUSES, 1., 1999, Heidelberg. Proceedings… Heildelberg: CEUR, 1999. p.1-10.
KAMEL, I.; FALOUTSOS, C. Parallel R-trees. In: ACM SIGMOD INTERNATIONAL
CONFERENCE ON MANAGEMENT OF DATA, 1992, San Diego. Proceedings… New
York: ACM, 1992. p.195204.
KAMEL, I.; FALOUTSOS, C. Hilbert R-tree: An improved R-tree using fractals. In:
INTERNATIONAL CONFERENCE ON VERY LARGE DATA BASES, 20., 1994,
Santiago de Chile. Proceedings… San Francisco: Morgan Kaufmann, 1994. p.500-509.
KIMBALL, R.; ROSS, M. The Data Warehouse Toolkit. 2nd. New York: Wiley Computer
Publishing, 2002.
KIMBALL, R.; CASERTA, J. The Data Warehouse ETL Toolkit. 1
ST
. Wiley, 2004.
KNUTH, D. Searching. In: KNUTH, D. The art of computer programming. 2nd. Berkeley:
Addison-Wesley Professional, 1998. v. 3, c. 6, p. 560-563.
116
MALINOWSKI, E.; ZIMÁNYI, E. Representing spatiality in a conceptual multidimensional
model. In: ANNUAL ACM INTERNATIONAL WORKSHOP ON GEOGRAPHIC
INFORMATION SYSTEMS, 12., 2004, Washington. Proceedings… New York: ACM,
2004. p.12-22.
MALINOWSKI, E.; ZIMÁNYI, E. Spatial Hierarchies and Topological Relationships in the
Spatial MultiDimER Model. In: BRITISH NATIONAL CONFERENCE ON DATABASES,
2005. Lecture Notes in Computer Science. v.3567. Berlin/Heidelberg: Springer, 2005. p.
17-28.
MALINOWSKI, E.; ZIMÁNYI, E. Advanced Data Warehouse Design: From Conventional
to Spatial and Temporal Applications. Springer, 1
st
edition, 2008.
MAPINFO Professional User Guide. New York, 2005. Disponível em:
<http://reference.mapinfo.com/software/mapinfo_pro/english/8.0/MI_UG.pdf >. Acesso em:
out 2007.
MONDRIAN Project. Disponível em: <http://mondrian.pentaho.org>. Acesso em: jan. 2008.
OPENGIS standards and specifications. Disponível em:
<http://www.opengeospatial.org/standards>. Acesso em: out. 2007.
OLAP COUNCIL: OLAP AND OLAP Server Definitions. Disponível em:
<http://www.olapcouncil.org/research/glossaryly.htm>. Acesso em: jan 2008.
O’NEIL, E.; O’NEIL, P.; WU, K. Bitmap Index Design Choices and Their Performance
Implications. In: INTERNATIONAL DATABASE ENGINEERING AND APPLICATIONS
SYMPOSIUM, 11.2007, Banff. Proceedings… Washington: IEEE Computer Society, 2007.
p. 72-84.
O’NEIL, P.; O’NEIL, E.; CHEN, X. The Star Schema Benchmark. Disponível em:
<http://www.cs.umb.edu/~poneil/ starschemab.pdf>. Acesso em: jan. 2007.
O'NEIL, P.; GRAEFE, G. Multi-table joins through bitmapped join indices. ACM SIGMOD
Record, v.24, n.3, p.8-11, 1995.
O'NEIL, P.; QUASS, D. Improved query performance with variant indexes. ACM SIGMOD
INTERNATIONAL CONFERENCE ON MANAGEMENT OF DATA, 1997, Tucson.
Proceedings… New York: ACM, 1997. p.38-49.
PAPADIAS, D.; KALNIS, P.; ZHANG, J.; TAO, Y. Efficient OLAP Operations in Spatial
Data Warehouses. INTERNATIONAL SYMPOSIUM ON SPATIAL AND TEMPORAL
DATABASES, 7., 2001, Redondo Beach. Lecture Notes in Computer Science. v.2121.
London: Springer-Verlag, 2001. p.443-459.
PAPADIAS, D.; TAO, Y; KALNIS, P.; ZHANG, J. Indexing Spatio-Temporal Data
Warehouses. IEEE INTERNATIONAL CONFERENCE ON DATA ENGINEERING, 18.,
2002, San Jose. Proceedings… Washington, USA: IEEE Computer Society, 2002. p.166-175.
117
POESS, M.; FLOYD, C. New TPC Benchmarks for Decision Support and Web Commerce.
ACM SIGMOD Record, v.29, n.4, p.64-71, 2000.
POURABBAS, E.; RAFANELLI, M. Characterization of hierarchies and some operators in
OLAP environment. In: ACM INTERNATIONAL WORKSHOP ON DATA
WAREHOUSING AND OLAP, 2., 1999, Kansas City. Proceedings… New York: ACM,
1999. p. 54-59.
RAMAKRISHNAN, R.; GEHRKE, J. Database Management Systems. McGraw-Hill, 2002.
1104 p.
RAO, F.; ZHANG, L.; YU, X.; LI, Y. Spatial hierarchy and OLAP-favored search in spatial
data warehouse. In: INTERNATIONAL WORKSHOP ON DATA WAREHOUSING AND
OLAP, 6., 2003, New Orleans. Proceedings… New York:ACM, 2003. p. 48-55.
RIGAUX, P.; SCHOLL, M.; VOISARD, A.; Spatial Databases with Application to GIS.
San Francisco, CA, USA: Morgan Kauffman, 2002.
RIZZI, S. Conceptual Modeling Solutions for the Data Warehouse. In: W. R. e C. Koncilia
(Ed.). Data Warehouses and OLAP: Concepts, Architectures and Solutions. Hershey,
Pennsylvania, USA: IRM Press, 2007. Chapter 1, p.1-26.
RIZZI, S., ABELLÓ, A. Research in data warehouse modeling and design: dead or alive? In:
ACM INTERNATIONAL WORKSHOP ON DATA WAREHOUSING AND OLAP, 9.,
2006, Arlington. Proceedings… New York: ACM, 2006. p.3-10.
SAMPAIO, M. C.; SOUSA, A. G.; BAPTISTA, C. S. Towards a Logical Multidimensional
Model for Spatial Data Warehousing and OLAP. In: INTERNATIONAL WORKSHOP ON
DATA WAREHOUSING AND OLAP, 9., 2006, Arlington. Proceedings… New York:
ACM, 2006. p.83-90.
SARAWAGI, S. Indexing OLAP Data. Bulletin of the Technical Committee on Data
Engineering, v.20, n.1, p.36-43, 1997.
SAS OLAP Server. Disponível em: <http://www.sas.com/resources/factsheet/sas-olap-server-
factsheet.pdf>. Acesso em: jan 2008.
SELLIS, T. K.; ROUSSOPOULOS, N.; FALOUTSOS, C. The R+-Tree: A Dynamic Index
for Multi-Dimensional Objects. In: INTERNATIONAL CONFERENCE ON VERY LARGE
DATA BASES, 13.,1987, Brighton. Proceedings... San Francisco: Morgan Kaufmann, 1987.
p. 507-518
SHAPEFILE technical description. New York: ESRI White Paper, 1998. Disponível em:
<http://www.esri.com/library/whitepapers/pdfs/shapefile.pdf>. Acesso em: out. 2007.
SILVA, J.; TIMES, V. C.; SALGADO, A. C.; SOUZA, C.; FIDALGO, R. N.; OLIVEIRA,
A.G. A Set of Aggregation Functions for Spatial Measures. In: International Workshop on
Data Warehousing and OLAP, 11., 2008, Napa Valley. Proceedings… New York: ACM,
2008. p. 25-32.
118
SIQUEIRA, T. L. L.; CIFERRI, C. D. A.; TIMES, V.C.; OLIVEIRA, A. G.; CIFERRI, R. R.
The Impact of Spatial Data Redundancy on SOLAP Query Performance. Journal of the
Brazilian Computer Society. v.15, n.2, p.19-34, 2009b. ISSN 0104-6500.
SIQUEIRA, T. L. L.; CIFERRI, R.R.; TIMES, V.C.; CIFERRI, C.D.A.. A Spatial Bitmap-
Based Index for Geographical Data Warehouses. ACM SYMPOSIUM ON APPLIED
COMPUTING, 24., 2009a, Honolulu. Proceedings… v. 3. New York: ACM, 2009a. p. 1336-
1342.
SIQUEIRA, T. L. L.; CIFERRI, R.R.; TIMES, V.C.; CIFERRI, C.D.A. Investigating the
Effects of Spatial Data Redundancy in Query Performance over Geographical Data
Warehouses. BRAZILIAN SYMPOSIUM ON GEOINFORMATICS, 10., 2008, Rio de
Janeiro. Proceedings… Disponível em:
<http://www.geoinfo.info/geoinfo2008/papers/p27.pdf>. Acesso em: jan. 2009.
STEFANOVIC, N. Design and Implementation of On-Line Analytical Processing
(OLAP) of Spatial Data. 108 f. Dissertation (Master of Science). Department of Computing
Science, Simon Fraser University, 1997.
STEFANOVIC, N.; HAN, J.; KOPERSKI, K. Object-Based Selective Materialization for
Efficient Implementation of Spatial Data Cubes. IEEE Transactions on Knowledge and
Data Engineering, v.12, n.6, p.938-958, 2000.
STOCKINGER, K.; WU, K. Bitmap Indices for Data Warehouses. In: W. R. e C. Koncilia
(Ed.). Data Warehouses and OLAP: Concepts, Architectures and Solutions. Hershey,
Pennsylvania, USA: IRM Press, 2007. Chapter 6, p.157-178.
U.S. CENSUS BUREAU. TIGER: Topologically Integrated Geographic Encoding and
Referencing system. Disponível em: <http://www.census.gov/geo/www/tiger>. Acesso em:
Dez 2007.
WHITEHORN, M.; ZARE, R.; PASUMANSKY, M. Fast Track to MDX. Springer, 2005.
WU, M.-C.; BUCHMANN, A. P. Research Issues in Data Warehousing. In:
DATENBANKSYSTEME IN BURO, TECHNIK UND WISSENSCHAFT, 1997, Freiburg.
Proceedings… Freiburg: Springer, 1997. p.61-82.
WU, M.-C.; BUCHMANN, A. P. Encoded Bitmap Indexing for Data Warehouses. In:
INTERNATIONAL CONFERENCE ON DATA ENGINEERING, 14., 1998, Orlando.
Proceedings… Washington: IEEE Computer Society, 1998. p.220-230.
WU, K.; OTOO, E. J.; ARIE, S. Optimizing bitmap indices with efficient compression. ACM
Transactions on Database Systems, v.31, n.1, p.1-38, 2006.
WU, K.; STOCKINGER, K.; SHOSHANI, A. Breaking the Curse of Cardinality on Bitmap
Indexes. INTERNATIONAL CONFERENCE ON SCIENTIFIC AND STATISTICAL
DATABASE MANAGEMENT, 20., 2008, Hong Kong. Proceedings... Berlin/Heidelberg:
Springer-Verlag, 2008. p.348-365.
Livros Grátis
( http://www.livrosgratis.com.br )
Milhares de Livros para Download:
Baixar livros de Administração
Baixar livros de Agronomia
Baixar livros de Arquitetura
Baixar livros de Artes
Baixar livros de Astronomia
Baixar livros de Biologia Geral
Baixar livros de Ciência da Computação
Baixar livros de Ciência da Informação
Baixar livros de Ciência Política
Baixar livros de Ciências da Saúde
Baixar livros de Comunicação
Baixar livros do Conselho Nacional de Educação - CNE
Baixar livros de Defesa civil
Baixar livros de Direito
Baixar livros de Direitos humanos
Baixar livros de Economia
Baixar livros de Economia Doméstica
Baixar livros de Educação
Baixar livros de Educação - Trânsito
Baixar livros de Educação Física
Baixar livros de Engenharia Aeroespacial
Baixar livros de Farmácia
Baixar livros de Filosofia
Baixar livros de Física
Baixar livros de Geociências
Baixar livros de Geografia
Baixar livros de História
Baixar livros de Línguas
Baixar livros de Literatura
Baixar livros de Literatura de Cordel
Baixar livros de Literatura Infantil
Baixar livros de Matemática
Baixar livros de Medicina
Baixar livros de Medicina Veterinária
Baixar livros de Meio Ambiente
Baixar livros de Meteorologia
Baixar Monografias e TCC
Baixar livros Multidisciplinar
Baixar livros de Música
Baixar livros de Psicologia
Baixar livros de Química
Baixar livros de Saúde Coletiva
Baixar livros de Serviço Social
Baixar livros de Sociologia
Baixar livros de Teologia
Baixar livros de Trabalho
Baixar livros de Turismo